GM Service Manual Online
For 1990-2009 cars only

Removal Procedure

  1. Turn OFF the ignition.
  2. Remove the front floor center console. Refer to Front Floor Console Replacement in Instrument Panel, Gages, and Console.

  3. Object Number: 899225  Size: SH
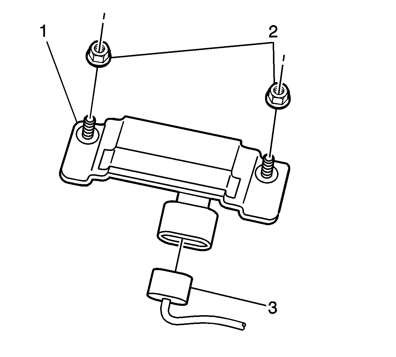
  4. Remove the 2 yaw rate sensor/lateral accelerometer mounting nuts (2).

  5. Object Number: 899221  Size: SH
  6. Disconnect the yaw rate sensor/lateral accelerometer electrical connector (2) from the yaw rate sensor/lateral accelerometer.
  7. Remove the yaw rate sensor/lateral accelerometer (1).

Installation Procedure


    Object Number: 899225  Size: SH
  1. Install the yaw rate sensor/lateral accelerometer (1) .
  2. Notice: Refer to Fastener Notice in the Preface section.

  3. Install the 2 yaw rate sensor/lateral accelerometer nuts (2).
  4. Tighten
    Tighten the yaw rate sensor/lateral accelerometer mounting nuts to 25 N·m (18 lb ft).


    Object Number: 899221  Size: SH
  5. Connect the yaw rate sensor/lateral accelerometer electrical connector (2) to the yaw rate sensor/lateral accelerometer (1).
  6. Install the front floor center console. Refer to Front Floor Console Replacement in Instrument Panel, Gages, and Console.
  7. Perform the ABS Diagnostic System Check. Refer to Diagnostic System Check - Vehicle in Vehicle DTC Information.