GM Service Manual Online
For 1990-2009 cars only

DTC P1887 3.8L


Object Number: 1529929  Size: MF
Master Electrical Component List
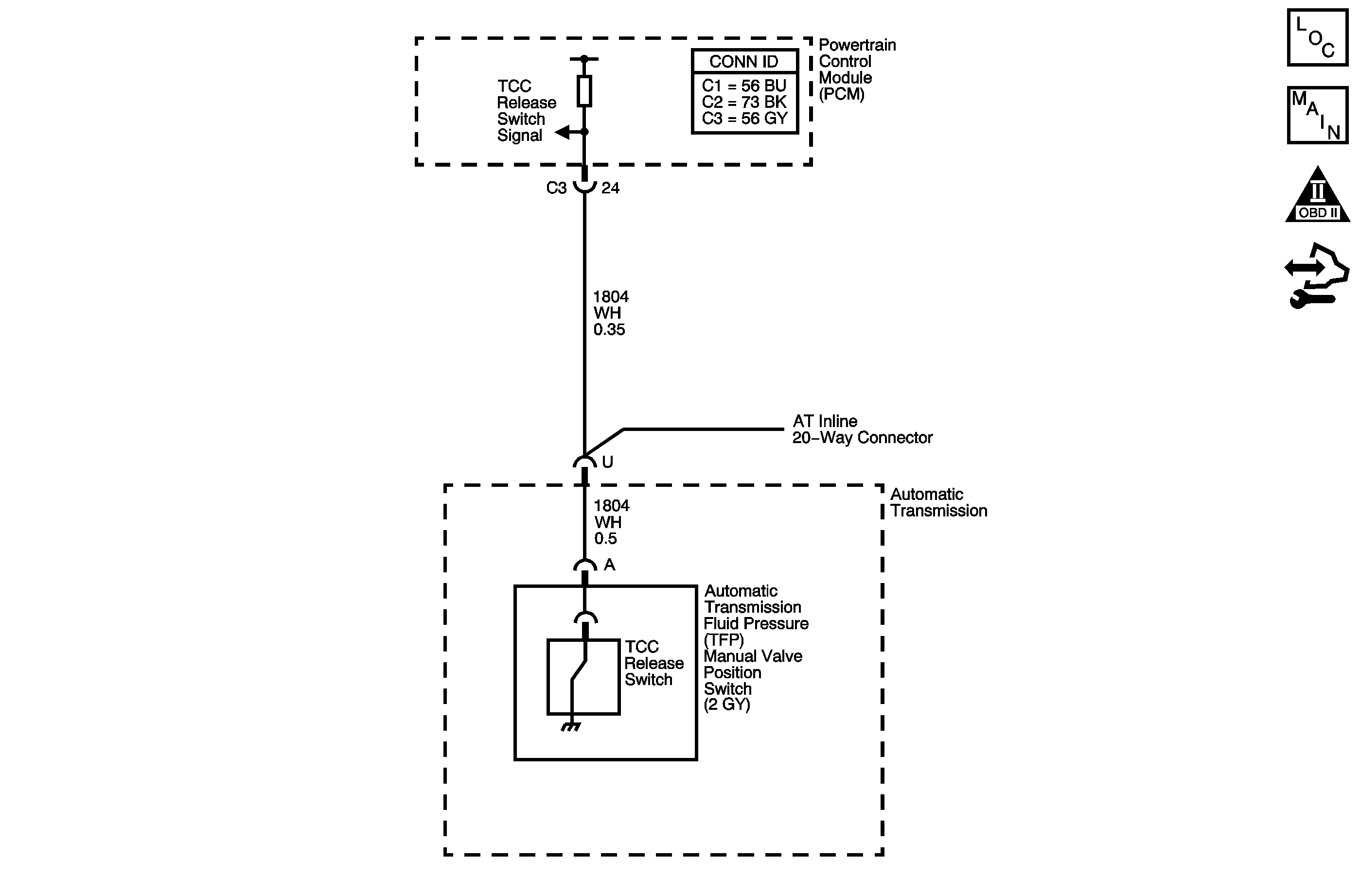
Automatic Transmission Controls Schematics
OBD II Symbol Description Notice
Control Module References

Circuit Description

The torque converter clutch (TCC) release switch is part of the transmission fluid pressure (TFP) manual valve position switch. The TFP manual valve position switch is mounted to the transmission valve body. The TCC release switch is normally-closed.

The switch signals the powertrain control module (PCM) that the TCC is released. This is accomplished by torque converter release fluid pressure acting on the switch contact which opens the circuit. When the circuit voltage is high, the PCM recognizes that the TCC is no longer engaged.

If the PCM determines that the TCC release switch is open indicating that the TCC is not applied and the TCC slip speed indicates that the TCC is applied, then DTC P1887 sets. DTC P1887 is a type B DTC.

DTC Descriptor

This diagnostic procedure supports the following DTC:

DTC P1887 Torque Converter Clutch (TCC) Release Switch Circuit

Conditions for Running the DTC

    • No ISS DTC P0716 or P0717.
    • No TCC PWM solenoid valve DTC P2761.
    • The engine speed is greater than 500 RPM for 5 seconds and not in fuel shut off.
    • The TCC is commanded ON.
    • The TCC slip speed is -20 to +60 RPM.
    • The engine torque is 41-407 N·m (30-300 lb ft).

Conditions for Setting the DTC

DTC P1887 sets when the following condition occurs twice in a single trip:

The TCC release pressure switch is open indicating release pressure present for 6 seconds continuous.

Action Taken When the DTC Sets

    • The PCM illuminates the malfunction indicator lamp (MIL) during the second consecutive trip in which the Conditions for Setting the DTC are met.
    • The PCM forces the TCC OFF.
    • The PCM inhibits TCC engagement.
    • The PCM inhibits 4th gear if the transmission is in Hot Mode.
    • The PCM freezes transmission adaptive functions.
    • The PCM records the operating conditions when the Conditions for Setting the DTC are met. The PCM stores this information as Freeze Frame and Failure Records.
    • The PCM stores DTC P1887 in PCM history during the second consecutive trip in which the Conditions for Setting the DTC are met.

Conditions for Clearing the MIL/DTC

    • The PCM turns OFF the MIL during the third consecutive trip in which the diagnostic test runs and passes.
    • A scan tool can clear the MIL/DTC.
    • The PCM clears the DTC from PCM history if the vehicle completes 40 warm-up cycles without an emission-related diagnostic fault occurring.
    • The PCM cancels the DTC default actions when the ignition switch is OFF long enough in order to power down the PCM.

Diagnostic Aids

    • Do not replace the torque converter for this condition, refer to the Torque Converter Replacement Guide for other concerns.
    • Ensure the wiring harness is not stretched too tightly or other components are pressing on the A/T inline 20-way connector body. Also inspect for proper clearance to any other components and wiring. Refer to Intermittent Conditions in Engine Controls - 3.8L.

Test Description

The numbers below refer to the step numbers on the diagnostic table.

  1. This step tests the PCMs ability to recognize a grounded circuit.

  2. A short to ground in this circuit would set DTC P0742.

  3. A short to ground in this circuit would set DTC P0742.

Step

Action

Value(s)

Yes

No

1

Did you perform the Diagnostic System Check - Vehicle?

--

Go to Step 2

Go to Diagnostic System Check - Vehicle in Vehicle DTC Information

2

  1. Install a scan tool.
  2. Turn ON the ignition with the engine OFF.
  3. Important: Before clearing the DTCs, use the scan tool in order to record the Freeze Frame and Failure Records for reference. Using the Clear DTC Information function will erase the stored Freeze Frame and Failure Records from the PCM.

  4. Record the Freeze Frame and Failure Records.
  5. Clear the DTC.
  6. With the scan tool, observe the TCC Release Pressure parameter.

Does the scan tool indicate Yes for TCC Release Pressure?

--

Go to Step 3

Go to Step 6

3

  1. Turn OFF the ignition.
  2. Disconnect the AT inline 20-way connector. Additional DTCs may set.
  3. Connect the J 44152 Jumper Harness on the engine side of the 20-way connector.
  4. Using the J 35616 GM Terminal Test Kit, connect a fused jumper wire between the TCC release switch signal circuit and a good ground.
  5. Refer to Automatic Transmission Inline 20-Way Connector End View .

  6. Turn ON the ignition with the engine OFF.
  7. Observe the TCC Release Pressure parameter.

Does the scan tool indicate Yes for TCC Release Pressure?

--

Go to Step 4

Go to Step 5

4

Test the signal circuit of the TCC release switch for an open between the PCM and the AT inline 20-way connector.

Refer to Testing for Continuity and Wiring Repairs in Wiring Systems.

Did you find and correct a condition?

--

Go to Step 11

Go to Step 10

5

Test the signal circuit of the TCC release switch for an open between the AT inline 20-way connector and the TFP manual valve position switch.

Refer to:

    •  Testing for Continuity in Wiring Systems

Did you find a condition?

--

Go to Step 8

Go to Step 9

6

  1. Using the scan tool, observe TCC Slip Speed and TCC Release Pressure.
  2. Drive the vehicle with the range selector in D4 until the TCC is applied and slip speed is below 50 RPM.

Does the scan tool indicate Yes for TCC Release Pressure?

--

Go to Step 7

Go to Intermittent Conditions in Engine Controls - 3.8L

7

Inspect for the following conditions of mechanical components and hydraulic circuits that could cause TCC release pressure at the TCC release switch when the TCC is applied:

    • The turbine shaft O-ring seal leaking
    • The turbine shaft oil seal rings missing or damaged
        Refer to Torque Converter Assembly Removal in Transmission Unit Repair Manual.
    • The TCC control valve damaged
        Refer to Control Valve Body Disassemble in Transmission Unit Repair Manual.
    • The #1 checkball damaged
    • The spacer plate release exhaust blocked with debris
    • The case cover or spacer plate gaskets improperly installed
        Refer to Control Valve Body and Spacer Plate Assemble in Transmission Unit Repair Manual.

Did you complete the repair?

--

Go to Step 11

--

8

Replace the AT wiring harness assembly.

Refer to Wiring Harness Replacement .

Did you complete the replacement?

--

Go to Step 11

--

9

Replace the TFP manual valve position switch.

Refer to Transmission Fluid Pressure Manual Valve Position Switch Replacement .

Did you complete the replacement?

--

Go to Step 11

--

10

Replace the PCM.

Refer to Control Module References in Computer/Integrating Systems for replacement, set-up and programming.

Did you complete the replacement?

--

Go to Step 11

--

11

Perform the following procedure in order to verify the repair:

  1. Select DTC.
  2. Select Clear DTC Information.
  3. Operate the vehicle under the following conditions:
  4. • Drive the vehicle in D4 until the transmission shifts into 4th gear and the TCC is commanded ON.
    • Observe TCC release pressure on the scan tool.
    • Ensure that the TCC release pressure status is NO for at least 3 seconds.
  5. Select Specific DTC.
  6. Enter DTC P1887.

Has the test run and passed?

--

Go to Step 12

Go to Step 2

12

With a scan tool, observe the stored information, capture info and DTC info.

Does the scan tool display any DTCs that you have not diagnosed?

--

Go to Diagnostic Trouble Code (DTC) List - Vehicle in Vehicle DTC Information

System OK