GM Service Manual Online
For 1990-2009 cars only
Figure 1:

Driver Seat Adjuster Schematic


Object Number: 593842  Size: FS
Power Seat Systems Components
Power Seats Circuit Description
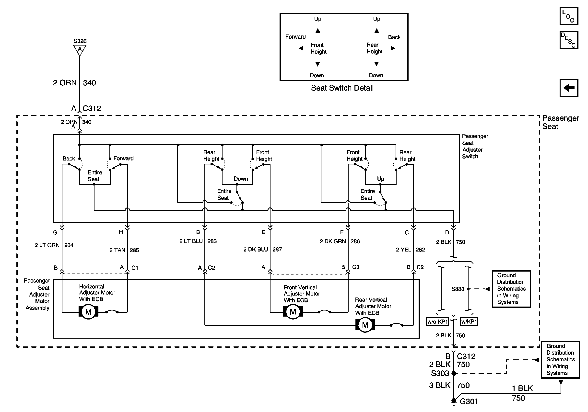
Passenger Seat Adjuster Schematic
Figure 2:

Passenger Seat Adjuster Schematic


Object Number: 593845  Size: FS
Power Seat Systems Components
Power Seats Circuit Description
Driver Seat Heater Schematic
Driver Seat Adjuster Schematic
Figure 3:

Driver Seat Heater Schematic


Object Number: 593840  Size: FS
Power Seat Systems Components
Heated Seats Circuit Description
Passenger Seat heater Schematic
Passenger Seat Adjuster Schematic
Figure 4:

Passenger Seat heater Schematic


Object Number: 593841  Size: FS
Power Seat Systems Components
Power Seats Circuit Description
Driver Seat Lumbar Schematic
Driver Seat Heater Schematic
Figure 5:

Driver Seat Lumbar Schematic


Object Number: 593839  Size: FS
Power Seat Systems Components
Power Seats Circuit Description
Passenger Seat heater Schematic