GM Service Manual Online
For 1990-2009 cars only
Makes
🢒
Buick
🢒
2000
🢒
GL7 (Export)
🢒
Body and Accessories
🢒
Instrument Panel, Gauges, and Console
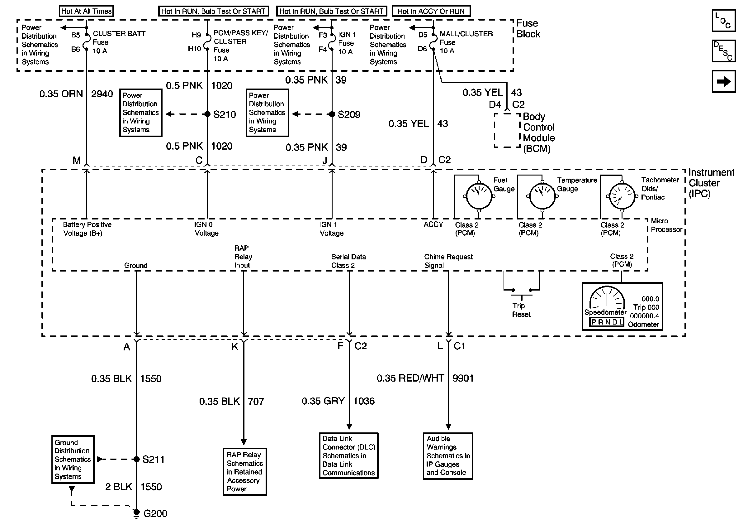
🢒 Instrument Cluster: Analog Schematics
Figure
1:
Power, Ground, Class2 Data Line, Gauges
Figure
2:
Hardwire Indicators
Figure
3:
Class 2 Telltales