GM Service Manual Online
For 1990-2009 cars only

SMU - SECTION 0B - CHASSIS LUBRICATION ADDED TO SECTION

SUBJECT: SERVICE MANUAL UPDATE - SECTION 0B - CHASSIS LUBRICATION ADDED TO SECTION 0B

MODELS: 1996 BUICK LESABRE, PARK AVENUE 1996 OLDSMOBILE EIGHTY EIGHT, LSS, NINETY EIGHT 1996 PONTIAC BONNEVILLE

THIS BULLETIN IS BEING ISSUED TO ADD "CHASSIS LUBRICATION" TO SECTION 0B - MAINTENANCE AND LUBRICATION, IN THE SERVICE MANUAL.

CHASSIS LUBRICATION ===================

LUBRICATE TRANSAXLE SHIFT LINKAGE. LUBRICATE PARKING BRAKE CABLE GUIDES, UNDERBODY CONTACT POINTS AND LINKAGE.

USE CHASSIS GREASE MEETING THE REQUIREMENTS OF NLGI GRADE 2, CATEGORY LB OR GC-LB (GM P/N 1052497) OR EQUIVALENT.

NOTICE: DO NOT LUBRICATE THE PARKING BRAKE CABLES. LUBRICATION DESTROYS THE PLASTIC COATING ON THE CABLE.

LUBRICATING JOINTS THAT HAVE GREASE FITTINGS -

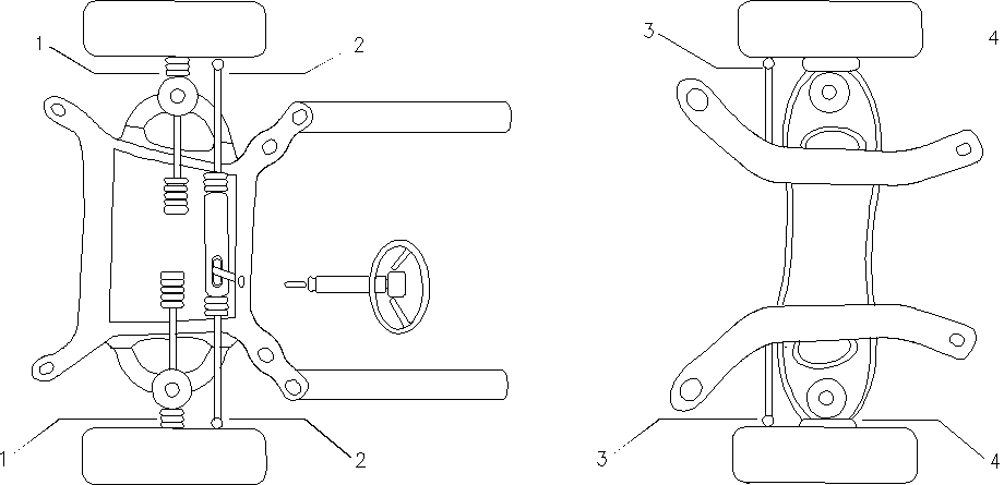
FIGURE 1

IMPORTANT:

WIPE OFF ALL DIRT FROM THE GREASE FITTING BEFORE LUBRICATING THE JOINT. BALL JOINTS SHOULD NOT BE LUBRICATED UNLESS THEIR TEMPERATURE IS 12 DEGREES CELSIUS (10 DEGREES FAHRENHEIT) OR HIGHER. DURING COLD WEATHER, THE BALL JOINT SHOULD BE ALLOWED TO WARM UP AS NECESSARY BEFORE BEING LUBRICATED. USE A LOW-PRESSURE GREASE GUN ON ALL JOINTS TO PREVENT SEAL DAMAGE.

APPLY GREASE SLOWLY WHILE WATCHING GREASE SEAL. APPLY GREASE UNTIL GREASE IS SEEN BLEEDING FROM THE SEAL. IF THE SEAL EXPANDS BUT NO GREASE IS SEEN, DO NOT APPLY ANY MORE GREASE AND ALLOW TIME FOR THE GREASE TO BLEED FROM THE SEAL.

FIGURES: 01 ATTACHMENTS: 00

FIGURE 1 1. FRONT BALL JOINT 2. FRONT TIE ROD END 3. ADJUSTMENT LINK 4. REAR BALL JOINT


Object Number: 108434  Size: MF

GENERAL MOTORS BULLETINS ARE INTENDED FOR USE BY PROFESSIONAL TECHNICIANS, NOT A "DO-IT-YOURSELFER". THEY ARE WRITTEN TO INFORM THOSE TECHNICIANS OF CONDITIONS THAT MAY OCCUR ON SOME VEHICLES, OR TO PROVIDE INFORMATION THAT COULD ASSIST IN THE PROPER SERVICE OF A VEHICLE. PROPERLY TRAINED TECHNICIANS HAVE THE EQUIPMENT, TOOLS, SAFETY INSTRUCTIONS AND KNOW-HOW TO DO A JOB PROPERLY AND SAFELY. IF A CONDITION IS DESCRIBED, DO NOT ASSUME THAT THE BULLETIN APPLIES TO YOUR VEHICLE, OR THAT YOUR VEHICLE WILL HAVE THAT CONDITION. SEE A GENERAL MOTORS DEALER SERVICING YOUR BRAND OF GENERAL MOTORS VEHICLE FOR INFORMATION ON WHETHER YOUR VEHICLE MAY BENEFIT FROM THE INFORMATION.

COPYRIGHT 1996 GENERAL MOTORS CORPORATION. ALL RIGHTS RESERVED.