GM Service Manual Online
For 1990-2009 cars only
Figure 1:

VIN K Front View


Object Number: 193776  Size: LF
(1)MAF Sensor
(2)IAC Valve
(3)TP Sensor
(4)Fuel Pressure Test Connector
(5)ECT Sensor
(6)Fuel Injector
(7)EVAP Canister Purge Valve
(8)Oil Level Switch/Sensor
(9)18X Crankshaft Sensor
(10)Camshaft Sensor (Behind Water Pump Pulley)
(11)Ignition Control Module and Coils
(12)PCV Valve (Under MAP Sensor)
(13)MAP Sensor
(14)Fuel Injector Harness Connector
(15)Fuel Pressure Regulator
Figure 2:

VIN K Rear View


Object Number: 195601  Size: LF
(1)HO2S1
(2)Oil Pressure Switch/Sensor
(3)Knock Sensor (Behind Exhaust Manifold)
(4)EGR Valve
Figure 3:

VIN K Fuel Pressure Regulator, IAC Valve, MAF Sensor, TP Sensor, IAT Sensor


Object Number: 185427  Size: MF
(1)Fuel Pressure Regulator
(2)IAC Valve
(3)MAF Sensor
(4)TP Sensor
(5)IAT Sensor
Figure 4:

VIN K Fuel Pressure Regulator, Fuel Pressure Connector, Fuel Injector Connector, MAP Sensor


Object Number: 185405  Size: MF
(1)Fuel Pressure Regulator
(2)Fuel Pressure Connector
(3)Fuel Injector Connector
(4)MAP Sensor
Figure 5:

VIN K TP Sensor, ECT Sensor


Object Number: 215942  Size: MF
(1)TP Sensor
(2)ECT Sensor
Figure 6:

VIN K EVAP Canister Purge Valve


Object Number: 215925  Size: MF
(1)EVAP Canister Purge Valve
Figure 7:

VIN K Oil Level Sensor, 18X Crankshaft Sensor, Ignition Control Module and Coils, MAP Sensor


Object Number: 215941  Size: MF
(1)Oil Level Switch/Sensor
(2)18X Crankshaft Sensor
(3)Ignition Control Module and Coils
(4)MAP Sensor
Figure 8:

VIN K Cam Sensor


Object Number: 189375  Size: MF
(1)Cam Sensor
Figure 9:

VIN K MAP Sensor, PCV Valve Cover, PCV Valve, O-Ring


Object Number: 12315  Size: MH
(1)MAP Sensor
(2)PCV Valve Cover
(3)PCV Valve
(4)O-Ring
Figure 10:

VIN K HO2S1, EGR Valve


Object Number: 215940  Size: MF
(1)HO2S1
(2)EGR Valve
Figure 11:

VIN K Cam Sensor, Oil Pressure Sensor, VSS Sensor


Object Number: 189628  Size: MF
(1)Cam Sensor
(2)Oil Pressure Switch/Sensor
(3)VSS Sensor
Figure 12:

Knock Sensor 1


Object Number: 394455  Size: MF
(1)Knock Sensor 1
(2)Knock Sensor 1 Electrical Connector
Figure 13:

Knock Sensor 2


Object Number: 190969  Size: MF
(1)Knock Sensor 2
Figure 14:

VIN 1 Front View


Object Number: 215555  Size: LF
(1)MAF Sensor
(2)IAC Valve
(3)TP Sensor
(4)ECT Sensor
(5)Boost Control Solenoid
(6)Fuel Injector
(7)Fuel Pressure Test Connector
(8)Fuel Injector Harness Connector
(9)Oil Level Switch/Sensor
(10)18X Crankshaft Sensor
(11)Camshaft Sensor (Behind Water Pump Pulley)
(12)Ignition Control Module and Coils
(13)Fuel Pressure Regulator
(14)Boost Control Actuator
Figure 15:

Engine, Front Side


Object Number: 342548  Size: MF
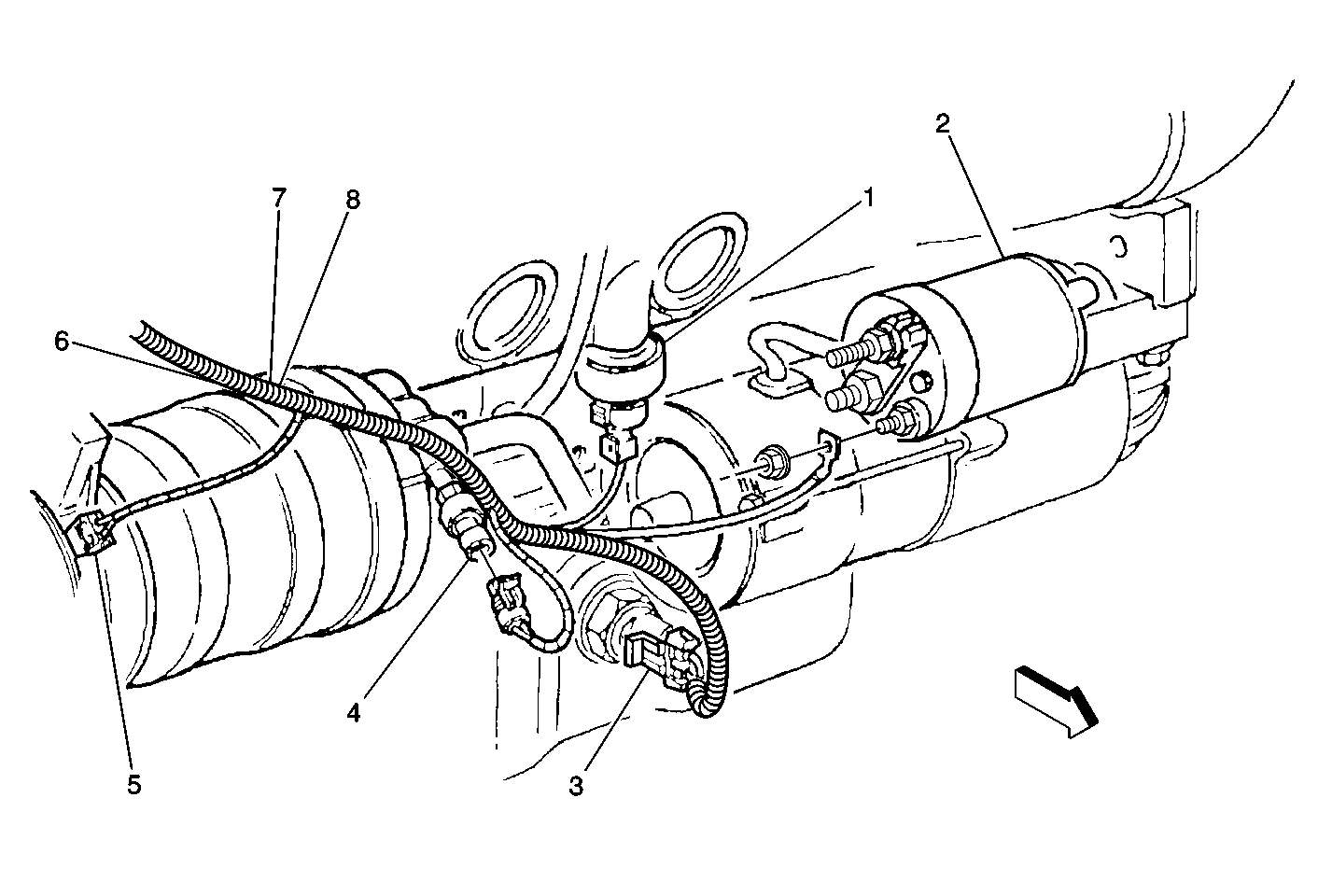
(1)Knock Sensor Bank 1
(2)Starter Solenoid
(3)Engine Oil Level Switch
(4)A/C Pressure Sensor
(5)A/C Clutch
(6)A/C Clutch Diode
(7)S107
(8)S106
Figure 16:

VIN 1 Rear View


Object Number: 215563  Size: LF
(1)PCV Valve
(2)MAP Sensor
(3)HO2S1
(4)Oil Pressure Switch/Sensor
Figure 17:

VIN 1 MAF Sensor, By-Pass Actuator, TP Sensor, Boost Control Solenoid, IAC Valve


Object Number: 189351  Size: MF
(1)MAF Sensor
(2)By-Pass Actuator
(3)TP Sensor
(4)Boost Control Solenoid
(5)IAC Valve
Figure 18:

VIN 1 Boost Solenoid, IC Coils, IC Module, Bypass Valve Actuator


Object Number: 185424  Size: LF
(1)Boost Control Solenoid
(2)IC Coils
(3)IC Module
(4)Fuel Injector
Figure 19:

VIN 1 IC Module, Oil Level Sensor, CRK Sensor, Ignition Coils


Object Number: 189424  Size: MF
(1)IC Module
(2)Oil Level Switch/Sensor
(3)CRK Sensor
(4)Ignition Coil
Figure 20:

VIN 1 EVAP Canister Purge Valve, MAP Sensor, EGR Valve, PCV Valve


Object Number: 394441  Size: MF
(1)EVAP Canister Purge Valve
(2)MAP Sensor
(3)EGR Valve
(4)PCV Valve (Hidden)
Figure 21:

VIN 1 Fuel Injector Connector, Heated Oxygen Sensor 1 (HO2S1), EGR Valve


Object Number: 185434  Size: MF
(1)Fuel Injector Connectors
(2)Heated Oxygen Sensor 1 (HO2S1)
(3)EGR Valve
Figure 22:

Upper Side of Engine


Object Number: 460305  Size: LF
(1)Exhaust Gas Recirculation (EGR) Valve
(2)Fuel Injector #6
(3)Fuel Injector #4
(4)Fuel Injector #2
(5)To Generator
(6)To Air Solenoid
(7)Heated Oxygen Sensor (H02S) Bank 1 Sensor 1
(8)S103
(9)S104
(10)To PCM
(11)C100
Figure 23:

Engine Compartment, in the Left Front Corner


Object Number: 460288  Size: LF
(1)Powertrain Control Module (PCM) C1
(2)Powertrain Control Module (PCM) C2
(3)Air Cleaner Assembly
(4)Powertrain Control Module (PCM)
(5)S105
Figure 24:

Rear of the Engine Compartment


Object Number: 342534  Size: MF
(1)Battery Positive Cable Connection
(2)LH Underhood Fuse Block
(3)Low Speed Engine Cooling Fan Relay
(4)High Speed Engine Cooling Fan Relay
(5)High Blower Relay
(6)Blower Motor Relay
(7)Horn Relay
(8)A/C Clutch Relay
(9)RH Underhood Fuse Block
Figure 25:

Passenger Compartment, Below the Center of the Instrument Panel


Object Number: 342657  Size: MF
(1)Lamp Monitor Control Module
(2)S259
(3)S258
(4)S236
(5)S232
(6)S235
(7)To C200
(8)Stoplamp/BTSI Switch
(9)ABS/TCC Switch
(10)S231
(11)S228
(12)S230
(13)S296
(2)