GM Service Manual Online
For 1990-2009 cars only
Makes
🢒
Buick
🢒
1999
🢒
LeSabre
🢒 Cell 10: Battery and Underhood Fuse Blocks
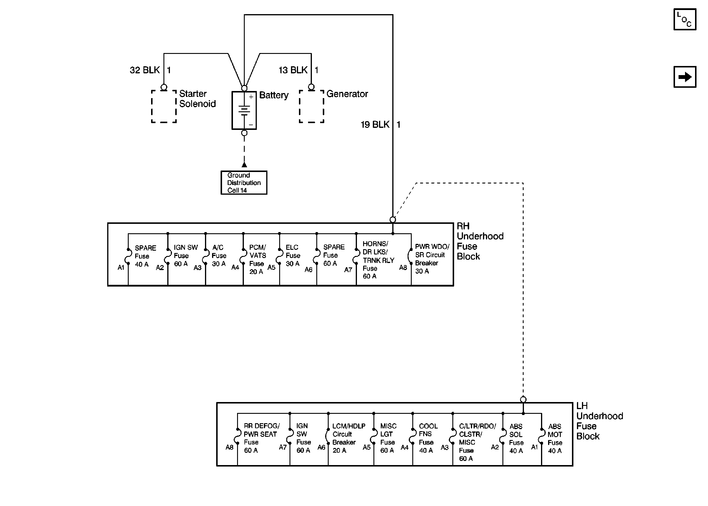
Cell 10: Battery and Underhood Fuse Blocks
Cell 10: Battery and Underhood Fuse Blocks
Power and Grounding Components
Cell 10: IGN SW Fuse (1 of 2)
Cell 14: G102 and G105 (1 of 4)