GM Service Manual Online
For 1990-2009 cars only

Object Number: 375170  Size: MF
SIR Components
Cell 47
SIR Handling Caution
Handling ESD Sensitive Parts Notice

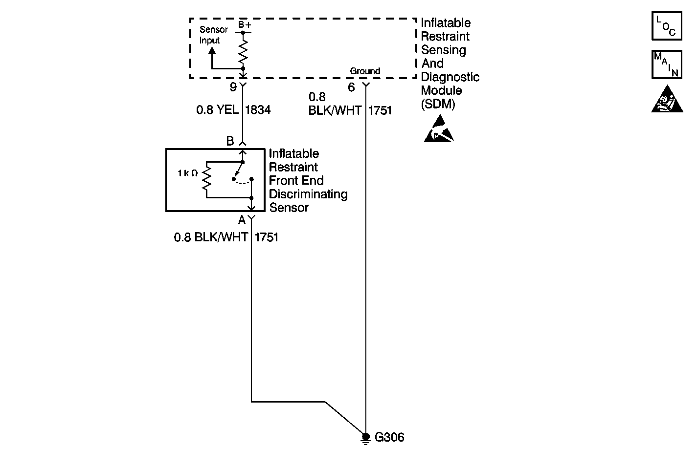
Circuit Description

When you first turn the ignition switch to the RUN position, the inflatable restraint sensing and diagnostic module (SDM) performs tests in order to diagnose critical malfunctions within itself. Next the SDM measures Ignition Positive Voltage, 23 VLR and the deployment loop voltages in order to ensure they are within the normal voltage ranges. Then the SDM proceeds to Continuous Monitoring. The SDM contains a resistor network connected to 5 volts, ground, and to the SDM front end sensor signal terminal 9. The 1 K ohm resistor in the inflatable restraint front end discriminating sensor parallel to the normally open switch provides a parallel path to ground. This causes a specified percentage of voltage to appear at the SDM front-end sensor signal input. The SDM monitors this voltage in order to detect shorts to ground or a closed discriminating sensor.

Conditions for Setting the DTC

    • The SDM is configured for an inflatable restraint front end discriminating sensor
    • The voltage at front end sensor signal terminal 9 is less than 0.5 volts for 500 milliseconds.

The Continuous Monitoring test checks for this DTC. This test occurs when Ignition Positive Voltage is within the normal operating voltage range.

Action Taken When the DTC Sets

    • The SDM sets a Diagnostic Trouble Code.
    • The SDM turns ON the AIR BAG warning lamp.

Conditions for Clearing the MIL/DTC

    • Current DTC
        The voltage at front end sensor signal terminal 9 is more than 2.4 volts for 500 milliseconds.
    • History DTC
       - You issue a scan tool Clear DTCs command.
       - 250 ignition cycles have passed since the last malfunction.

Diagnostic Aids

A short to ground in the inflatable restraint front end discriminating sensor circuit may cause an intermittent condition. Carefully inspect CKT 1834 (YEL) for cut or chafed wires.

When measurements are requested in this table, use the J 39200 Digital Multimeter with the correct terminal adapter from the J 35616 Connector Test Adapter Kit. When an inspection for proper connection is requested, refer to Intermittents and Poor Connections Diagnosis in Wiring Systems. When a wire, connector or terminal repair is requested, use the J-38125 Terminal Repair Kit. Refer to Wiring Repairs in Wiring Systems.

Test Description

The numbers below refer to the step numbers on the diagnostic table:

  1. This test checks for a malfunctioning discriminating sensor.

  2. This test checks for a short to ground in CKT 1834 (YEL).

DTC B1035 Disc Sensor CKT Closed or Short to GND

Step

Action

Value(s)

Yes

No

1

Was the SIR Diagnostic System Check performed?

--

Go to Step 2

Go to SIR Diagnostic System Check

2

  1. Turn the ignition switch to the OFF position.
  2. Disconnect the inflatable restraint front end discriminating sensor.
  3. Measure the resistance between the sensor terminals A and B.

Is the resistance reading more than the specified value?

950 ohms

Go to Step 4

Go to Step 3

3

Replace the inflatable restraint front end discriminating sensor. Refer to Inflatable Restraint Front End Discriminating Sensor Replacement .

Has the inflatable restraint front end discriminating sensor been replaced?

--

Go to Step 7

--

4

  1. Disconnect the inflatable restraint sensing and diagnostic module (SDM) harness connector.
  2. Measure the resistance from the front end discriminating sensor harness connector terminal A to ground.

Is the resistance reading less than the specified value?

OL

Go to Step 5

Go to Sensing and Diagnostic Module Integrity Check

5

Repair a short to ground condition in CKT 1834 (YEL).

Are the repairs complete?

--

Go to Step 6

--

6

Reconnect all the SIR system components, make sure all the components are properly mounted.

Have all the SIR components been reconnected and properly mounted?

--

Go to Step 7

--

7

Clear all the SIR DTCs.

Have all the SIR DTCs been cleared?

--

Go to SIR Diagnostic System Check

--