GM Service Manual Online
For 1990-2009 cars only
Figure 1:

Audio Systems Power and Grounds


Object Number: 400040  Size: FS
Entertainment Components
Radio/Audio System Circuit Description
Compact Disc (CD) Changer
Serial Data Class 2
Instrument Panel and Console Dimming
G300
G200 (1 of 3)
G200 (1 of 3)
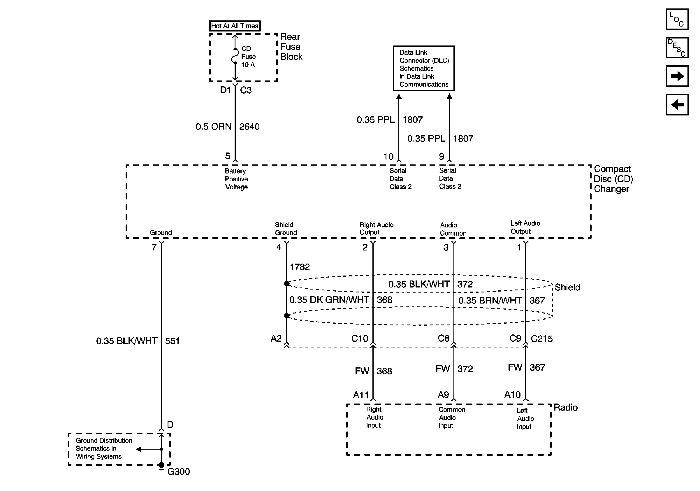
Figure 2:

Compact Disc (CD) Changer


Object Number: 400038  Size: FS
Entertainment Components
Radio/Audio System Circuit Description
Radio Speaker Output
Audio Systems Power and Grounds
Serial Data Class 2
G300
Figure 3:

Radio Speaker Output


Object Number: 400041  Size: FS
Entertainment Components
Radio/Audio System Circuit Description
Antenna Module
Compact Disc (CD) Changer
Figure 4:

Antenna Module


Object Number: 400039  Size: FS
Entertainment Components
Radio/Audio System Circuit Description
Radio Speaker Output