GM Service Manual Online
For 1990-2009 cars only
Makes
🢒
Buick
🢒
2000
🢒
LeSabre
🢒 Steering Controls Schematics
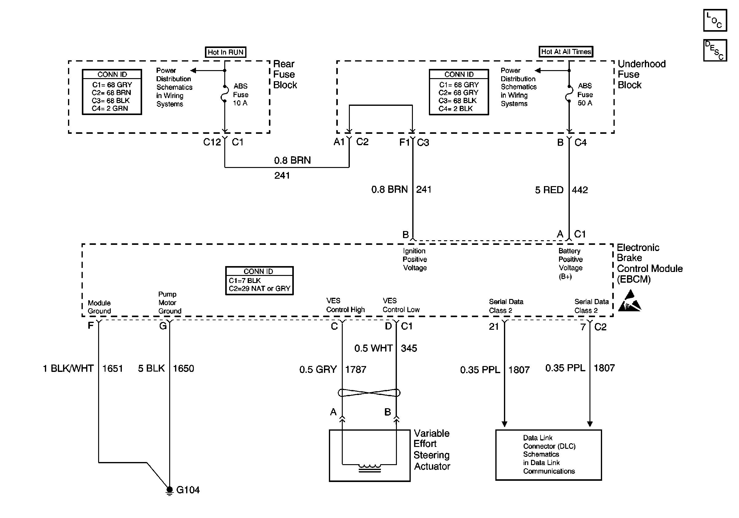
Steering Controls Schematics
Steering Controls Components
Variable Effort Steering Circuit Operation
Battery Feed to the Rear Fuse Block
Battery Feed to the Underhood Fuse Block
Serial Data Class 2
Handling ESD Sensitive Parts Notice