GM Service Manual Online
For 1990-2009 cars only

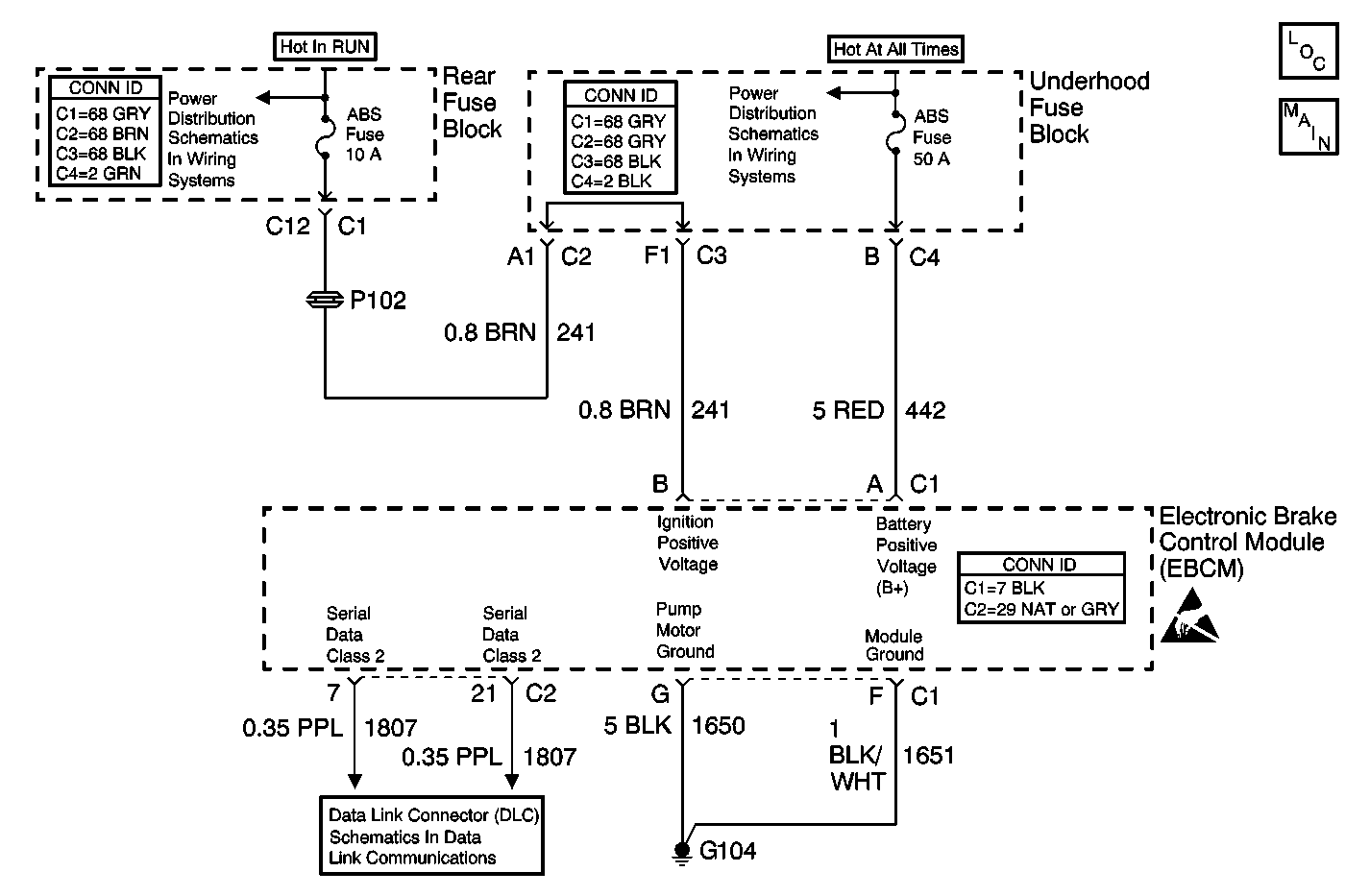
Object Number: 456417  Size: MF
ABS Components
PWR, GND, Stoplamp Switch, Solenoid Valves, and Pump Motor
Handling ESD Sensitive Parts Notice
Battery Feed to the Rear Fuse Block
Battery Feed to the Underhood Fuse Block
Serial Data Class 2

Circuit Description

The microprocessor contains a data storage area, keep alive memory, which can save pertinent data when the ignition is turned OFF. The keep alive memory (KAM) data is lost if battery power or module ground is removed from the module. The KAM area is an integral part of the microprocessor and cannot be serviced separately.

Conditions for Running the DTC

The ABS conditions and the braking conditions are normal.

Conditions for Setting the DTC

The microprocessor calculates a checksum on those areas of memory that hold critical operation data. This is done at a regular interval and is called the periodic checksum. The microprocessor also calculates a checksum on these memory locations when ever new data is written to them. This is called the running checksum.

To check the keep alive memory (KAM), the microprocessor compares the periodic checksum to the running checksum. If they do not match, the microprocessor sets the DTC.

Action Taken When the DTC Sets

If equipped, the following actions occur:

    • The EBCM disables the DRP/ABS/TCS/VSES/TIM for the duration of the ignition cycle.
    • The EBCM disables the variable effort steering (VES) for the duration of the ignition cycle.
    • The ABS indicator turns ON.
    • The TRACTION OFF indicator turns ON.
    • The DIC displays the SERVICE STABILITY SYSTEM message.
    • The red BRAKE warning indicator turns ON.
    • The EBCM will also set DTC C1245 and DTC C1248.
    • The EBCM will not send messages via class 2 serial data.
    • The EBCM will not send the requested torque output to the PCM.

Conditions for Clearing the DTC

    • The condition for the DTC is no longer present and the DTC is cleared with a scan tool.
    • The electronic brake control module (EBCM) automatically clears the history DTC when a current DTC is not detected in 100 consecutive drive cycles.

Diagnostic Aids

Possible causes of this DTC are the following conditions:

    • A loss of battery ground
    • A disconnected battery
    • A running reset
         A running reset is detected when the keep alive memory check sum is not updated properly.
    • A sudden drop in the system voltage to less than 5 volts
    • Long extended engine cranks that cause the battery voltage to drop
    • Poor power or ground connections
    • An internal EBCM malfunction

Test Description

The numbers below refer to the step numbers on the diagnostic table.

  1. This step tests for an open in the module ground.

  2. This step verifies the proper operation of the charging system.

  3. This step determines whether the DTC resets.

Step

Action

Value(s)

Yes

No

1

Did you perform the ABS Diagnostic System Check?

--

Go to Step 2

Go to Diagnostic System Check - ABS

2

  1. Turn OFF the ignition.
  2. Important: Removing battery voltage or ground from the EBCM will result in the following conditions:

       • Loss of the TIM learned tire inflation configuration parameters
       • Set DTC C1245 Low Tire Pressure Detected
    When the diagnosis is complete, inspect the tire pressures and perform the TIM reset. Refer to Tire Inflation Monitor Resetting in Tire Pressure Monitoring.

  3. Disconnect the EBCM harness connector.
  4. Install the J 39700 universal breakout box using the J 39700-300 cable adapter to the EBCM harness connector only.
  5. Test the module ground circuit of the EBCM for a high resistance or an open. Refer to Circuit Testing and Wiring Repairs in Wiring Systems.

Did you find and correct the condition?

--

Go to Step 8

Go to Step 3

3

Has the battery been disconnected recently?

--

Go to Step 8

Go to Step 4

4

Test the charging system. Refer to Diagnostic System Check - Engine Electrical in Engine Electrical.

Did you find and correct the condition?

--

Go to Step 8

Go to Step 5

5

Inspect for poor connections at the harness connector of the EBCM. Refer to Testing for Intermittent Conditions and Poor Connections and Connector Repairs in Wiring Systems.

Did you find and correct the condition?

--

Go to Step 8

Go to Step 6

6

  1. Use the scan tool in order to clear the DTCs.
  2. With the scan tool, perform the Automated Test.

Does the DTC reset?

--

Go to Step 7

Go to Testing for Intermittent Conditions and Poor Connections in Wiring Systems

7

Important: Perform the setup procedure for the EBCM. An unprogrammed EBCM will result in the following conditions:

   • Inoperative or poorly functioning DRP/ABS/TCS/VSES/VES/TIM (if equipped)
   • Set DTC C1248 EBCM Turned the Red Brake Warning Indicator On
   • Set DTC C1255m3 EBCM Internal Malfunction

Replace the EBCM. Refer to Electronic Brake Control Module Replacement .

Did you complete the repair?

--

Go to Step 8

--

8

  1. Use the scan tool in order to clear the DTCs.
  2. With the scan tool, perform the Automated Test.

Does the DTC reset?

--

Go to Step 2

System OK