GM Service Manual Online
For 1990-2009 cars only
Figure 1:

Battery Feed to Underhood Fuse Block


Object Number: 871222  Size: FS
Master Electrical Component List
Battery Feed to Rear Fuse Block
G305, G310, G404, and G303
Battery Feed to Rear Fuse Block
Figure 2:

Battery Feed to Rear Fuse Block


Object Number: 885705  Size: FS
Master Electrical Component List
Fuse Block Underhood - IGN 1 Relay, Transmission, DIS, OXY SEN, and IGN 1 Fuses
Battery Feed to Underhood Fuse Block
Battery Feed to Underhood Fuse Block
Figure 3:

Fuse Block Underhood - IGN 1 Relay, Transmission, DIS, OXY SEN, and IGN 1 Fuses


Object Number: 871225  Size: FS
Master Electrical Component List
Fuse Block Underhood - Start 1 Relay, INJR 1, PCM IGN, CR CONT and INJR 2 Fuses
Battery Feed to Rear Fuse Block
Fuse Block Underhood - Start 1 Relay, INJR 1, PCM IGN, CR CONT and INJR 2 Fuses
Figure 4:

Fuse Block Underhood - Start 1 Relay, INJR 1, PCM IGN, CR CONT, and INJR 2 Fuses


Object Number: 885708  Size: FS
Master Electrical Component List
Fuse Block Underhood - HDLP HIBM and HDLP LOBM Relays, ABS, PCM BATT, HDHIBM, HDLOBM Fuses
Fuse Block Underhood - IGN 1 Relay, Transmission, DIS, OXY SEN, and IGN 1 Fuses
Fuse Block Underhood - IGN 1 Relay, Transmission, DIS, OXY SEN, and IGN 1 Fuses
Figure 5:

Fuse Block Underhood - HDLP HIBM and HDLP LOBM Relays, ABS, PCM BATT, HDHIBM, and HDLOBM Fuses


Object Number: 885713  Size: FS
Master Electrical Component List
Fuse Block Underhood - ACCY Relays and C/LTR, AUX PWR, WSW and ACCY Fuses
Fuse Block Underhood - Start 1 Relay, INJR 1, PCM IGN, CR CONT and INJR 2 Fuses
Figure 6:

Fuse Block Underhood - ACCY Relay, C/LTR, AUX PWR, WSW, and ACCY Fuses


Object Number: 885715  Size: FS
Master Electrical Component List
Fuse Block Rear - HVAC BATT, DDM, FPDM and LRDM Fuses
Fuse Block Underhood - HDLP HIBM and HDLP LOBM Relays, ABS, PCM BATT, HDHIBM, HDLOBM Fuses
Figure 7:

Fuse Block Rear - HTDST RF, HTDST LF, DIM, and MEM Fuses


Object Number: 885716  Size: FS
Master Electrical Component List
Fuse Block Rear - HVAC BATT, DDM, FPDM and LRDM Fuses
Fuse Block Underhood - ACCY Relays and C/LTR, AUX PWR, WSW and ACCY Fuses
Figure 8:

Fuse Block Rear - HVAC BATT, DDM, FPDM, LRDM Fuses


Object Number: 885717  Size: FS
Master Electrical Component List
Fuse Block Rear - ELC, RR DEFOG and TRK/REL Relays, RR DEFOG and ALDL Fuses
Fuse Block Rear - HTDST RF, HTDST LF, DIM, and MEM Fuses
Figure 9:

Fuse Block Rear - ELC, RR DEFOG and TRK/REL Relays, RR DEFOG and ALDL Fuses


Object Number: 885719  Size: FS
Master Electrical Component List
Fuse Block Rear - PWR WDO and PWR SEAT Circuit Breakers
Fuse Block Rear - HVAC BATT, DDM, FPDM and LRDM Fuses
Figure 10:

Fuse Block Rear - PWR WDO and PWR SEAT Circuit Breakers


Object Number: 1545387  Size: FS
Master Electrical Component List
Fuse Block Rear - PRK LP Relay, LP PK L, LP PK R, and DIMR Fuses
Fuse Block Rear - ELC, RR DEFOG and TRK/REL Relays, RR DEFOG and ALDL Fuses
Figure 11:

Fuse Block Rear - PRK LP Relay, LP PK L, LP PK R, and DIMR Fuses


Object Number: 885723  Size: FS
Master Electrical Component List
Fuse Block Rear - T SIG/HAZ, STOP LP, AUDIO and CD Fuses
Fuse Block Rear - PWR WDO and PWR SEAT Circuit Breakers
Figure 12:

Fuse Block Rear - T SIG/HAZ, STOP LP, AUDIO and CD Fuses


Object Number: 1545389  Size: FS
Master Electrical Component List
Fuse Block Rear - I/P, CIGAR, AUX PWR and C/LTR Fuses and CIGAR Relay
Fuse Block Rear - PRK LP Relay, LP PK L, LP PK R, and DIMR Fuses
Figure 13:

Fuse Block Rear - I/P, CIGAR, AUX PWR and C/LTR Fuses and CIGAR Relay


Object Number: 885733  Size: FS
Master Electrical Component List
Fuse Block Rear - IGN SW and NSBU Fuses
Fuse Block Rear - T SIG/HAZ, STOP LP, AUDIO and CD Fuses
Figure 14:

Fuse Block Rear - IGN SW and NSBU Fuses


Object Number: 1545391  Size: FS
Master Electrical Component List
Ignition Switch - 1 of 2
Fuse Block Rear - I/P, CIGAR, AUX PWR and C/LTR Fuses and CIGAR Relay
Backup Lamps
Ignition Switch - 1 of 2
Figure 15:

Ignition Switch - 1 of 2


Object Number: 885740  Size: FS
Master Electrical Component List
Ignition Switch - 2 of 2
Fuse Block Rear - IGN SW and NSBU Fuses
Fuse Block Rear - IGN SW and NSBU Fuses
Ignition Switch - 2 of 2
Figure 16:

Ignition Switch - 2 of 2


Object Number: 885745  Size: FS
Master Electrical Component List
Fuse Block Rear - IGN-1, VENT SOL and SIR Fuses
Ignition Switch - 1 of 2
Ignition Switch - 1 of 2
Figure 17:

Fuse Block Rear - IGN-1, VENT SOL, and SIR Fuses


Object Number: 885748  Size: FS
Master Electrical Component List
Fuse Block Rear - IGN-3 and ABS Fuses
Ignition Switch - 2 of 2
SIR Caution for Zoning
SIR Caution for Zoning
Figure 18:

Rear Fuse Block - IGN-3 and ABS Fuses


Object Number: 885750  Size: FS
Master Electrical Component List
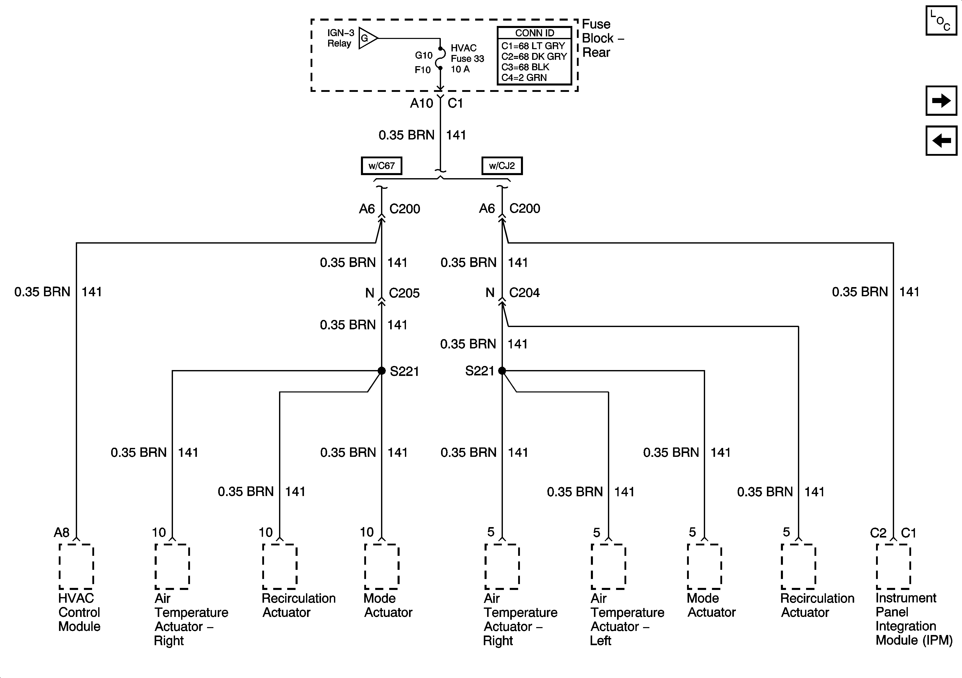
Block Rear - HVAC Fuse
Fuse Block Rear - IGN-1, VENT SOL and SIR Fuses
Battery Feed to Rear Fuse Block
Block Rear - HVAC Fuse
Figure 19:

Rear Fuse Block - HVAC Fuse


Object Number: 1523343  Size: FS
Master Electrical Component List
Block Rear - HVAC BLO and AUDIO Fuses, RAP and F/PMP Relays
Fuse Block Rear - IGN-3 and ABS Fuses
Fuse Block Rear - IGN-3 and ABS Fuses
Figure 20:

Block Rear - HVAC BLO and AUDIO Fuses, RAP and F/PMP Relays


Object Number: 885756  Size: FS
Master Electrical Component List
Block Rear - HVAC Fuse