GM Service Manual Online
For 1990-2009 cars only

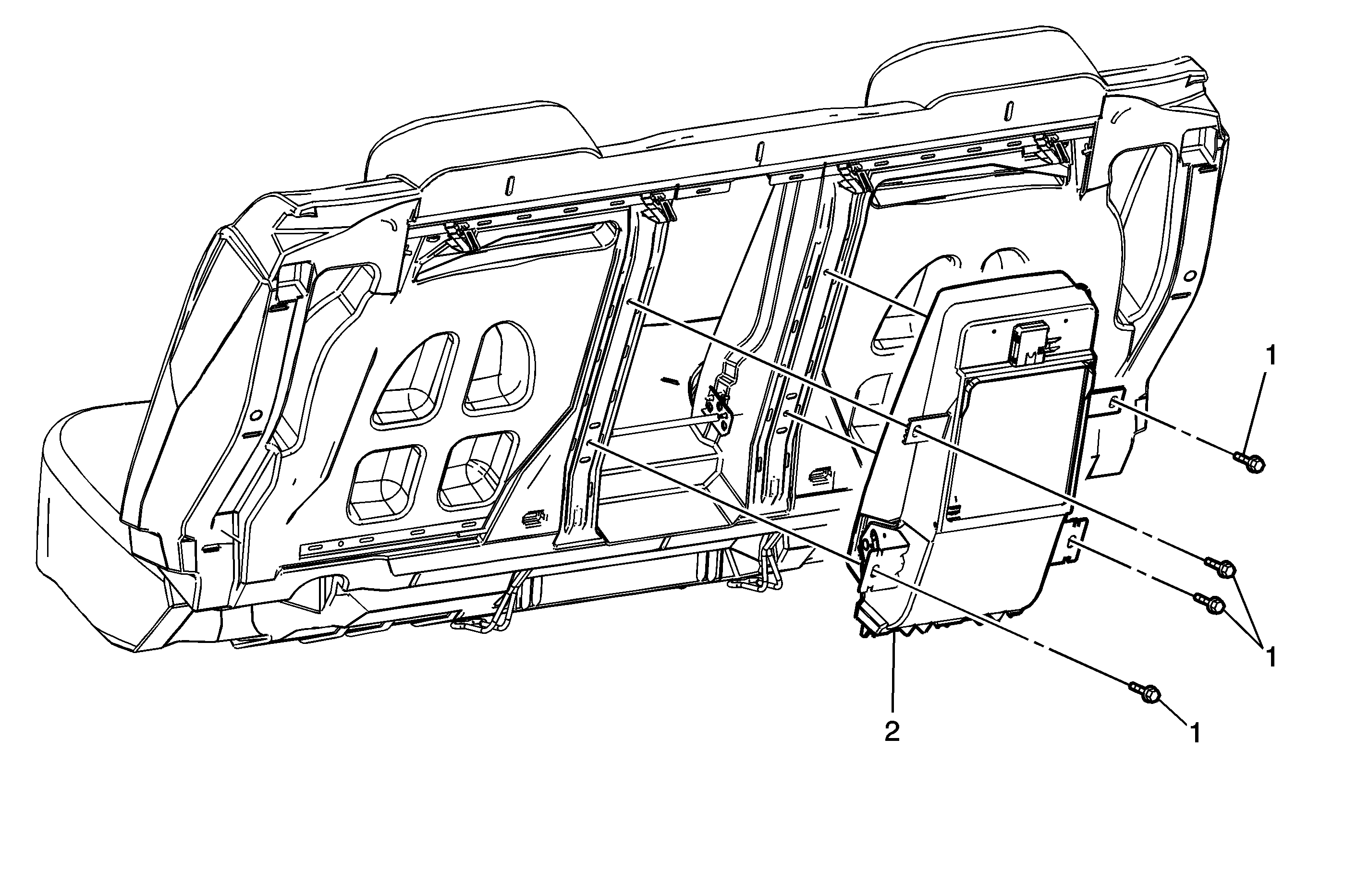
Object Number: 1594499  Size: MF

Callout

Component Name

Notice: Refer to Fastener Notice in the Preface section.

Fastener Tightening Specifications: Refer to Fastener Tightening Specifications.

Preliminary Procedures

  1. Remove the rear seat cushion. Refer to Rear Seat Cushion Replacement.
  2. Remove the rear seat back cushion. Refer to Rear Seat Back Replacement.

1

Bolt, Rear Seat Armrest (Qty: 4)

Tighten
5 N·m (44 lb in)

2

Armrest Assembly, Rear Seat