GM Service Manual Online
For 1990-2009 cars only

Object Number: 486327  Size: MF
Body Control Module Components
Body Control System Schematics

Circuit Description

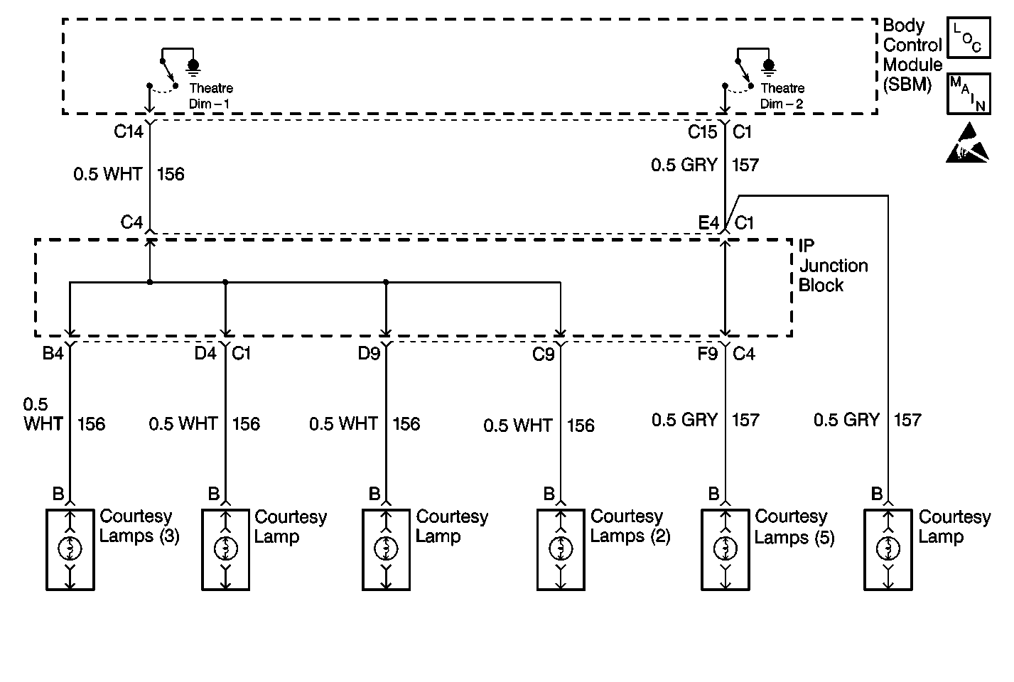
The body control module (SBM) controls the courtesy lamps theater dimming. The SBM fades the lamps by controlling CKT 157.

Conditions for Setting the DTC

The SBM detects a short to ground or an open in CKT 157.

Action Taken When the DTC Sets

    • DTC B2457 is stored in the SBM memory.
    • No driver warning message is displayed for this DTC.

Conditions for Clearing the DTC

    • A short to ground is no longer detected by the SBM on CKT 157.
    • An open is no longer detected by the SBM on CKT 157.
    • A history DTC clears after 50 consecutive ignition cycles if the condition for the fault is no longer present.

Diagnostic Aids

The following conditions may cause an intermittent malfunction to occur:

    • An intermittent short to ground in CKT 157
    • An intermittent open in CKT 157
    • A short to ground or an open internal to the SBM

Step

Action

Value(s)

Yes

No

1

Did you perform the Body Control Module Diagnostic System Check?

--

Go to Step 2

Go to Diagnostic System Check - Body Control System

2

  1. Disconnect the body control module (SBM) connector C1.
  2. Test for voltage between the SBM C1 terminal C15 and ground.

Is battery voltage present?

--

Go to Step 3

Go to Step 4

3

  1. Replace the SBM. Refer to Body Control Module Replacement .
  2. Program the SBM. Refer to Body Control Module (BCM) Programming/RPO Configuration .

Did you complete the repair?

--

Go to Step 5

--

4

Repair the open or the short to ground in CKT 157. Refer to Wiring Repairs in Wiring Systems.

Did you complete the repair?

--

Go to Step 5

--

5

  1. Turn the ignition switch to the OFF position.
  2. Connect all of the connectors.
  3. Install all of the components that you removed.
  4. Clear any DTCs.

Did you complete the repair?

--

Go to Diagnostic System Check - Body Control System

--