GM Service Manual Online
For 1990-2009 cars only
Makes
🢒
Buick
🢒
1999
🢒
Park Avenue
🢒
Body and Accessories
🢒
Wipers/Washer Systems
🢒 Wiper/Washer System (Pulse) Schematics
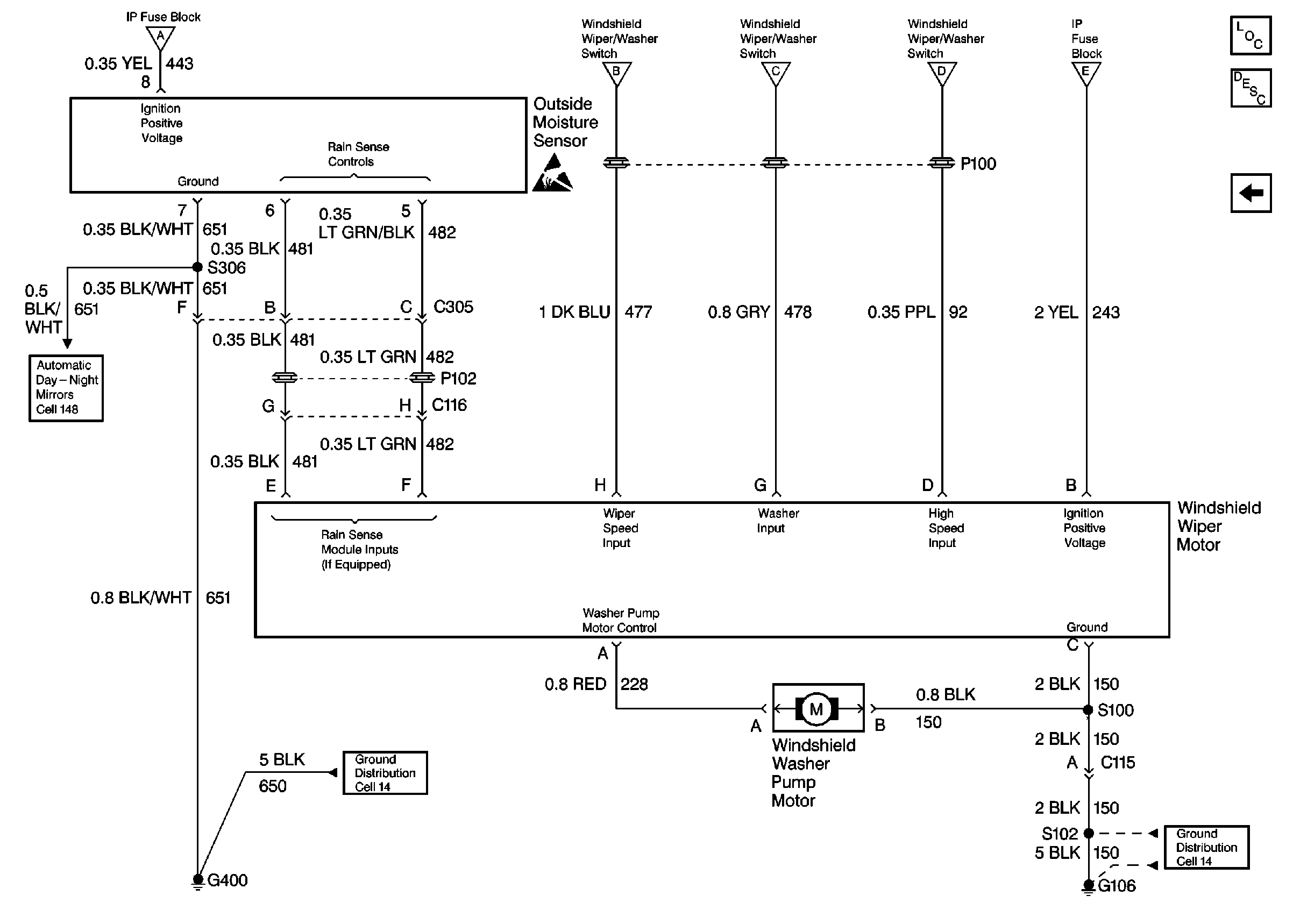
Figure
1:
Cell 91: Windshield Wiper/Washer Switch
Wiper/Washer System Components
Cell 91: Windshield Wiper Motor
Handling ESD Sensitive Parts Notice
Cell 91: Windshield Wiper Motor
Cell 91: Windshield Wiper Motor
Cell 91: Windshield Wiper Motor
Cell 91: Windshield Wiper Motor
Cell 91: Windshield Wiper Motor
Figure
2:
Cell 91: Windshield Wiper Motor
Wiper/Washer System Components
Cell 91: Windshield Wiper/Washer Switch
Cell 91: Windshield Wiper/Washer Switch
Cell 91: Windshield Wiper/Washer Switch
Cell 91: Windshield Wiper/Washer Switch
Cell 91: Windshield Wiper/Washer Switch
Cell 91: Windshield Wiper/Washer Switch
Automatic Day-Night Mirrors Schematics
Ground Distribution Schematics
Handling ESD Sensitive Parts Notice
Ground Distribution Schematics