GM Service Manual Online
For 1990-2009 cars only

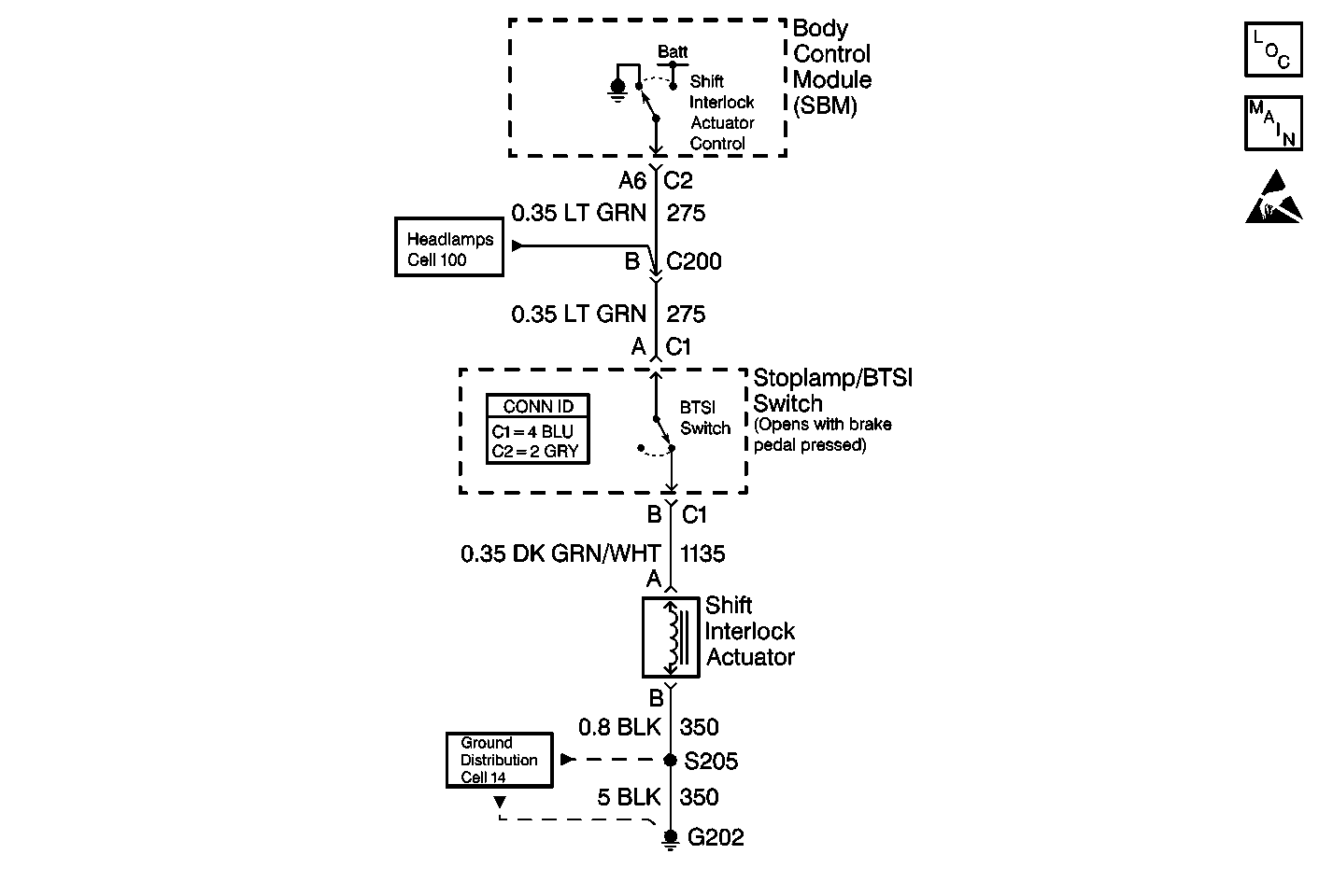
Object Number: 324011  Size: MF
Body Control Module Components
Body Control System Schematics
Headlights Schematics
Ground Distribution Schematics

Circuit Description

The body control module (SBM) supplies voltage to CKT 275 while the following conditions occur:

    • The ignition switch is in RUN.
    • The transaxle is in the PARK position.

When you press the brake pedal, the following functions occur:

    • The stoplamp/BTSI switch opens the BTSI circuit.
    • The shift interlock actuator disables.

The SBM monitors the output. The SBM determines the actual voltage at terminal A6 every 0.3 seconds.

Conditions for Setting the DTC

The SBM detects the voltage on terminal A6 for more than 0.1 seconds.

Action Taken When the DTC Sets

    • DTC B0803 store in the SBM memory.
    • No driver warning message displays for this DTC.

Conditions for Clearing the DTC

    • The battery voltage is no longer detected by the SBM on terminal A6.
    • The history DTC clears after 50 consecutive ignition cycles if the condition for the malfunction is no longer present.
    • Use the on-board diagnostic (clearing DTC) feature.
    • Use a scan tool.

Diagnostic Aids

An intermittent short to battery positive voltage (B+) in CKT 275 or CKT 1135 may cause an intermittent malfunction to occur.

If the DTC is a history DTC, the condition may be intermittent. Try performing the tests while moving the following components:

    • The wiring
    • The connectors

Moving the wires may often cause the malfunction to appear.

Test Description

The numbers below refer to the step numbers on the diagnostic table.

  1. Always perform the SBM Diagnostic System Check before attempting to diagnose a DTC B0803.

  2. This step determines if a short to battery positive voltage (B+) exists on CKT  275 or CKT 1135.

  3. This step determines if the short to voltage is located in CKT 275 or CKT 1135.

Step

Action

Value(s)

Yes

No

1

Did you perform the Diagnostic System Check - Body Control System ?

--

Go to Step 2

Go to Diagnostic System Check - Body Control System

2

  1. Disconnect the body control module (SBM) connector C2.
  2. Connect a J 39200 digital multimeter (DMM) between the SBM connector C2 terminal A6 and ground.

Is the measured voltage in the specified range?

10-15V

Go to Step 3

Go to Step 6

3

Press the brake pedal.

Is the measured voltage in the specified range?

10-15V

Go to Step 5

Go to Step 4

4

Repair the short to battery positive voltage (B+) in CKT 1135.

Is the repair complete?

--

Go to Step 7

--

5

Repair the short to battery positive voltage (B+) in CKT 275.

Is the repair complete?

--

Go to Step 7

--

6

  1. Replace the body control module (SBM). Refer to Body Control Module Replacement .
  2. Program the SBM. Refer to Body Control Module (BCM) Programming/RPO Configuration .

Is the repair complete?

--

Go to Step 7

--

7

  1. Turn the ignition switch to the OFF position.
  2. Connect all of the connectors.
  3. Install all of the components.
  4. Clear all of the DTCs.

Are all of the DTCs cleared?

--

System OK

Go to Diagnostic System Check - Body Control System