Important: A GM service kit is included with a new rain sensor module.
Important: Do not apply direct heat to the area around the outside moisture sensor module. Continuous exposure to heat can damage the sensor module or the windshield.
Remove the rain sensor module from the windshield.
Caution: If broken glass falls into the defroster outlets, it can be blown into the passenger compartment and cause personal injury.
Important: The temperature of the windshield must be 13°C (55°F)-38°C (100°F) for proper adhesion.
Install the sensor on the windshield.
Important: Do not move or shift the sensor on the windshield after installation.
Important: A GM service kit is available for removal and reinstallation of the rain sensor.
Important: Do not apply direct heat to the area around the outside moisture sensor module. Continuous exposure to heat can damage the sensor module or the windshield.
| 2.1. | Apply heat to the sensor area of the windshield. Use a maximum 740 watt heat gun. |
| 2.2. | In order to remove the rain sensor from the windshield, twist the sensor back and forth. |
| 3.1. | Place an aluminum plate (2) on the tape residue. Ensure that the plate covers the entire rain sensor module. |
| 3.2. | Use a maximum 740 watt heat gun. Apply the heat directly to the plate for approximately 60 seconds in order to soften the tape residue. |
Use pliers in order to remove the HOT plate from the rain sensor module.
| 3.3. | Using the fingers or thumb, roll the tape residue down the length of the rain sensor module optical area. Repeat this step as needed in order to remove the majority of tape residue from the optical area. |
| Important: Do not apply direct heat to the area around the outside moisture sensor module. Continuous exposure to heat can damage the sensor module or the windshield. |
| 3.4. | Fill the tray to the bottom of the cut-out notch with cleaning solution. The cleaning solution is included in the service kit. |
Important: Do not allow cleaning solution to enter the outside moisture sensor module. Cleaning solution will damage the sensor module. If this occurs, the sensor module must be replaced.
Less soaking time will be required as the amount of tape residue becomes less.
Use a water soluble marker or tape in order to mark the sensor locations in the following manner:
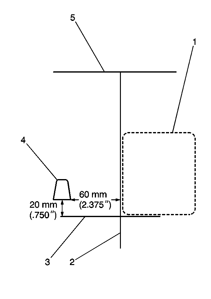
| 1.1. | Draw a line (2) perpendicular to the top of the windshield (5) 6 cm (2.375 in) to the right of the passenger side edge of the rear view mirror mount (4). |
| 1.2. | Draw a line (3) parallel to the top of the windshield (5) 2 cm (.750 in) from the bottom of the rear view mirror mount (4). This line should cross the vertical line. |
| Important: Do not touch the optical tape adhesive. Replace the optical tape (2) if the tape is touched or contaminated. |
| 2.1. | Pull the blue release tab in order to remove the white backing from the optical tape (2). |
| 2.2. | Carefully place the optical tape in a tray with the exposed adhesive in the up position. |
The red tab should rest in the cut-out notch of the tray.
| 2.3. | Apply primer B to the sensor using the applicator supplied in the kit. Follow the directions on the primer B applicator. |
Remove excess adhesive using the clean cloth that is included in the service kit.
| 2.4. | Place the rain sensor module onto the optical tape in the tray. Firmly press down for 10-15 seconds. |
| Important: DO NOT move the optical tape on the rain sensor module. |
| 2.5. | Remove the rain sensor module from the tray. Remove the air bubbles under the tape with finger pressure. |
Important:
• The temperature of the windshield must be 13°C (55°F)-38°C
(100°F) for proper adhesion. • Use care in order to position the rain sensor module properly
prior to attaching the sensor to the windshield. The sensor may not be moved
once the sensor is in contact with the windshield.
Hold the sensor for 10-15 seconds.
Important: DO NOT move the rain sensor module on the windshield.