GM Service Manual Online
For 1990-2009 cars only
Makes
🢒
Buick
🢒
2000
🢒
Park Avenue
🢒
Engine
🢒
Engine Cooling
🢒 Cooling System Component Views
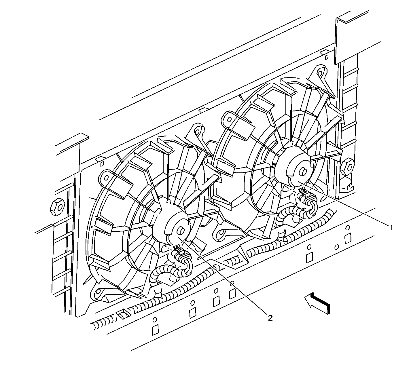
Front Center of Engine Compartment
(1)
RH Engine Cooling Fan Motor
(2)
LH Engine Cooling Fan Motor