GM Service Manual Online
For 1990-2009 cars only

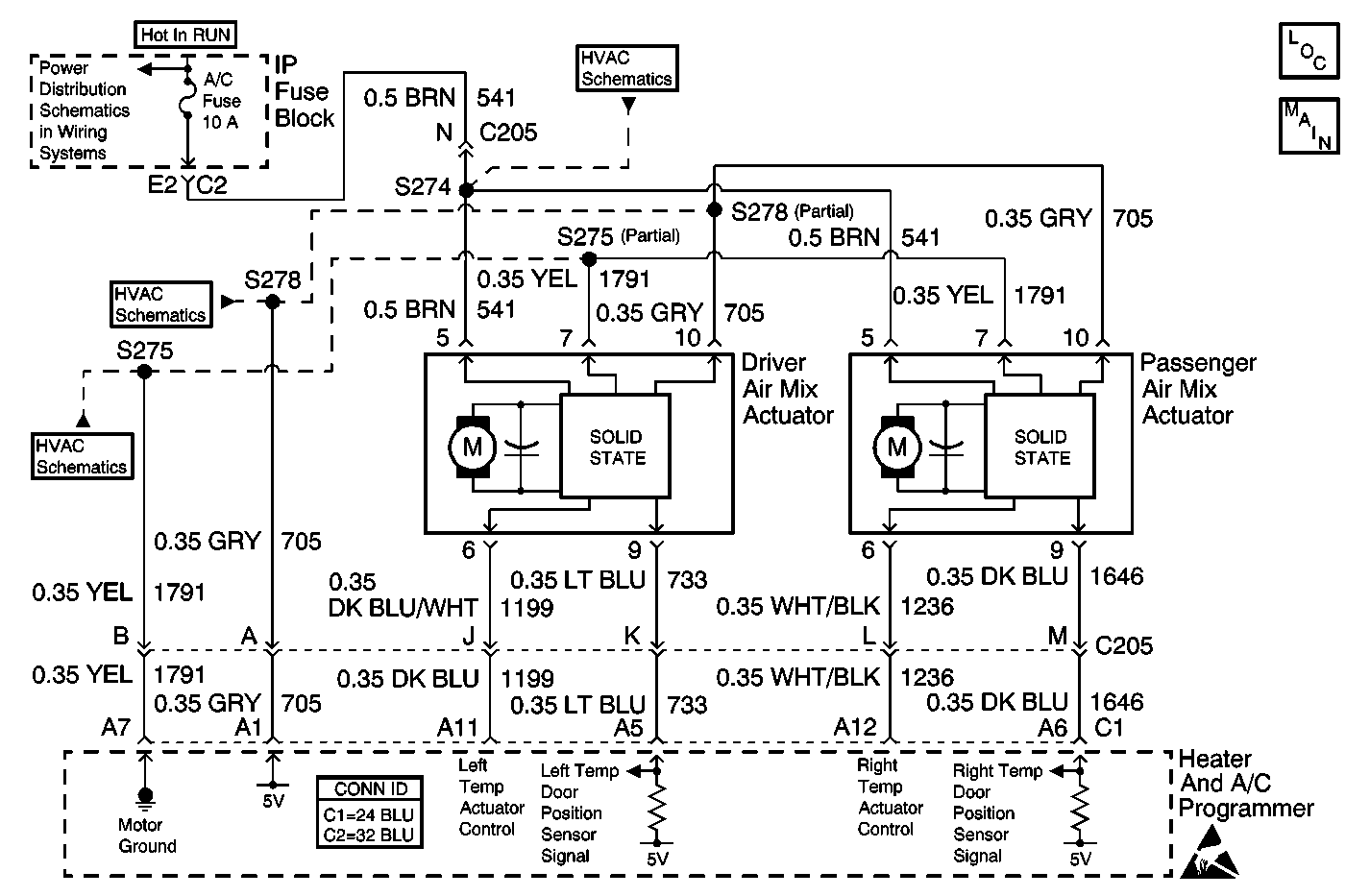
Object Number: 554107  Size: MF
HVAC Components
Actuators
Handling ESD Sensitive Parts Notice
Actuators
Actuators
Actuators
IP Fuse Block, HVAC and A/C Fuses

Circuit Description

The left temp door motor is an electronic actuator stepper motor with a feedback potentiometer. The heater and A/C programmer determines the position of the door motor based on the voltage from the potentiometer. When the airflow is cool (heater core bypass), the voltage is high. When the airflow is warm (through the heater core), the voltage is low. The heater and A/C programmer controls the left temp door motor position to maintain the air temperature selected by the driver.

Conditions for Running the DTC

The ignition is turned ON.

Conditions for Setting the DTC

The heater and A/C programmer detects the signal circuit is less than 0.09 V (5 counts) or greater than 4.90 V (250 counts).

Action Taken When the DTC Sets

    • A default value of 2.50 V (128 counts) will be used for the sensor data by the heater and A/C programmer.
    • The heater and A/C programmer will toggle the actuator between full hot and full cool in an attempt to maintain the air temperature selected by the driver.

Conditions for Clearing the DTC

    • The DTC will become history if the heater and A/C programmer no longer detects a failure.
    • The history DTC will clear after 50 fault free ignition cycles.
    • The DTC can be cleared with a scan tool.

Diagnostic Aids

    • A disconnected or broken door may also set this DTC by allowing the actuator to travel to its internal stops (overtravel condition).
    • Refer to Testing for Intermittent Conditions and Poor Connections .

Test Description

The number(s) below refer to the step number(s) on the diagnostic table.

  1. Tests for the proper operation of the circuit in the high voltage range.

  2. Tests for the proper operation of the circuit in the low voltage range. If the fuse in the jumper opens when you perform this test, the signal circuit is shorted to voltage.

  3. Tests for a short to ground in the 5 volt reference circuit.

Step

Action

Value(s)

Yes

No

1

Did you perform the HVAC Diagnostic System Check?

--

Go to Step 2

Go to Diagnostic System Check

2

  1. Install a scan tool.
  2. Turn ON the ignition, with the engine OFF.
  3. With a scan tool, observe the Left Temp Dr Actual parameter in the Heating and Air Conditioning data list.

Does the scan tool indicate that the Left Temp Dr Actual parameter is within the specified range?

0.09-4.90 V

Go to Diagnostic Aids

Go to Step 3

3

  1. With a scan tool, command the Left Temp Door Position from Hot to Cold.
  2. With a scan tool, observe the Left Temp Dr Actual parameter in the Heating and Air Conditioning data list.

Does the scan tool indicate that the Left Temp Dr Actual parameter changes when the Left Temp Door Position is commanded from Hot to Cold?

--

Go to Step 12

Go to Step 4

4

  1. Turn OFF the ignition.
  2. Disconnect the driver air mix actuator.
  3. Turn ON the ignition, with the engine OFF.
  4. With a scan tool, observe the Left Temp Dr Actual parameter.

Does the scan tool indicate that the Left Temp Dr Actual parameter is greater than the specified value?

4.90 V

Go to Step 5

Go to Step 9

5

  1. Turn OFF the ignition.
  2. Connect a 3 amp fused jumper wire between the signal circuit of the left temp door position sensor and the motor ground circuit of the driver air mix actuator.
  3. Turn ON the ignition, with the engine OFF.
  4. With a scan tool, observe the Left Temp Dr Actual parameter.

Does the scan tool indicate that the Left Temp Dr Actual parameter is less than the specified value?

0.09 V

Go to Step 6

Go to Step 10

6

  1. Turn OFF the ignition.
  2. Disconnect the fused jumper wire.
  3. Connect a 3 amp fused jumper wire between the 5 volt reference circuit of the left temp door position sensor and the signal circuit of the left temp door position sensor.
  4. Turn ON the ignition, with the engine OFF.
  5. With a scan tool, observe the Left Temp Dr Actual parameter.

Does the scan tool indicate that the Left Temp Dr Actual parameter is greater than the specified value?

4.90 V

Go to Step 8

Go to Step 7

7

Test the 5 volt reference circuit of the left temp door position sensor for a short to ground or an open. Refer to Circuit Testing and Wiring Repairs in Wiring Systems.

Did you find and correct the condition?

--

Go to Step 17

Go to Step 14

8

Test the 5 volt reference circuit of the left temp door position sensor for a short to voltage, a high resistance, or an open. Refer to Circuit Testing and Wiring Repairs in Wiring Systems.

Did you find and correct the condition?

--

Go to Step 17

Go to Step 13

9

Test the signal circuit of the left temp door position sensor for a short to ground. Refer to Circuit Testing and Wiring Repairs in Wiring Systems.

Did you find and correct the condition?

--

Go to Step 17

Go to Step 14

10

Test the signal circuit of the left temp door position sensor for a short to voltage, a high resistance, or an open. Refer to Circuit Testing and Wiring Repairs in Wiring Systems.

Did you find and correct the condition?

--

Go to Step 17

Go to Step 11

11

Test the motor ground circuit of the driver air mix actuator for a high resistance or an open. Refer to Circuit Testing and Wiring Repairs in Wiring Systems.

Did you find and correct the condition?

--

Go to Step 17

Go to Step 14

12

Inspect the air mix door for a condition allowing excessive travel of the actuator.

Did you find and correct the condition?

--

Go to Step 17

Go to Step 13

13

Inspect for poor connections at the harness connector of the driver air mix actuator. Refer to Testing for Intermittent Conditions and Poor Connections and Connector Repairs in Wiring Systems.

Did you find and correct the condition?

--

Go to Step 17

Go to Step 15

14

Inspect for poor connections at the harness connector of the heater and A/C programmer. Refer to Testing for Intermittent Conditions and Poor Connections and Connector Repairs in Wiring Systems.

Did you find and correct the condition?

--

Go to Step 17

Go to Step 16

15

Replace the driver air mix actuator. Refer to Air Mix Actuator Replacement - Driver .

Did you complete the replacement?

--

Go to Step 17

--

16

Replace the heater and A/C programmer. Refer to Programmer Replacement .

Did you complete the replacement?

--

Go to Step 17

--

17

  1. Use the scan tool in order to clear the DTCs.
  2. Operate the vehicle within the Conditions for Running the DTC as specified in the supporting text.

Does the DTC reset?

--

Go to Step 2

System OK