GM Service Manual Online
For 1990-2009 cars only
Figure 1:

Radio Power and Grounds


Object Number: 566676  Size: FS
VF Dimming and Control
Steering Wheel Controls
Entertainment Components
Radio/Audio System Circuit Description
Amplifier and Remote CD Power and Grounds
Underhood Maxi-Fuse Block, RAP Fuse/Rear Fuse Block, RAP Relay, RADIO and SUNROOF Fuses
G202, 3 of 4
G202, 3 of 4
Rear Fuse Block, RDO, RDO/PH and CD/PH Fuses
Figure 2:

Amplifier and Remote CD Power and Grounds


Object Number: 566680  Size: FS
G202, 3 of 4
G202, 3 of 4
Radio Power and Grounds
Radio/Audio System Circuit Description
Entertainment Components
Radio Speaker Output (UW6)
Figure Cellular Comm Schematic
Rear Fuse Block, RDO, RDO/PH and CD/PH Fuses
Figure 3:

Radio Speaker Output (UW6)


Object Number: 566685  Size: FS
Entertainment Components
Radio/Audio System Circuit Description
Radio Output (U99)
Amplifier and Remote CD Power and Grounds
Figure 4:

Radio Output (U99)


Object Number: 566692  Size: FS
Entertainment Components
Radio/Audio System Circuit Description
Audio Door Speaker Output (U99)
Radio Speaker Output (UW6)
Figure 5:

Audio Door Speaker Output (U99)


Object Number: 566689  Size: FS
Entertainment Components
Radio/Audio System Circuit Description
Audio Speaker Output (U99)
Radio Output (U99)
Figure 6:

Audio Speaker Output (U99)


Object Number: 566700  Size: FS
Entertainment Components
Radio/Audio System Circuit Description
Antenna Module
Audio Door Speaker Output (U99)
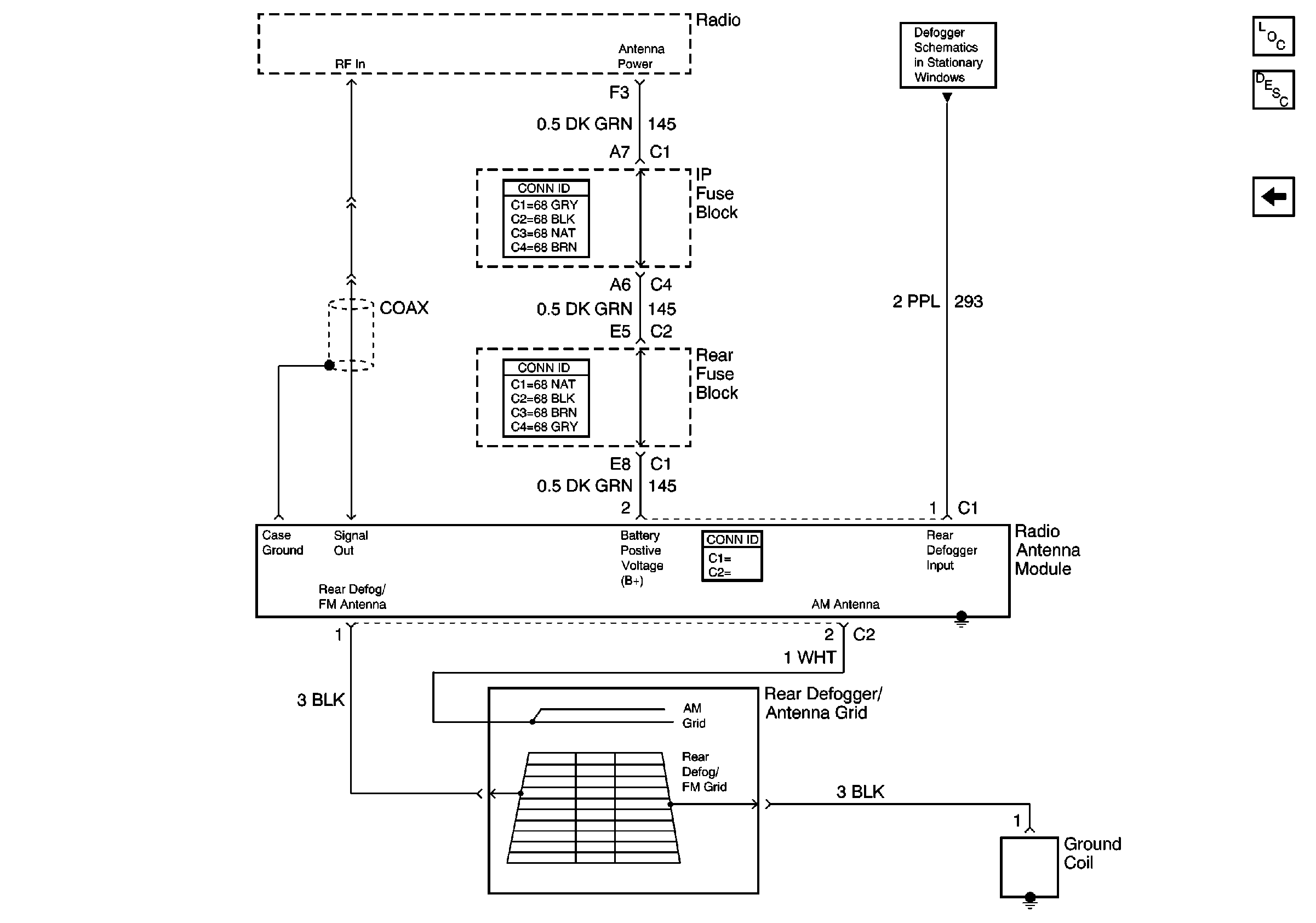
Figure 7:

Antenna Module


Object Number: 566683  Size: FS
Entertainment Components
Radio/Audio System Circuit Description
Audio Speaker Output (U99)
00_C Rear Defog Schematic