GM Service Manual Online
For 1990-2009 cars only

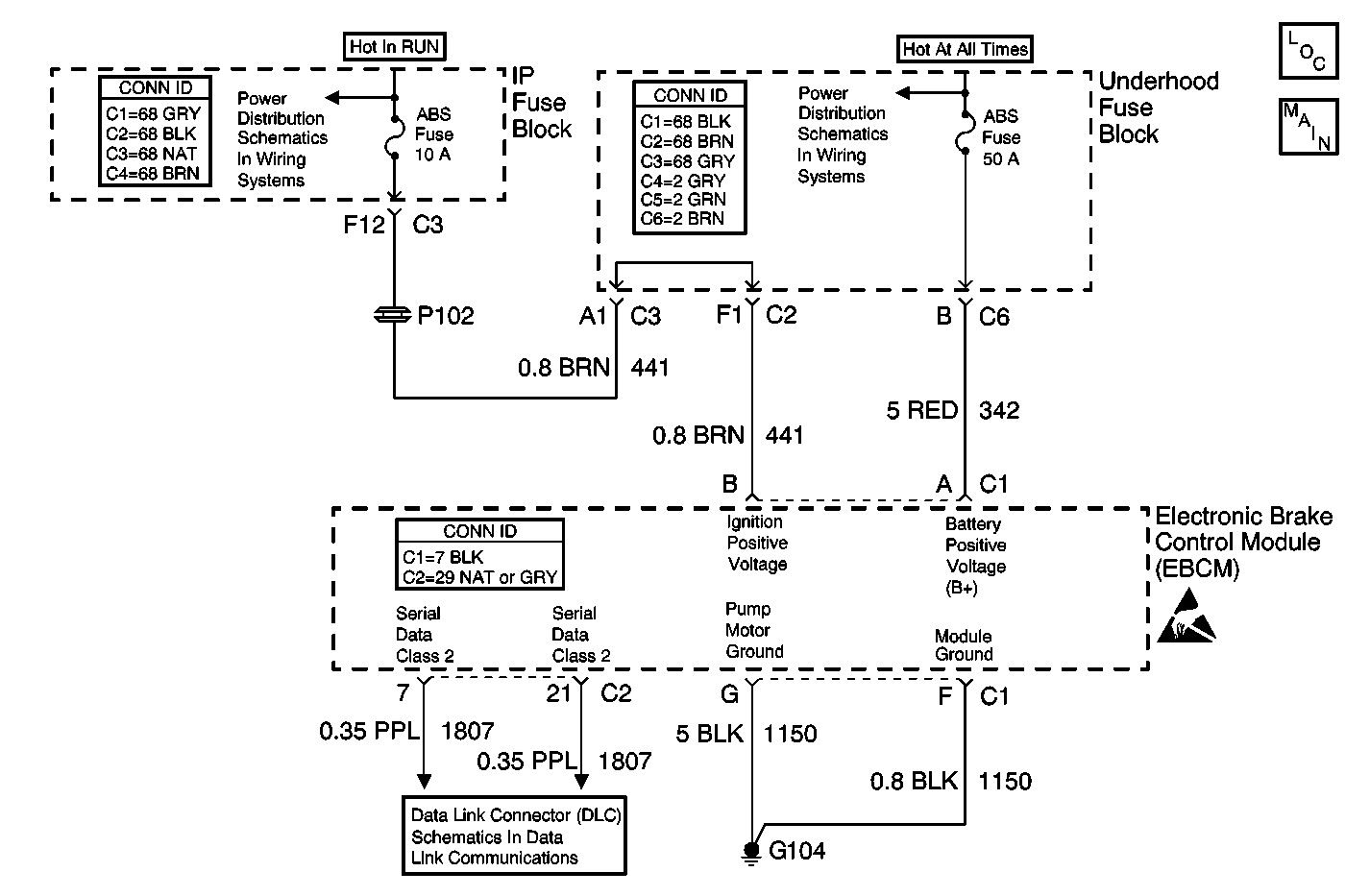
Object Number: 537972  Size: MF
ABS Components
PWR, GND, Solenoid Valves, and Pump Motor
Handling ESD Sensitive Parts Notice
Underhood Fuse Block, RUN Fuse/IP Fuse Block, RUN Fuse, IGN-3 and Run/Accessory Relays
Underhood Fuse Block and Underhood Maxi-Fuse Block
Class 2 Serial Data Line

Circuit Description

The system relay is energized when the ignition is ON. The system relay supplies voltage to the solenoid valves and the pump motor. This voltage is referred to as the system voltage.

The electronic brake control module (EBCM) controls each solenoid valve by grounding the solenoid.

The EBCM controls the pump motor by grounding the control circuit. The pump serves 2 purposes:

    • Transfers brake fluid from the brake calipers to the master cylinder reservoir during pressure decrease events.
    • Transfers brake fluid from the master cylinder reservoir to the brake calipers during pressure increase events.

Conditions for Running the DTC

    • The ignition voltage is greater than 10.5 volts.
    • The system relay is commanded ON.

Conditions for Setting the DTC

The system voltage is less than 8 volts for 0.23 seconds.

Action Taken When the DTC Sets

If equipped, the following actions occur:

    • The EBCM disables the ABS/TCS/VSES/DRP for the duration of the ignition cycle.
    • The ABS indicator turns ON.
    • The TRAC OFF indicator turns ON.
    • The DIC displays the SERVICE STABILITY SYSTEM message.
    • DTC C1248 also sets.
    • The red BRAKE warning indicator turns ON.

Conditions for Clearing the DTC

    • The condition for the DTC is no longer present and the DTC is cleared with a scan tool.
    • The electronic brake control module (EBCM) automatically clears the history DTC when a current DTC is not detected in 100 consecutive drive cycles.

Diagnostic Aids

The system relay is integral to the EBCM. The relay is not serviceable.

Test Description

The number below refer to the step number on the diagnostic table.

  1. This step determines whether the DTC is current.

Step

Action

Value(s)

Yes

No

1

Did you perform the ABS Diagnostic System Check?

--

Go to Step 2

Go to Diagnostic System Check - ABS

2

  1. Install a scan tool.
  2. Turn ON the ignition, with the engine OFF.
  3. Use the scan tool in order to clear the DTCs.
  4. With the scan tool, perform the Automated Test.

Does the DTC reset as a current DTC?

--

Go to Step 3

Go to Testing for Intermittent Conditions and Poor Connections in Wiring Systems

3

Important: Perform the setup procedure for the EBCM. An unprogrammed EBCM will result in the following conditions:

   • Inoperative or poorly function DRP/ABS/TCS/VSES/VES/TIM (if equipped)
   • Set DTC C1248 EBCM Turned the Red Brake Warning Indicator On
   • Set DTC C1255m3 EBCM Internal Malfunction

Replace the EBCM. Refer to Electronic Brake Control Module Replacement .

Did you complete the repair?

--

Go to Step 4

--

4

  1. Use the scan tool in order to clear the DTCs.
  2. With the scan tool, perform the Automated Test.

Does the DTC reset?

--

Go to Step 2

System OK