GM Service Manual Online
For 1990-2009 cars only

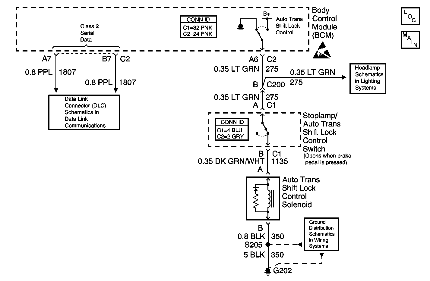
Object Number: 575465  Size: MF
Automatic Transmission Components
Auto Trans Shift Lock Control
Data Link Connector Schematics
Handling ESD Sensitive Parts Notice
Headlights Schematics
Ground Distribution Schematics

Circuit Description

The body control module (BCM) supplies voltage to the auto trans shift lock control output when the following conditions occur:

    • The ignition switch is in RUN.
    • The transaxle is in the PARK position.

While the brake pedal is pressed, the following functions occur:

    • The stoplamp/auto trans shift lock control switch opens the auto trans shift lock control circuit.
    • The shift auto trans shift lock control solenoid is disabled.

The BCM monitors the output. The BCM determines the actual voltage of the auto trans shift lock control circuit every 0.3 seconds.

Conditions for Setting the DTC

    • The BCM detects a short to ground in auto trans shift lock control circuit.
    • The condition is present for more than 0.1 seconds.

Action Taken When the DTC Sets

    • DTC B0802 stores in the BCM memory.
    • No driver warning message displays.

Conditions for Clearing the DTC

    • The BCM no longer detects a short to ground.
    • A history DTC clears after 50 consecutive ignition cycles if the condition for the malfunction is no longer present.

Test Description

The number(s) below refer to the step number(s) on the diagnostic table.

  1. Listen for an audible click when the auto trans shift lock control solenoid operates. Command both the ON and OFF states. Repeat the commands as necessary.

  2. Verifies that the Body Control Module (BCM) is providing voltage to the auto trans shift lock control solenoid.

  3. Tests for an open in the ground circuit to the auto trans shift lock control solenoid.

  4. Tests if voltage is constantly being applied to the auto trans shift lock control solenoid.

Step

Action

Value(s)

Yes

No

1

Did you perform the Auto Trans Shift Lock Control System Diagnostic System Check?

--

Go to Step 2

Go to Diagnostic System Check - Automatic Transmission Shift Lock Control

2

  1. Install a scan tool.
  2. Turn ON the ignition, with the engine OFF.
  3. With a scan tool, command the Brake to Shift Output ON and OFF.

Does the auto trans shift lock control solenoid turn ON and OFF with each command?

--

Go to Testing for Intermittent Conditions and Poor Connections in Wiring Systems.

Go to Step 3

3

  1. Turn OFF the ignition.
  2. Disconnect the auto trans shift lock control solenoid.
  3. Turn ON the ignition, with the engine OFF.
  4. Probe the control circuit of the with a test lamp connected to a good ground.
  5. With a scan tool, command the Brake to Shift Output ON and OFF.

Does the test lamp turn ON and OFF with each command?

--

Go to Step 4

Go to Step 5

4

  1. Connect a test lamp between the control circuit of the auto trans shift lock control solenoid and the ground circuit of the auto trans shift lock control solenoid.
  2. With a scan tool, command the Brake to Shift Output ON and OFF.

Does the test lamp turn ON and OFF with each command?

--

Go to Step 8

Go to Step 10

5

Does the test lamp remain illuminated with each command?

--

Go to Step 7

Go to Step 6

6

Test the control circuit of the auto trans shift lock control solenoid for a short to ground. Refer to Circuit Testing and Wiring Repairs in Wiring Systems.

Did you find and correct the condition?

--

Go to Step 13

Go to Step 9

7

Test the control circuit of the auto trans shift lock control solenoid for a short to voltage. Refer to Circuit Testing and Wiring Repairs in Wiring Systems.

Did you find and correct the condition?

--

Go to Step 13

Go to Step 9

8

Inspect for poor connections at the auto trans shift lock control solenoid. Refer to Testing for Intermittent Conditions and Poor Connections and Connector Repairs in Wiring Systems.

Did you find and correct the condition?

--

Go to Step 13

Go to Step 11

9

Inspect for poor connections at the harness connector of the BCM. Refer to Testing for Intermittent Conditions and Poor Connections and Connector Repairs in Wiring Systems.

Did you find and correct the condition?

--

Go to Step 13

Go to Step 12

10

Repair the ground circuit of the auto trans shift lock control solenoid. Refer to Wiring Repairs in Wiring Systems.

Did you complete the repair?

--

Go to Step 13

--

11

Replace the auto trans shift lock control solenoid. Refer to Automatic Transmission Shift Lock Control Disassemble - Off Vehicle and Automatic Transmission Shift Lock Control Assemble - Off Vehicle in Steering.

Did you complete the replacement?

--

Go to Step 13

--

12

Important: After replacement of the BCM perform the set up BCM procedure for the BCM. Refer to Body Control Module (BCM) Programming/RPO Configuration in Body Control System.

Replace the BCM. Refer to Body Control Module Replacement in Body Control System.

Did you complete the replacement?

--

Go to Step 13

--

13

  1. Use the scan tool in order to clear the DTCs.
  2. Operate the vehicle within the Conditions for Running the DTC as specified in the supporting text.

Does the DTC reset?

--

Go to Step 2

System OK