GM Service Manual Online
For 1990-2009 cars only

SERVICE INFO. MANUAL UPDATE SEC.1C CLIMATE CONTROL

SUBJECT: SERVICE MANUAL UPDATE SECTION 1C - CLIMATE CONTROL AND SECTION 8D2-BCM TROUBLE CODE DIAGNOSIS

MODELS/YEARS: 1991 'E' TORONADO

The attached charts will update your 1991 Toronado/Trofeo Service Manual with corrections to the wiring diagrams and trouble trees.

Following are the pages that are affected:

Compressor Won't Engage Section 1 C Pages 16-17 Compressor Always Engaged Section 1 C Pages 18-19 Codes B446, B447, and B448 Section 8D2 Pages 60-63

Please mark a reference to this bulletin in your copy of the 1991 Toronado Service Manual at each affected page.

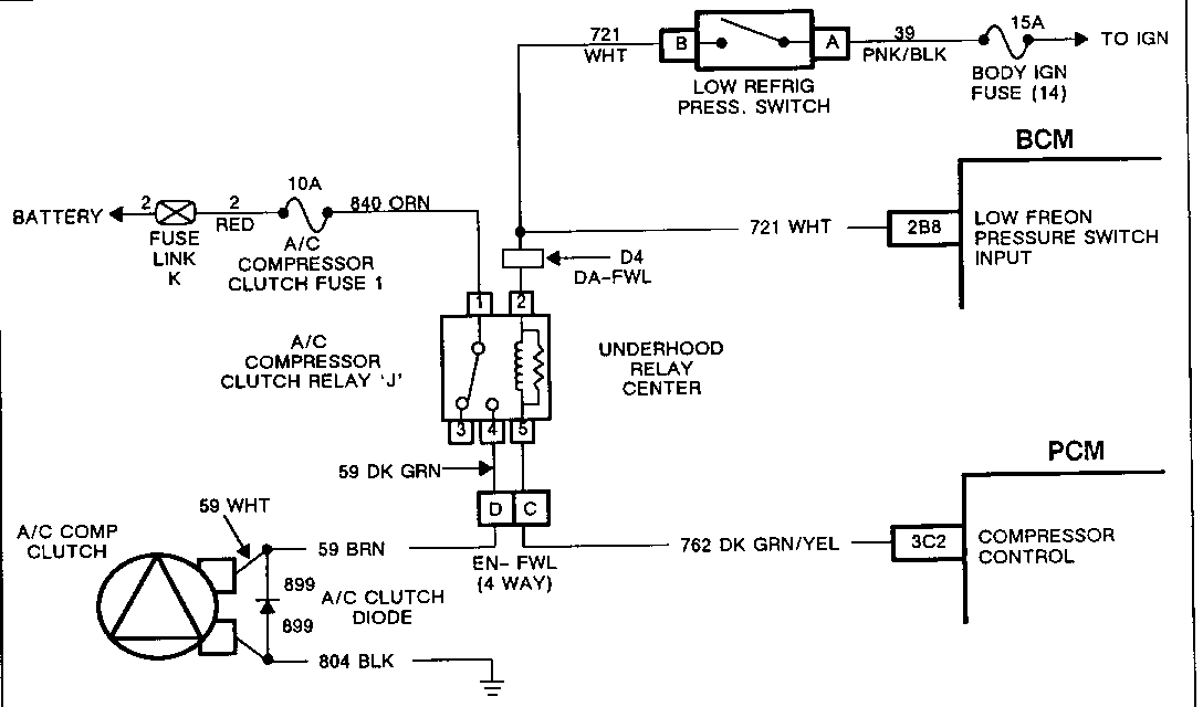
COMPRESSOR WON'T ENGAGE

CIRCUIT DESCRIPTION

The compressor clutch coil is supplied battery voltage through a fusible link. The clutch relay is switched by the 15 amp body ignition fuse through a relay, which is grounded by the PCM. The low refrigerant pressure switch must be closed.

TEST DESCRIPTION

Number(s) below refer to circled number(s) on the diagnostic chart.

1. Checks to see that the A/C clutch relay cycles properly.

2. Checks to see if the fault is in the relay.

3. Checks to see if the fault is in the feed to the relay.

4 . Checks to see if the fault is the feed the clutch.

5. Checks to see if fault is in compressor clutch or in circuit ground.

6. Checks to see fault is due to defective relay.

7. Checks to see if fault is due to circuits providing clutch its power and ground.

COMPRESSOR ALWAYS ENGAGED

CIRCUIT DESCRIPTION

CHART 2 is used whenever the A/C compressor remains engaged when 'OFF' mode is selected on the ECC.

TEST DESCRIPTION

Number(s) below refer to circled number(s) on the diagnostic chart.

1. Checks to see if fault is due to defective relay or relay circuit.

2. Checks to see if fault is within relay.

3. Checks for faulty PCM or short to ground at relay output.

4. Checks to see if fault is due to A/C compressor clutch or if feed circuit to compressor clutch is shorted to voltage.

CODES B446, B447 AND B448 REFRIGERANT SYSTEM PROBLEM

CIRCUIT DESCRIPTION

The BCM monitors certain system inputs for an indication of low refrigerant charge. If the system refrigerant state of charge should fall below approximately one third its capacity, the BCM is capable of detecting this condition and will display a 'LOW A/C REFRIGERANT' or 'VERY LOW A/C REFRIGERANT - A/C COMP DISENGAGED' message to warn the driver. The BCM determines the state of charge by its low side temperature sensor and the low refrigerant pressure switch. Since temperature and pressure are proportionally related in the A/C system, a low temperature is the same as low pressure. In addition to the message, the BCM will store in memory a diagnostic Code B446, B447 or B448 to indicate that a low refrigerant condition was detected.

Code B446 will set if the low side temperature drops too quickly during compressor engagement. Code B447 will set if the low side temperature drops much too quickly during compressor engagement or the low refrigerant pressure switch opens during compressor engagement. Code B448 will set if the lo refrigerant pressure switch remains open for more than 3 minutes.

TEST DESCRIPTION

Numbers below refer to circled numbers on the diagnostic chart.

1. BCM input value BI08 displays the voltage state of the circuit at the BCM.

2. Checks to see if the open circuit reading is due to the circuit or the switch.

3. Checks to see if the fault is on the ignition side or the BCM side of the switch circuit.

4. This step checks to see if the fault is due to the pressure switch or a low refrigerant charge.

CODES B446, B447 AND B448

CIRCUIT DESCRIPTION

It has been determined from the previous chart that the problem is not in the low refrigerant pressure switch circuit.

TEST DESCRIPTION

Numbers below refer to circled numbers on the diagnostic chart.

1. This is a test to determine if the A/C low refrigerant pressure switch opens while the compressor is running. If B108 remains 'HI' during compressor engagement, then the system fault is due to the refrigerant. See Section 1B

2. This checks if the switch is opening due to low refrigerant pressure charge or the switch.

NOTES ON INTERMITTENTS

If Codes B446 and B447 are both set, check low, side temperature sensor and circuitry. If OK, evacuate and recharge system.

If Codes B447 and/or B448 are both set, check the low refrigerant pressure switch and circuitry.


Object Number: 82547  Size: FS


Object Number: 83886  Size: FS


Object Number: 83885  Size: FS


Object Number: 83884  Size: FS


Object Number: 83883  Size: FS


Object Number: 82546  Size: FS


Object Number: 83882  Size: FS


Object Number: 85064  Size: FS

General Motors bulletins are intended for use by professional technicians, not a "do-it-yourselfer". They are written to inform those technicians of conditions that may occur on some vehicles, or to provide information that could assist in the proper service of a vehicle. Properly trained technicians have the equipment, tools, safety instructions and know-how to do a job properly and safely. If a condition is described, do not assume that the bulletin applies to your vehicle, or that your vehicle will have that condition. See a General Motors dealer servicing your brand of General Motors vehicle for information on whether your vehicle may benefit from the information.