GM Service Manual Online
For 1990-2009 cars only

Exhaust System Replacement LE5/U24XE

Removal Procedure

Warning: Refer to Exhaust Service Warning in the Preface section.

Warning: Refer to Protective Goggles and Glove Warning in the Preface section.

  1. Raise and support the vehicle. Refer to Lifting and Jacking the Vehicle.

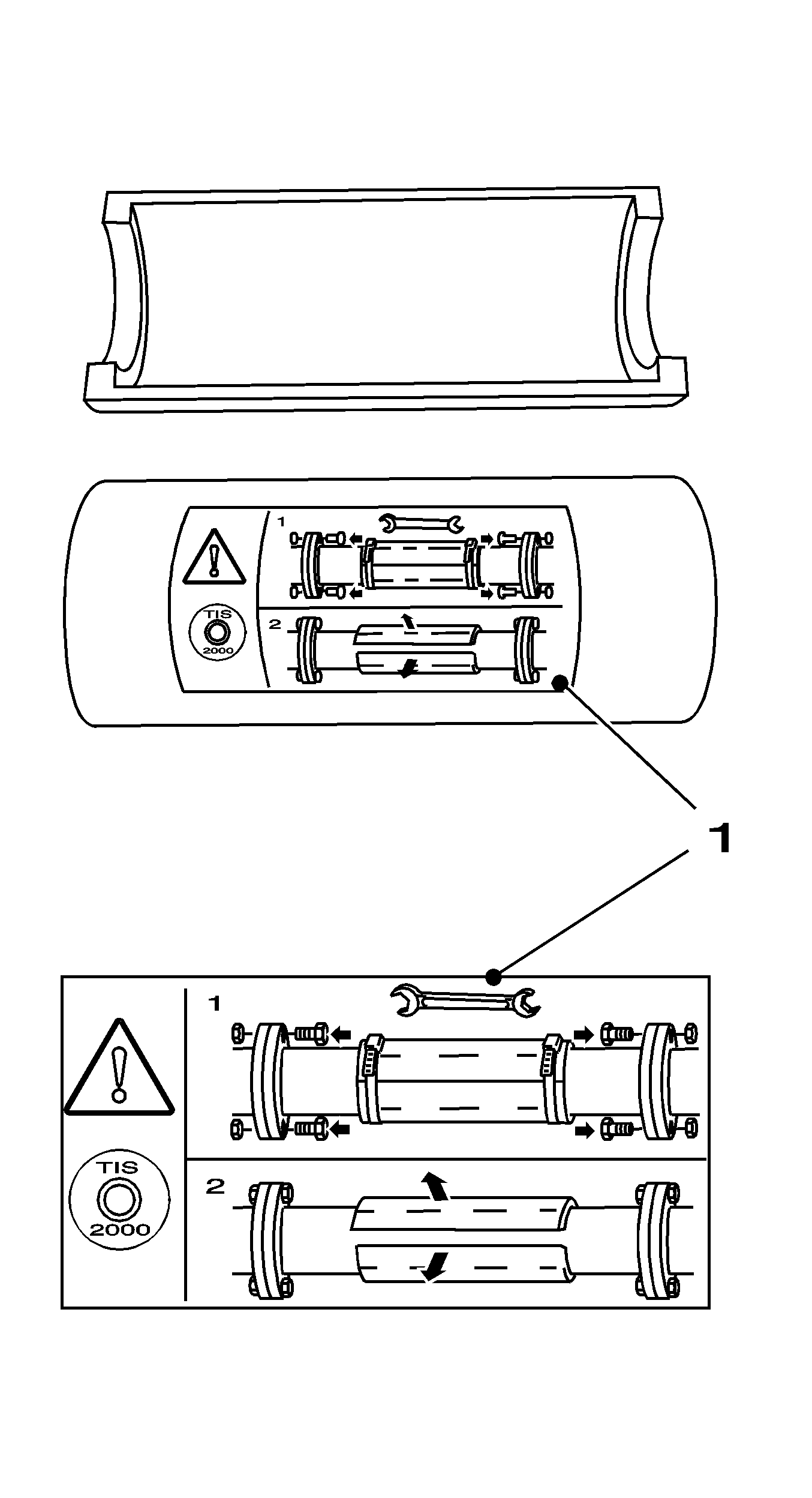
  2. Object Number: 1936302  Size: LH
  3. Install the shipping fastening (1) to the flex pipe.
  4. Note: To prevent internal damage to the flexible coupling of the catalytic converter assembly, the converter must be supported. The vertical movement at the rear of the catalytic converter assembly must not exceed 6 degrees up or down.

    Note: The fastening clips of the exhaust system should be replaced every time that they are loosened. When replacing the exhaust system, the shipping fastening should only be removed after installation and before starting the engine. The shipping fastening should be removed for other operations in which the exhaust system has to be removed, stored and used to secure the flex pipe.

  5. Install the shipping fastening (1) to the flex pipe.

  6. Object Number: 2156604  Size: SH
  7. Disconnect the electrical connector from the heated oxygen sensor 2 (1). Refer to Heated Oxygen Sensor 2 Replacement.
  8. Remove the exhaust front pipe from the catalytic converter.

  9. Object Number: 1937693  Size: SH
  10. Remove the three nuts (1) from the exhaust front pipe.

  11. Object Number: 772383  Size: SH
  12. Remove the floor panel tunnel brace bolts.
  13. With the aid of an assistant, lower the exhaust system from the vehicle.

  14. Object Number: 2156605  Size: SH
  15. Remove the exhaust system (1) from the bracket in 3 places (2).
  16. Remove the heated oxygen sensor 2 of the catalytic converter monitoring device. Refer to Heated Oxygen Sensor 2 Replacement.

Installation Procedure

Caution: Refer to Fastener Caution in the Preface section.

  1. Install the heated oxygen sensor 2 of the catalytic converter monitoring device. Refer to Heated Oxygen Sensor 2 Replacement.
  2. With the aid of an assistant, install the exhaust system to the vehicle.

  3. Object Number: 2156605  Size: SH
  4. Install the exhaust system (1) to the bracket in 3 places (2).

  5. Object Number: 772383  Size: SH
  6. Install the floor panel tunnel brace bolts.
  7. Tighten
    to 25 N·m (18 lb ft).

  8. Install the exhaust front pipe to the catalytic converter.

  9. Object Number: 1937693  Size: SH
  10. Install the three nuts (1) to the exhaust front pipe.

  11. Object Number: 1936302  Size: LH
  12. Remove the shipping fastening (1) from the flex pipe.

  13. Object Number: 2156604  Size: SH
  14. Connect the electrial connector to the heated oxygen sensor 2 (1). Refer to Heated Oxygen Sensor 2 Replacement.
  15. Lower the vehicle.

Exhaust System Replacement LE5/U20XE

Removal Procedure

Warning: Refer to Exhaust Service Warning in the Preface section.

Warning: Refer to Protective Goggles and Glove Warning in the Preface section.

  1. Raise and support the vehicle. Refer to Lifting and Jacking the Vehicle.

  2. Object Number: 1936302  Size: LH
  3. Install the shipping fastening (1) to the flex pipe.
  4. Note: To prevent internal damage to the flexible coupling of the catalytic converter assembly, the converter must be supported. The vertical movement at the rear of the catalytic converter assembly must not exceed 6 degrees up or down.

    Note: The fastening clips of the exhaust system should be replaced every time that they are loosened. When replacing the exhaust system, the shipping fastening should only be removed after installation and before starting the engine. The shipping fastening should be removed for other operations in which the exhaust system has to be removed, stored and used to secure the flex pipe.

  5. See assembly instruction (1) on the shipping fastening.

  6. Object Number: 2156604  Size: SH
  7. Disconnect the electrical connector from the heated oxygen sensor 2 (1). Refer to Heated Oxygen Sensor Replacement - Sensor 2.
  8. Remove the exhaust front pipe from the catalytic converter.

  9. Object Number: 1937693  Size: SH
  10. Remove the three nuts (1) from the exhaust front pipe.

  11. Object Number: 772383  Size: SH
  12. Remove the floor panel tunnel brace bolts.
  13. With the aid of an assistant, lower the exhaust system from the vehicle.

  14. Object Number: 2156606  Size: SH
  15. Remove the exhaust system (1) from the bracket in 3 places (2).
  16. Remove the heated oxygen sensor 2 of the catalytic converter monitoring device. Refer to Heated Oxygen Sensor Replacement - Sensor 2.

Installation Procedure

Caution: Refer to Fastener Caution in the Preface section.

  1. Install the heated oxygen sensor 2 of the catalytic converter monitoring device. Refer to Heated Oxygen Sensor Replacement - Sensor 2.
  2. With the aid of an assistant, install the exhaust system to the vehicle.

  3. Object Number: 2156606  Size: SH
  4. Install the exhaust system (1) to the bracket in 5 places (2).

  5. Object Number: 772383  Size: SH
  6. Install the floor panel tunnel brace bolts.
  7. Tighten
    to 25 N·m (18 lb ft).

  8. Install the exhaust front pipe to the catalytic converter.

  9. Object Number: 1937693  Size: SH
  10. Install the three nuts (1) to the exhaust front pipe.

  11. Object Number: 1936302  Size: LH
  12. Remove the shipping fastening (1) from the flex pipe.

  13. Object Number: 2156604  Size: SH
  14. Connect the electrical connector to the heated oxygen sensor 2 (1). Refer to Heated Oxygen Sensor Replacement - Sensor 2.
  15. Lower the vehicle.