GM Service Manual Online
For 1990-2009 cars only
Figure 1:

Power, Ground, Headlamp Switch and Radio


Object Number: 486321  Size: FS
Fuse Block and Rear Lights
Handling ESD Sensitive Parts Notice
Fuse Block, BCM, Cluster, Radio and DLC
Fuse Block, BCM, Cluster, Radio and DLC
Fuse Block, UAWJB Radio and Cluster
Handling ESD Sensitive Parts Notice
HVAC Control Assembly, Cluster and Radio
Handling ESD Sensitive Parts Notice
Entertainment Components
Radio/Audio System Description
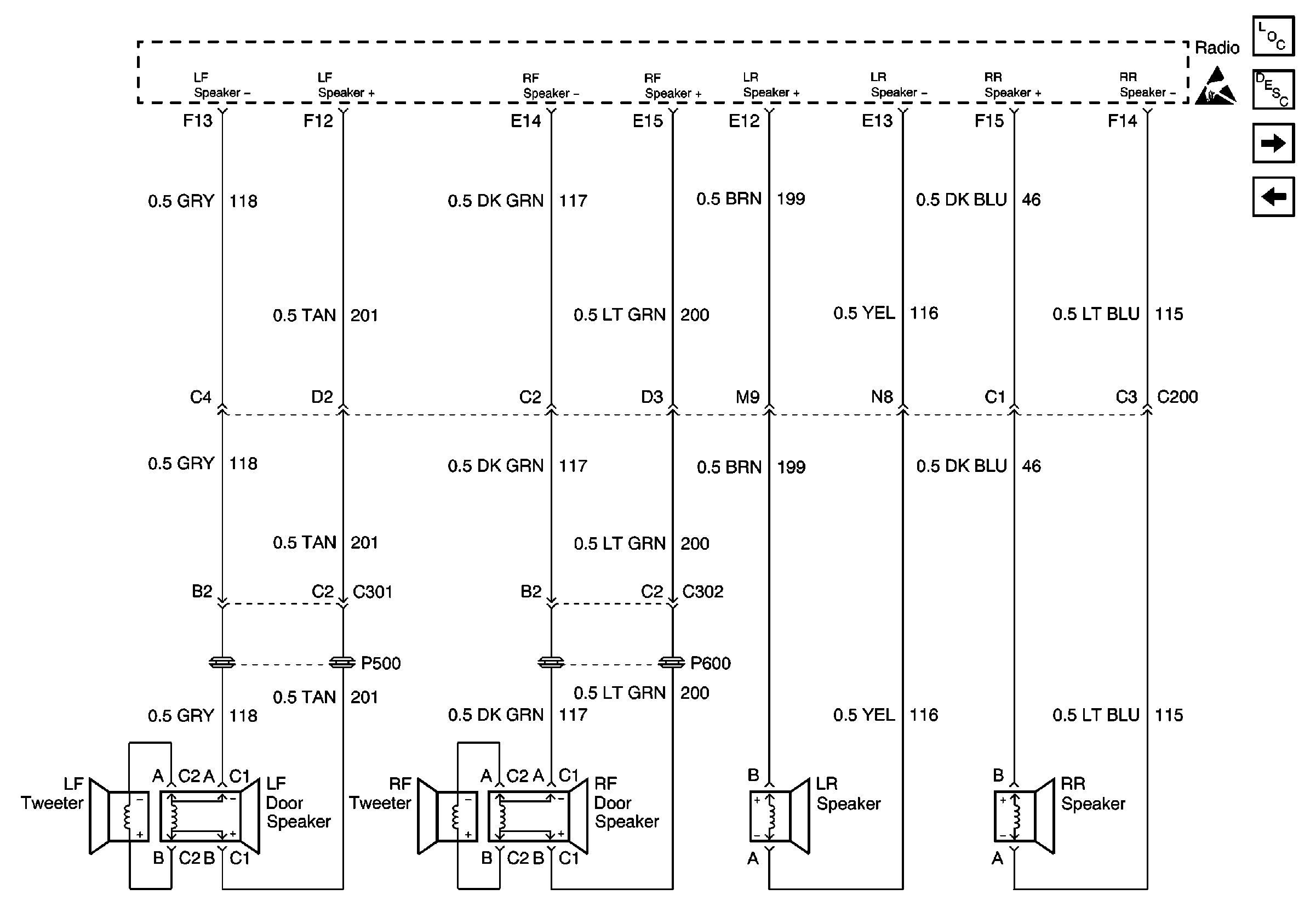
Speaker System RPO UQ3
Figure 2:

Speaker System RPO UQ3


Object Number: 486323  Size: FS
Handling ESD Sensitive Parts Notice
Entertainment Components
Radio/Audio System Description
Rear Window Antenna and Radio Antenna Module
Power, Ground, Headlamp Switch and Radio
Figure 3:

Rear Window Antenna and Radio Antenna Module


Object Number: 486326  Size: FS
Handling ESD Sensitive Parts Notice
Handling ESD Sensitive Parts Notice
Entertainment Components
Radio/Audio System Description
Power, Ground and Radio Control Switch (Rear)
Speaker System RPO UQ3
Figure 4:

Power, Ground and Radio Control Switch (Rear)


Object Number: 486328  Size: FS
Headlamp Switch, Cluster, HVAC, Rear Radio Control Module, Electronic Traction Control and Fog Lamp Assembly
G200 ( 2 of 2)
G200 ( 1 of 2)
G200 ( 1 of 2)
Handling ESD Sensitive Parts Notice
Handling ESD Sensitive Parts Notice
Entertainment Components
Radio/Audio System Description
Rear Window Antenna and Radio Antenna Module