GM Service Manual Online
For 1990-2009 cars only

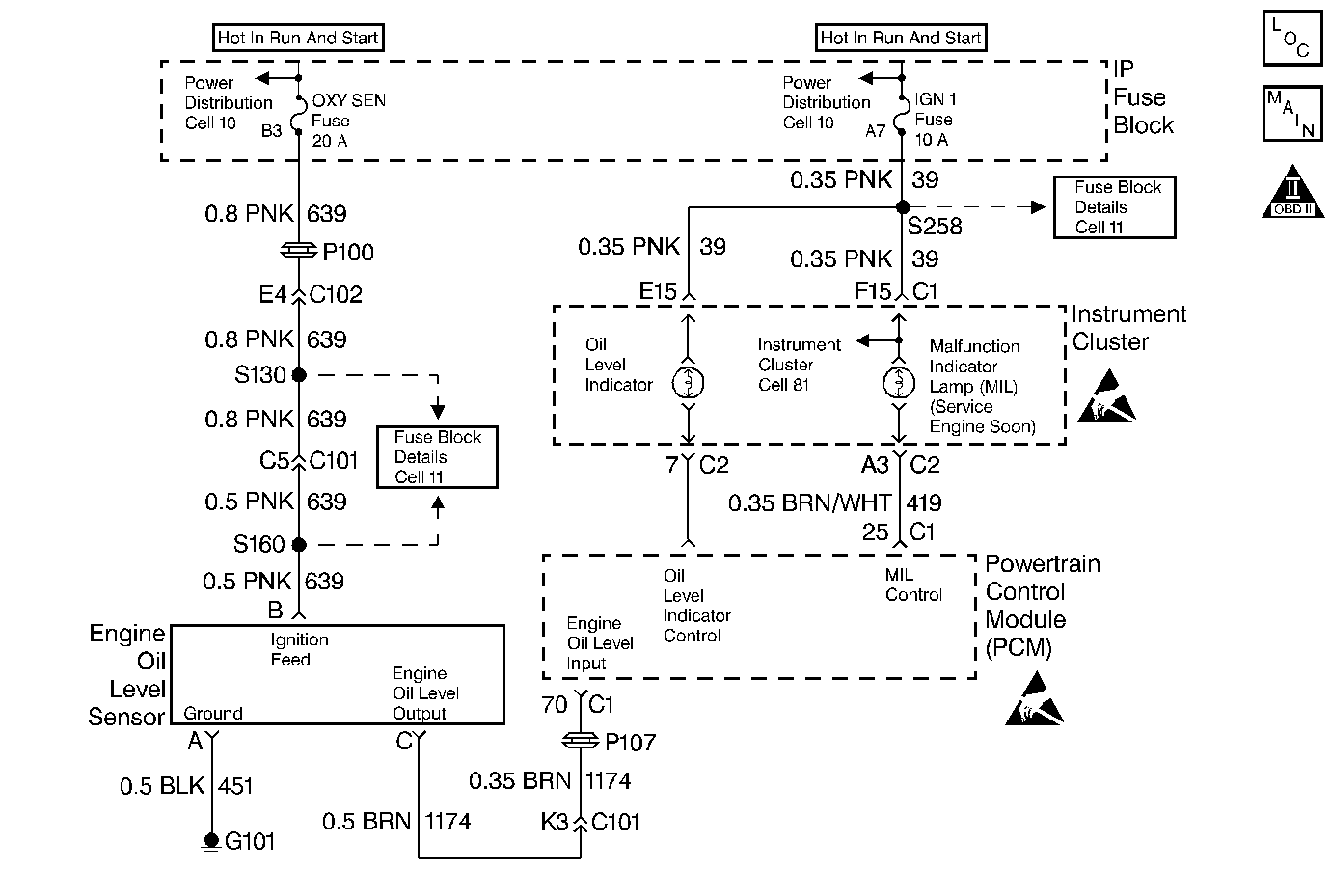
Object Number: 12296  Size: MF
Engine Controls Components
Mil Control, Data Link Connector
OBD II Symbol Description Notice
Handling ESD Sensitive Parts Notice
Handling ESD Sensitive Parts Notice

Circuit Description

The PCM performs a test routine based on time and engine coolant temperature to ensure that the engine oil has drained back into the sump. To test for low oil level at startup, one of the following conditions must be present:

    • If the engine coolant temperature was between 15°C (59°F) and 90°C (194°F) at the last key OFF, the engine coolant temperature at key ON must be at least 12°C (22°F) cooler than the engine coolant temperature at the last key OFF.
    • If the engine coolant temperature was higher than 90°C (194°F) at the last key OFF, the time between last key OFF and the present key ON must be sufficient to allow the oil to drain back to the sump. The PCM will remain powered up for 10 seconds to ensure that the oil has drained back to the sump. If the key is turned back ON while the PCM is still powered up, the oil level will not be tested.

The oil level is determined by an optical sensor which detects oil level immediately upon powerup. While the engine oil level sensor is determining oil level, the sensor holds the state of the engine oil level signal at ignition voltage. The amount of time the engine oil level sensor requires to determine oil level is about 1.5 seconds. After the engine oil level has been determined, the engine oil level sensor will ground the engine oil level signal for 1 to 2 seconds if oil level is OK or 6 to 10 seconds if oil level is low. The PCM determines oil level based on the engine oil level signal duration. The PCM also monitors the engine oil level signal to determine whether the engine oil level PCM input circuit is open or shorted.

The Low Oil Level Lamp will be illuminated for about a minute after the ignition has been turned ON when the PCM tests for low oil level and the engine oil level sensor indicates that a low oil level condition exists. The PCM determines whether or not to test for low oil level based on the difference between engine coolant temperature at the last shutdown and engine coolant temperature at startup. This is to ensure that the oil has drained back into the sump before testing. When the ignition is first turned ON, the PCM commands the Low Oil Level lamp ON for a brief period of time to test the bulb.

Diagnostic Aids

For diagnosis of the instrument panel, perform the System Check in the Instrument Cluster section of Electrical Diagnosis.

Check for the following conditions:

    • Poor connection at PCM or oil level sensor. Inspect harness connectors for backed out terminals, improper mating, broken locks, improperly formed or damaged terminals, and poor terminal to wire connection.
    • Damaged harness. Inspect the wiring harness for damage. If the harness appears to be OK, disconnect the PCM and turn the ignition ON. Observe a voltmeter connected to the affected PCM circuit while moving connectors and wiring harnesses related to the PCM circuit. A change in voltage will indicate the location of the fault.

Test Description

Number(s) below refer to the step number(s) on the Diagnostic Chart.

  1. This vehicle is equipped with a PCM which utilizes an Electrically Erasable Programmable Read Only Memory (EEPROM). When the PCM is being replaced, the new PCM must be programmed.

Engine Oil Level Sensor Diagnosis

Step

Action

Value(s)

Yes

No

1

Was the Powertrain On-Board Diagnostic (OBD) System Check performed?

--

Go to Step 2

Go to the Powertrain On Board Diagnostic (OBD) System Check

2

Important: Ensure that engine oil level is not low (as indicated on the dipstick) before continuing diagnosis.

Was the low oIl level lamp circuit checked using PCM Controlled Lamps Diagnosis?

--

Go to Step 3

Go to Powertrain Control Module Controlled Warning Lamps Diagnosis

3

  1. Disconnect the engine oil level sensor electrical connector.
  2. Turn ON the ignition switch.
  3. Probe the ignition feed circuit at the engine oil level sensor harness connector with a test light to ground.

Is the test light ON?

--

Go to Step 4

Go to Step 9

4

Connect the test light between the ignition feed circuit and the ground circuit at the engine oil level sensor harness connector.

Is the test light ON?

--

Go to Step 5

Go to Step 10

5

Connect a J 39200 Digital Multimeter to measure voltage between the engine oil level input circuit and ground.

Does voltage measure the specified value?

B+

Go to Step 6

Go to Step 7

6

  1. Turn OFF the ignition switch.
  2. Reconnect the engine oil level sneosr.
  3. Disconnect the PCM.
  4. Connect the Digital Miltimeter to monitor voltage between the engine oil level input circuit at the PCM connector and B+.
  5. Observe the voltage while turning ON the ignition switch.

Did the voltage remain at the specified value for more than 2 seconds?

--

B+

Go to Step 11

Go to Step 8

7

  1. Turn OFF the ignition switch.
  2. Disconnect the PCM.
  3. Turn ON the ignition switch.
  4. Check the engine oil level input circuit for an open, short to ground, or short to voltage.
  5. If a problem is found, repair as necessary. Refer to Repair Procedures in Electrical Diagnosis.

Was a problem found?

--

Go to Step 14

Go to Step 12

8

  1. Disconnect the engine oil level sensor.
  2. Check the engine oil level input circuit for a short to B+.
  3. If a problem is found, repair as necessary. Refer to Repair Procedures in Electrical Diagnosis.

Was a problem found?

--

Go to Step 14

--

Refer to Diagnostic Aids

9

Locate and repair open in the ignition feed circuit to engine oil level sensor. Refer to Repair Procedures in Electrical Diagnosis.

Is action complete?

--

Go to Step 14

--

10

Locate and repair open in the ground circuit to engine oil level sensor. Refer to Repair Procedures in Electrical Diagnosis.

Is action complete?

--

Go to Step 14

--

11

Replace engine oil level sensor. Go to Engine Oil Level Sensor .

Is action complete?

Go to Step 14

12

  1. Check for poor connections at the PCM.
  2. If a problem is found, repair as necessary. Refer to Repair Procedures in Electrical Diagnosis.

Was a problem found?

Go to Step 14

Go to Step 13

13

Replace the PCM. Go to Powertrain Control Module Replacement/Programming .

Is action complete?

Go to Step 14

14

  1. Turn ON the ignition switch.
  2. Observe the low oil level lamp.

Does the low oil level lamp remain OFF after a 3 second bulb check?

System OK

Go to Step 2