GM Service Manual Online
For 1990-2009 cars only
Figure 1:

Cell 133: IP Fuse Block


Object Number: 481641  Size: FS
Theft Deterrent System Component Views
Vehicle Theft Deterrent (VTD)Circuit Description
Cell 133: Ignition Switch
Cell 14: G201 (2 of 2)
Handling ESD Sensitive Parts Notice
Cell 10: PCM/VATS and BOSE Fuses
Cell 10: PCM, DIS, and FOG LAMPS Fuses
Cell 10: PCM, DIS, and FOG LAMPS Fuses
Cell 10: PCM/VATS and BOSE Fuses
Cell 10: PCM and MAF Fuses
Figure 2:

Cell 133: Ignition Switch


Object Number: 481647  Size: FS
Theft Deterrent System Component Views
Vehicle Theft Deterrent (VTD)Circuit Description
Cell 133: Powertrain Control Module (PCM)
Cell 133: IP Fuse Block
Cell 10: IGN 3 Fuse, Ignition Switch (Oldsmobile)
Cell 10: RADIO and CRANK Fuses
Handling ESD Sensitive Parts Notice
Handling ESD Sensitive Parts Notice
Figure 3:

Cell 133: Powertrain Control Module (PCM)


Object Number: 481671  Size: FS
Theft Deterrent System Component Views
Vehicle Theft Deterrent (VTD)Circuit Description
Cell 133: Ignition Switch
Cell 133: Lamp Control Module (LCM)
Handling ESD Sensitive Parts Notice
Cell 10: CHIME (IGN 1) Fuse (Buick)
Cell 10: IP 1 Fuse (Buick)
Handling ESD Sensitive Parts Notice
Cell 10: IP 1 Fuse (Buick)
Cell 10: CHIME (IGN 1) Fuse (Buick)
Cell 132: RFA Module Inputs and Outputs
Cell 14: G302 (1 of 2)
Cell 14: G306 and G302 (2 of 2)
Figure 4:

Cell 133: Lamp Control Module (LCM)


Object Number: 481673  Size: FS
Theft Deterrent System Component Views
Vehicle Theft Deterrent (VTD)Circuit Description
Cell 133: Content Theft Deterrent System (UA6)
Cell 133: Powertrain Control Module (PCM)
Handling ESD Sensitive Parts Notice
Handling ESD Sensitive Parts Notice
Cell 14: G201 (1 of 2)
(Cell 40)
Cell 14: G201 (2 of 2)
Figure 5:

Cell 133: Content Theft Deterrent System (UA6)


Object Number: 481685  Size: FS
Vehicle Theft Deterrent (VTD)Circuit Description
Cell 133: Security Indicator
Cell 133: Lamp Control Module (LCM)
Cell 76: Remote Function Actuator (RFA) Module
Handling ESD Sensitive Parts Notice
Theft Deterrent System Component Views
Cell 14: G201 (1 of 2)
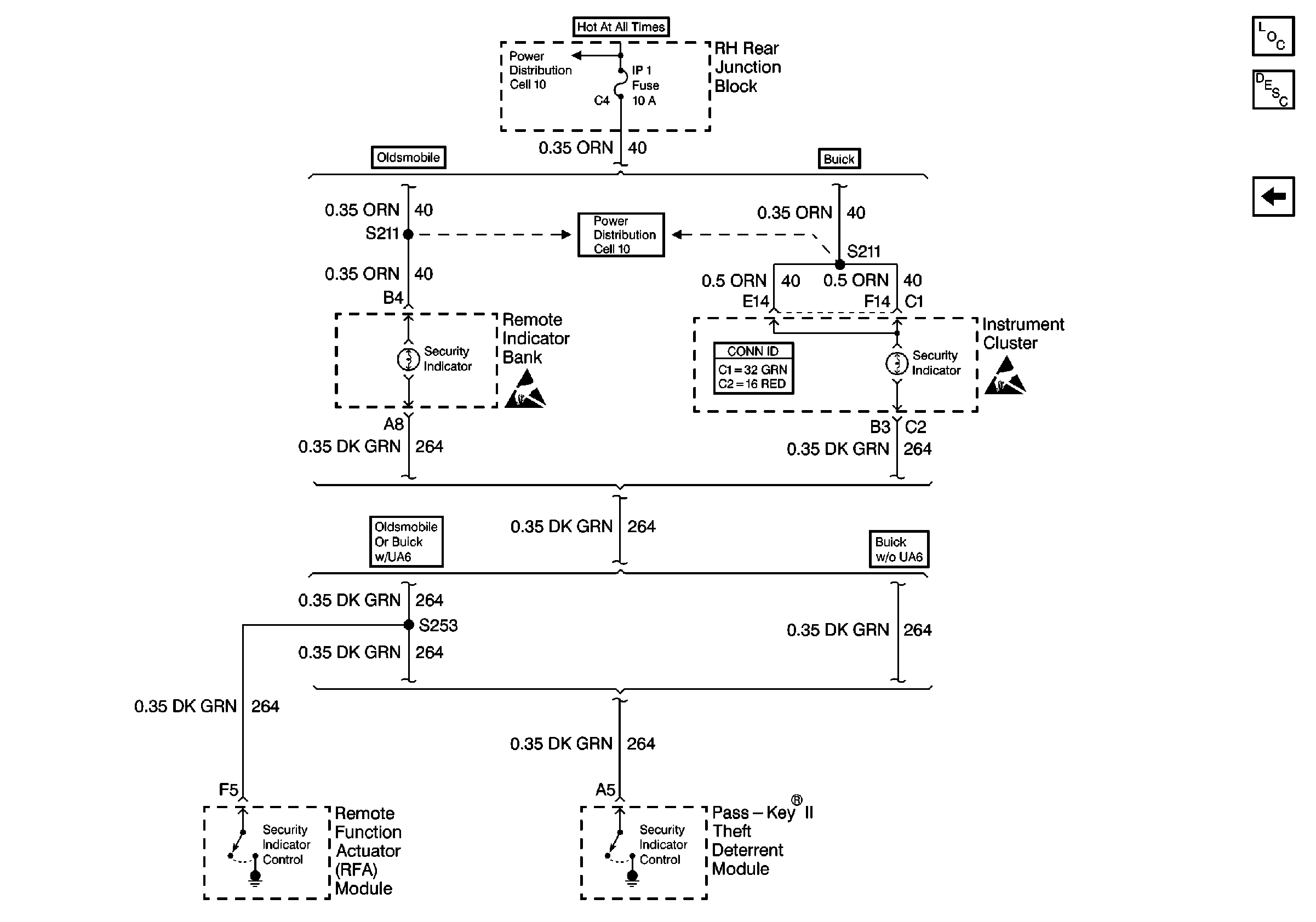
Figure 6:

Cell 133: Security Indicator


Object Number: 481687  Size: FS
Theft Deterrent System Component Views
Vehicle Theft Deterrent (VTD)Circuit Description
Cell 133: Content Theft Deterrent System (UA6)
Handling ESD Sensitive Parts Notice
Handling ESD Sensitive Parts Notice
Cell 10: IP 1 Fuse (1 of 2) (Oldsmobile)
Theft Deterrent System Connector End Views
Cell 10: IP 1 Fuse (Buick)