GM Service Manual Online
For 1990-2009 cars only
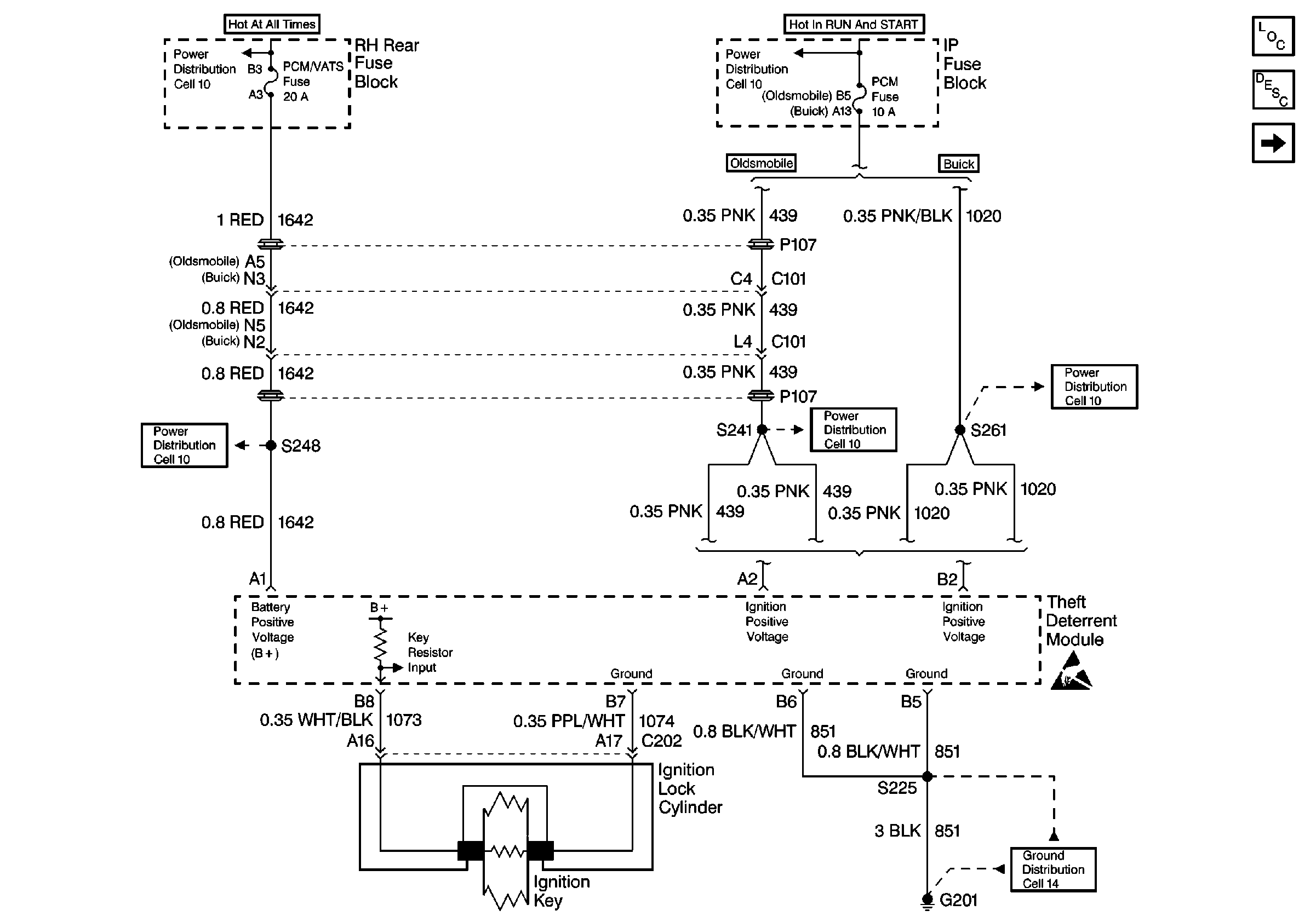
Figure 1:

Cell 133: IP Fuse Block


Object Number: 341941  Size: FS
Theft Deterrent System Component Views
Vehicle Theft Deterrent (VTD) Description
Cell 133: Ignition Switch
Cell 14: G201 (2 of 2)
Handling ESD Sensitive Parts Notice
Cell 10: PCM/VATS Fuse and BOSE® Fuse
Cell 10: PCM Fuse, DIS Fuse, and FOG LAMPS Fuse (Oldsmobile)
Cell 10: PCM Fuse, DIS Fuse, and FOG LAMPS Fuse (Oldsmobile)
Cell 10: PCM/VATS Fuse and BOSE® Fuse
Cell 10: PCM Fuse and MAF Fuse (Buick)
Figure 2:

Cell 133: Ignition Switch


Object Number: 341943  Size: FS
Theft Deterrent System Component Views
Vehicle Theft Deterrent (VTD) Description
Cell 133: Powertrain Control Module (PCM)
Cell 133: IP Fuse Block
Cell 10: IGN 3 Fuse, Ignition Switch (Buick)
Cell 10: RADIO Fuse and CRANK Fuse
Handling ESD Sensitive Parts Notice
Handling ESD Sensitive Parts Notice
Cell 10: RADIO Fuse and CRANK Fuse
Figure 3:

Cell 133: Powertrain Control Module (PCM)


Object Number: 341945  Size: FS
Theft Deterrent System Component Views
Vehicle Theft Deterrent (VTD) Description
Cell 133: Ignition Switch
Cell 133: Lamp Control Module (LCM)
Handling ESD Sensitive Parts Notice
Cell 10: CHIME(IGN 1) Fuse (Oldsmobile)
Cell 10: IP 1 Fuse (1 of 2) (Oldsmobile)
Handling ESD Sensitive Parts Notice
Cell 10: IP 1 Fuse (Buick)
Cell 10: CHIME(IGN 1) Fuse (Buick)
Cell 14: G302 (1 of 2)
Cell 132: RFA Module Input and Output Functions
Figure 4:

Cell 133: Lamp Control Module (LCM)


Object Number: 341948  Size: FS
Theft Deterrent System Component Views
Vehicle Theft Deterrent (VTD) Description
Cell 133: Content Theft Deterrent System (UA6)
Cell 133: Powertrain Control Module (PCM)
Handling ESD Sensitive Parts Notice
Handling ESD Sensitive Parts Notice
Cell 14: G201 (1 of 2)
Cell 14: G201 (2 of 2)
Cell 40: Horns
Figure 5:

Cell 133: Content Theft Deterrent System (UA6)


Object Number: 341952  Size: FS
Vehicle Theft Deterrent (VTD) Description
Cell 133: Security Indicator
Cell 133: Lamp Control Module (LCM)
Cell 76: Remote Function Actuator (RFA) Module
Handling ESD Sensitive Parts Notice
Theft Deterrent System Component Views
Cell 14: G201 (1 of 2)
Figure 6:

Cell 133: Security Indicator


Object Number: 341954  Size: FS
Theft Deterrent System Component Views
Vehicle Theft Deterrent (VTD) Description
Cell 133: Content Theft Deterrent System (UA6)
Handling ESD Sensitive Parts Notice
Handling ESD Sensitive Parts Notice
Cell 10: IP 1 Fuse (1 of 2) (Oldsmobile)
Cell 10: IP 1 Fuse (Buick)
Cell 10: IP 1 Fuse (Buick)