GM Service Manual Online
For 1990-2009 cars only

The exhaust gas recirculation (EGR) system is used to lower Nox (Oxides of Nitrogen) emission levels that are caused by high combustion temperatures and excessive oxygen. The valve does this by decreasing combustion temperature and displacing oxygen.

The main element of the system is the EGR. The valve is mounted on the intake manifold. The is operated by engine vacuum.

The EGR valve feeds small amounts of exhaust gas back into the combustion chamber.

EGR Flow


Object Number: 13637  Size: SH
(1)EGR Valve
(2)Exhaust Gas
(3)Intake Air
(4)Ported Vacuum

The EGR valve is opened by vacuum to let exhaust gas flow into the intake manifold. The exhaust gas then moves with the air/fuel mixture into the combustion chamber. If a large amount of exhaust gas enters the combustion chamber, combustion will not occur. For this reason, very little exhaust gas is allowed to pass through the EGR valve. The EGR valve is usually open during warm engine operation when the vehicle is above idle speed.

The EGR vacuum control has a vacuum solenoid valve that is controlled by pulse width modulation. This means the PCM turns the solenoid valve ON and OFF many times a second and varies the amount of ON time to vary the amount of vacuum applied to the EGR valve.

The PCM uses information from the following sensors/inputs to regulate the EGR solenoid valve:

    • ECT sensor
    • MAP sensor
    • RPM
    • TP sensor
    • IAT sensor
    • VSS
    • Negative backpressure EGR valves will have a N stamped on the top side of the valve after the part number.
    • Positive backpressure EGR valves will have a P stamped on the top side of the valve after the part number.
    • Port EGR valves have no identification stamped after the part number.

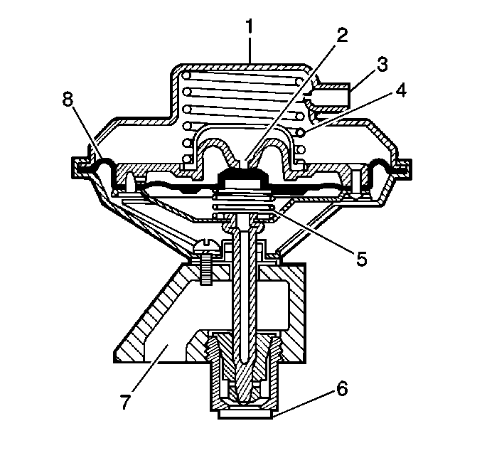
Negative Backpressure EGR Valve


Object Number: 13573  Size: SH
(1)EGR Valve
(2)Air Bleed Hole
(3)Vacuum Port
(4)Large Spring
(5)Small Spring
(6)Exhaust Gas
(7)Intake Air
(8)Diaphragm

The EGR valve used on this engine is a negative backpressure valve. It varies the amount of exhaust gas flow into the manifold depending on the manifold vacuum and variations in the exhaust backpressure.

The diaphragm on this EGR valve has an internal vacuum bleed hole which is held closed by a small spring when there is no exhaust backpressure. The amount of vacuum to the valve is controlled by an PCM controlled solenoid valve.

Engine vacuum opens the EGR valve against the pressure of a large spring. When vacuum combines with negative exhaust backpressure, the vacuum bleed hole opens and the EGR valve closes.

The following DTCs will diagnose the EGR system:

    • DTC P0400-EGR System
    • DTC P0403-EGR Solenoid Control Circuit

Too much EGR flow dilutes the fresh intake air/fuel mixture causing the engine to operate roughly or stall. With to much flow (at idle, cruise, or cold operation) tends to weaken combustion and may result in any of the following conditions:

    • Engine stops after cold start.
    • Engine stops at idle after deceleration.
    • Vehicle surges during cruise.
    • Rough idle.

Too little or no EGR flow allows combustion temperatures to get too high during acceleration and load conditions. This could cause the following:

    • Spark knock (detonation).
    • Engine overheating.
    • Emission test failure.