GM Service Manual Online
For 1990-2009 cars only

Object Number: 414201  Size: MF
Handling ESD Sensitive Parts Notice
Engine Controls Components
Cell 20: Engine Data Sensors
OBD II Symbol Description Notice

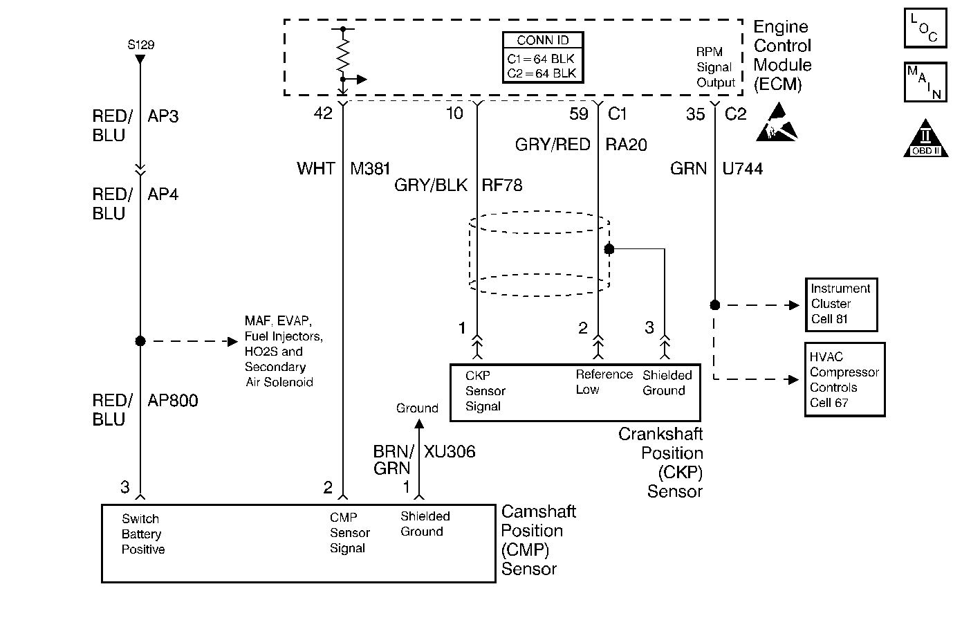
Circuit Description

The camshaft position (CMP) sensor works in conjunction with a single tooth reluctor wheel on the Bank 2 Intake camshaft. The ECM pulls up the CMP sensor signal circuit to 5 volts and monitors this voltage. As the reluctor wheel tooth rotates past the sensor, the sensor's internal circuitry pulls the signal circuit to ground, creating a square wave signal that is used by the ECM. The reluctor wheel tooth covers 180 degrees of the camshaft circumference. This causes the CMP signal voltage to transition once per crankshaft revolution. This signal, when combined with the CKP sensor signal, enables the ECM to determine exactly which cylinder is on a firing stroke. The ECM can then properly synchronize the ignition system, the fuel injectors and the knock control. Note that as long as the CKP signal is available, the engine can start even if there is no CMP sensor signal. The ECM will default to a non-sequential fuel injector operation.

Conditions for Running the DTC

Engine Running.

Conditions for Setting the DTC

The CMP signal is not rational.

Action Taken When the DTC Sets

The ECM illuminates the malfunction indicator lamp (MIL) and records the operating conditions in the Freeze Frame on the second consecutive drive trip that the diagnostic runs and fails.

Conditions for Clearing the MIL/DTC

    • The ECM turns OFF the MIL after three consecutive drive trips that the diagnostic runs and passes.
    • A History DTC clears after forty consecutive warm-up cycles in which no failures are reported by this diagnostic or any other emission related diagnostic.
    • The ECM battery voltage is interrupted.
    • The scan tool clears the MIL/DTC.

Diagnostic Aids

This DTC may set with an intermittently open shielded ground circuit. A completely open shielded ground circuit should set DTC P0340.

Notice: Using the J 35616-A Connector Test Adapter Kit will prevent damage to the harness connector terminals.

Use the J 35616 connector test adapter kit for any test that requires probing the ECM harness connector or a component harness connector.

Check for the following conditions:

    • Poor connections at the ECM or at the component--Inspect the harness connectors for any backed out terminals, improper mating, broken locks, improperly formed or damaged terminals, and poor terminal to wire connection. Refer to Wiring Repairs in Wiring Systems, or Engine Control Module Diagnosis , Checking Terminal Contact for the proper procedure.
    • Electromagnetic interference may have caused this DTC to set.
    • A misrouted harness--Ensure that the harness is not routed too close to any high voltage wires such as spark plug leads, or too close to any high current devices such as the alternator, motors, solenoids, etc.
    • A damaged harness--Inspect the wiring harness for any damage.

Refer to Symptoms for the Intermittents.

DTC P0341 - Camshaft Position (CMP) Sensor Circuit Performance

Step

Action

Value(s)

Yes

No

1

Did you perform the Powertrain On-Board Diagnostic (OBD) System Check?

--

Go to Step 2

Go to Powertrain On Board Diagnostic (OBD) System Check

2

  1. Inspect the camshaft position sensor wiring harness routing. The harness should not be routed near any high voltage sources, e.g., the alternator, the ignition coil.
  2. Inspect for high power transceivers that may cause interference.
  3. Reroute or remove cause of interference.

Was an electromagnetic interference condition found and corrected?

--

Go to Step 4

Go to Step 3

3

Replace the camshaft position sensor. Refer to Camshaft Position Sensor Replacement .

Is the action complete?

--

Go to Step 4

--

4

  1. Using the scan tool, clear the DTCs.
  2. Start the engine.
  3. Allow the engine to idle until the engine reaches the normal operating temperature.
  4. Select DTC and the Specific DTC function.
  5. Enter the DTC number that was set.
  6. Operate the vehicle within the Conditions for Running this DTC until the scan tool indicates that the diagnostic Ran.

Does the scan tool indicate that the diagnostic Passed?

--

Go to Step 5

Go to Step 2

5

Does the scan tool display any additional undiagnosed DTCs?

--

Go to the applicable DTC table

System OK