GM Service Manual Online
For 1990-2009 cars only

Object Number: 450968  Size: SF
SIR Components
SIR Schematics
SIR Caution
Handling ESD Sensitive Parts Notice

Circuit Description

When the ignition switch is turned to the ON position, the inflatable restraint sensing and diagnostic and seat belt pretensioner module (SDM) performs tests to diagnose critical malfunctions within itself. The SDM monitors the six deployment loops to detect leakage currents to ground and to B+ in the frontal air bag deployment loops, the side air bag deployment loops and the seat belt pretensioner deployment loops. Then, the deployment loop resistances are measured to ensure they are within their respective normal resistance ranges. During one portion of the RESISTANCE MEASUREMENT test, the SDM does the following:

    • Measures the voltage difference between the DRIVER BELT HIGH and the DRIVER BELT LOW.
    • Uses the measured voltage to calculate the resistance of the driver seat belt pretensioner deployment loop.

Upon passing these tests, the energy reserve is charged and the firing transistors are tested. The SDM then goes into CONTINUOUS MONITORING mode. The SDM service wait time is 1 minute. Refer to ENABLE/DISABLE procedures.

Conditions for Setting the DTC

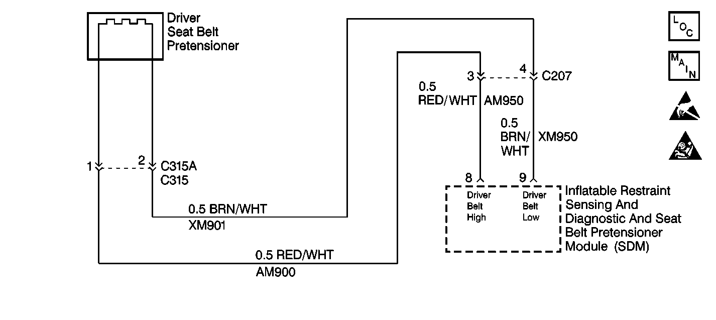
The driver seat belt pretensioner deployment loop resistance is less than 1.6 ohms. The driver seat belt pretensioner deployment loop consists of the following components:

    • Driver seat belt pretensioner.
    • Harness wiring of CKT AM950 and CKT AM900.
    • Harness wiring of CKT XM950 and CKT XM901.
    • Connector terminal contact.

The RESISTANCE MEASUREMENT test checks for this malfunction. This test only occurs once each ignition cycle when the IGNITION is within the normal operating voltage range.

Action Taken When the DTC Sets

    • The SDM sets a DTC 36.
    • The SDM turns ON the AIR BAG warning lamp.

Conditions for Clearing the DTC

The resistance of the driver seat belt pretensioner deployment loop is more than 1.6 ohms. You must issue a scan tool Clear Codes command to clear a Current or History DTC.

Diagnostic Aids

A short between CKT AM950 or CKT AM900 and CKT XM950 or CKT XM901 can cause an intermittent condition. Check CKT AM950, CKT AM900, CKT XM950, and CKT XM901 carefully for cutting and/or chafing. The diagnostic table directs the technician to note the entry value of the LH PRETENS RESIST. Comparing the value of the LH PRETENS RESIST. over multiple ignition cycles can be helpful in determining if an intermittent condition exists.

Test Description

The numbers below refer to step numbers on the diagnostic table.

  1. This step checks to see if the driver seat belt pretensioner is defective.

  2. This step checks terminal 8 and terminal 9 of the SDM wiring harness connector for damaged terminals or corrosion.

  3. This step determines if there is a short between CKT AM950 or CKT AM900 and CKT XM950 or CKT XM901 or if there is a malfunctioning SDM.

DTC 36 Driver Seat Belt Pretensioner Deployment Loop Resistance Low

Step

Action

Value(s)

Yes

No

1

Was the SIR Diagnostic System Check performed?

--

Go to Step 2

Go to SIR Diagnostic System Check

2

  1. Turn the ignition switch to the OFF position.
  2. Install the scan tool.
  3. Turn the ignition switch to the ON position.
  4. Use the scan tool to request the SIR data list display.
  5. Read and record on the repair order the driver seat belt deployment loop resistance LH PRETENS RESIST.

Has the LH PRETENS RESIST. been read and recorded on the repair order?

--

Go to Step 3

--

3

  1. Turn the ignition switch to the OFF position.
  2. Remove the ignition key from the ignition switch.
  3. Wait 1 minute for the SDM energy reserve capacitors to discharge.
  4. Disconnect the driver seat belt pretensioner 2-way connector from inline connector C315. Refer to Seat Belt Buckle Pretensioner Replacement - LH .
  5. Use the J 38715-40 adapter to connect the J 38715-A SIR Driver/Passenger Load Tool BASE OF COLUMN connector to inline connector C315.
  6. Turn the ignition switch to the ON position.
  7. Use the scan tool to request the SIR data list display.
  8. Read the driver seat belt pretensioner deployment loop resistance LH PRETENS RESIST.

Is the LH PRETENS RESIST. less than the specified value?

1.6 ohms

Go to Step 5

Go to Step 4

4

  1. Turn the ignition switch to the OFF position.
  2. Remove the ignition key from the ignition switch.
  3. Wait 1 minute for the SDM energy reserve capacitors to discharge.
  4. Replace the driver seat belt pretensioner. Refer to Seat Belt Buckle Pretensioner Replacement - LH .

Is the repair complete?

--

Go to Step 12

--

5

  1. Turn the ignition switch to the OFF position.
  2. Remove the ignition key from the ignition switch.
  3. Wait 1 minute for the SDM energy reserve capacitors to discharge.
  4. Remove the J 38715-A SIR Driver/Passenger Load Tool.
  5. Disconnect the inflatable restraint sensing and diagnostic and seat belt pretensioner module (SDM). Refer to Inflatable Restraint Sensing and Diagnostic and Seat Belt Pretensioner Module Replacement .
  6. Check terminal 8 and terminal 9 of the SDM wiring harness connector for damaged terminals or corrosion.

Are the SDM wiring harness connector terminals damaged or corroded?

--

Go to Step 6

Go to Step 8

6

Use the J 42250 Catera Terminal Repair Kit to repair the SDM wiring harness connector.

Is the repair complete?

--

Go to Step 7

--

7

Check for proper connection at terminal 8 and terminal 9 of the SDM.

Are the SDM terminals damaged or corroded?

--

Go to Step 9

Go to Step 12

8

Check for proper connection at terminal 8 and terminal 9 of the SDM.

Are the SDM terminals damaged or corroded?

--

Go to Step 9

Go to Step 10

9

Replace the SDM. Refer to Inflatable Restraint Sensing and Diagnostic and Seat Belt Pretensioner Module Replacement .

Is the repair complete?

--

Go to Step 12

--

10

  1. Insert the J 42113 Shorting Bar Tool into the SDM wiring harness connector above terminal 8 terminal 9.
  2. Zero the J 39200 Digital Multimeter (DMM).
  3. Use the J 39200 to measure the resistance between terminal 8 and terminal 9 of the SDM wiring harness wiring harness connector.

Is the measured resistance less than the specified value?

OL

Go to Step 11

Go to Sensing and Diagnostic Module Integrity Check

11

  1. Locate a short between CKT AM950 or CKT AM900 and CKT XM950 or CKT XM901.
  2. Repair the short between CKT AM950 or CKT AM900 and CKT XM950 or CKT XM901

Is the repair complete?

--

Go to Step 12

--

12

Reconnect all the SIR components, making sure all the components are properly mounted.

Have all SIR components been reconnected and properly mounted?

--

Go to Step 13

--

13

Use the scan tool to clear all current and history SIR DTCs.

Have all current and history SIR DTCs been cleared?

--

Go to SIR Diagnostic System Check

--