GM Service Manual Online
For 1990-2009 cars only

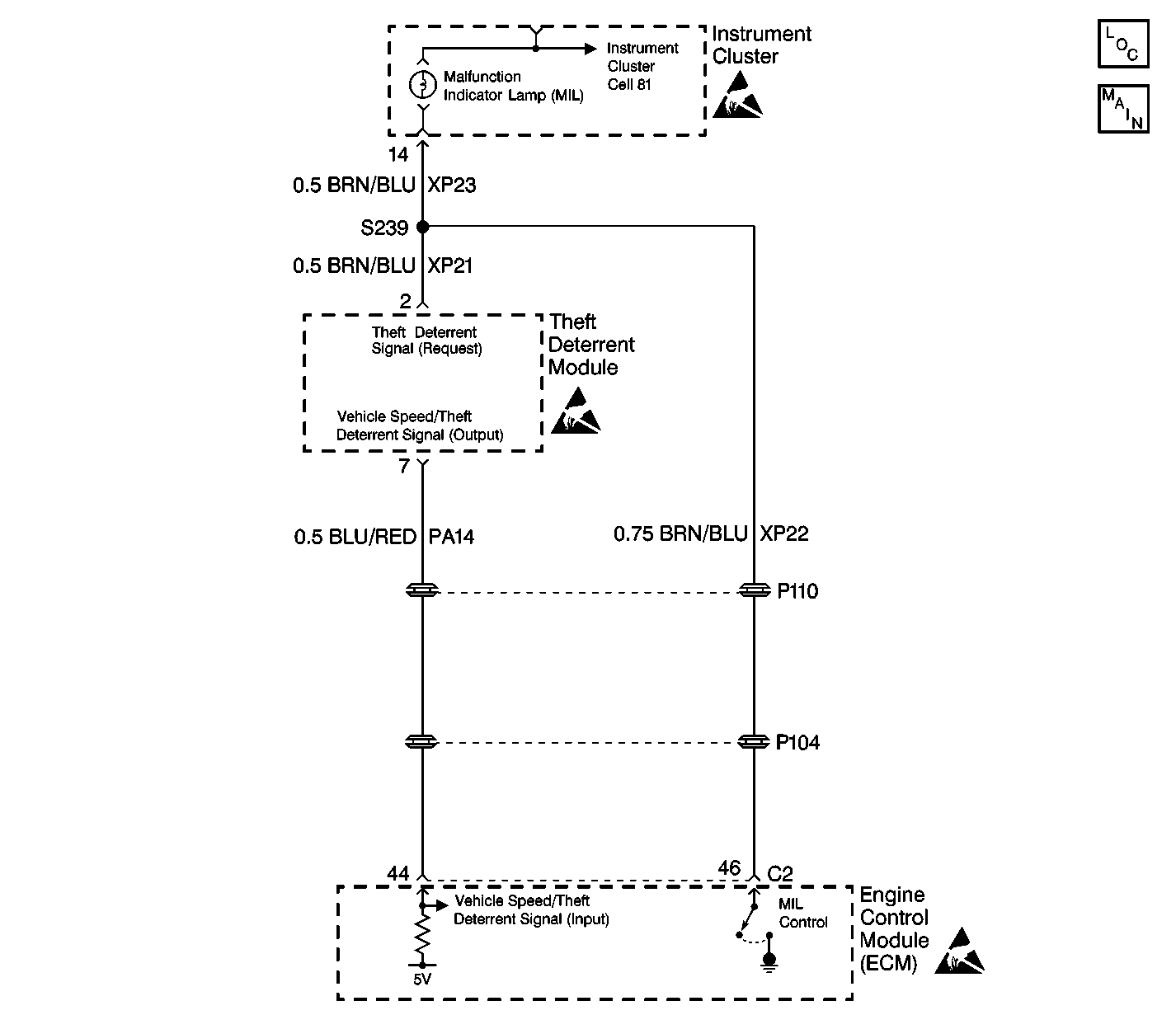
Object Number: 408418  Size: LF

Circuit Description

The theft deterrent module (immobilizer) uses terminal 7 to send the vehicle speed signal and the frequency code (imo signal) to connector C2 terminal 44 of the engine control module (ECM).

When the ignition switch is turned to the ON position, a signal (transponder code) from the key is transmitted to the theft deterrent module (TDM). During this period, the ECM transmits a signal to the TDM requesting the frequency code (imo signal). The TDM compares the signal from the key and decides if an authorized key is being used. After verification, the TDM internally switches from the speed signal circuit and sends the imo signal to the ECM.

The ECM compares the received imo signal with the programmed stored signal. If both codes are the same, the engine control functions (fuel pump drive and injector signals) are released. Non matching codes block the engine functions and the car cannot be started.

Conditions for Setting the DTC

    • DTC 15 indicates that a short to voltage exists in the speed/imo signal circuit (PA14).
    • The above conditions must be fulfilled for at least 0.51 seconds.

Action Taken When the DTC Sets

    • The engine starts, then stalls.
    • The theft deterrent module stores a DTC 15 in memory.

Conditions for Clearing the DTC

    • The conditions for the fault are no longer present.
    • A history DTC will clear after 20 consecutive ignition cycles if the condition for the fault is no longer present.
    • Use a scan tool in order to clear this DTC.

Diagnostic Aids

Inspect for the following conditions if a history or intermittent DTC is indicated:

    • A poor connection at the TDM or ECM
        Inspect the wiring harness connectors for backed out terminals, improper mating, improperly formed or damaged terminals, and poor terminal to wire connections.
    • A damaged wiring harness
        Inspect the wiring harness for damage. If the wiring harness appears to be in good condition, observe the display on the DMM while moving the connectors and wiring harnesses related to the TDM and ECM.
    • For additional information, refer to Intermittents and Poor Connections Diagnosis in Wiring Systems.

Test Description

The following numbers refer to the step numbers on the diagnostic table:

  1. This step checks if the theft deterrent module has a stored DTC 15 in memory.

  2. This step checks for an open circuit between the modules.

  3. The module may be at fault if no trouble is found in the power or ground circuits, or if no trouble is found with the connection at the theft deterrent module.

Step

Action

Value(s)

Yes

No

1

Did you perform the Theft Deterrent System Check?

--

Go to Step 2

Go to Diagnostic System Check - Theft Deterrent

2

  1. Connect the scan tool to the data link connector (DLC).
  2. Turn the ignition switch to the ON position.
  3. Select DTC INFO.

Is a DTC 15 present?

--

Go to Step 3

Go to Step 4

3

  1. Turn the ignition switch to the OFF position.
  2. Disconnect the theft deterrent module (TDM) connector.
  3. Disconnect the engine control module (ECM) connector C2.
  4. Use the DMM in order to measure the resistance of CKT PA14 (BLU/RED).

Is the measured resistance less than the specified value?

5 ohms

Go to Step 5

Go to Step 6

4

Inspect CKT PA14 (BLU/RED) for a possible intermittent malfunction.

Was a problem found?

--

Go to Step 9

Go to Step 8

5

Measure the resistance of CKT PA14 (BLU/RED) to ground.

Is the measured resistance equal to the specified value?

OL

Go to Step 8

Go to Step 7

6

Locate and repair the open circuit in CKT PA14 (BLU/RED).

Is the repair complete?

--

Go to Diagnostic System Check - Theft Deterrent

--

7

Locate and repair a short to ground in CKT PA14 (BLU/RED).

Is the repair complete?

--

Go to Diagnostic System Check - Theft Deterrent

--

8

  1. Reassemble all connectors/components removed in previous steps.
  2. Install the scan tool and clear the codes.
  3. Recheck for a current DTC 15.

Is a current DTC 15 present?

--

Go to Step 10

Go to Diagnostic System Check - Theft Deterrent

9

Locate and repair the intermittent malfunction.

Is the repair complete?

--

Go to Diagnostic System Check - Theft Deterrent

--

10

  1. Test the power and ground circuits.
  2. Test for poor connections at the theft deterrent module.
  3. Replace the theft deterrent module. Refer to Theft Deterrent Module Replacement .
  4. Reprogram the theft deterrent module. Refer to Programming Replacement Keys, Ignition Cylinder, or Engine Control Module

Is the replacement complete and is the reprogramming complete?

--

Go to Diagnostic System Check - Theft Deterrent

--