GM Service Manual Online
For 1990-2009 cars only
Makes
🢒
Chevrolet
🢒
1998
🢒
Astro - 4WD
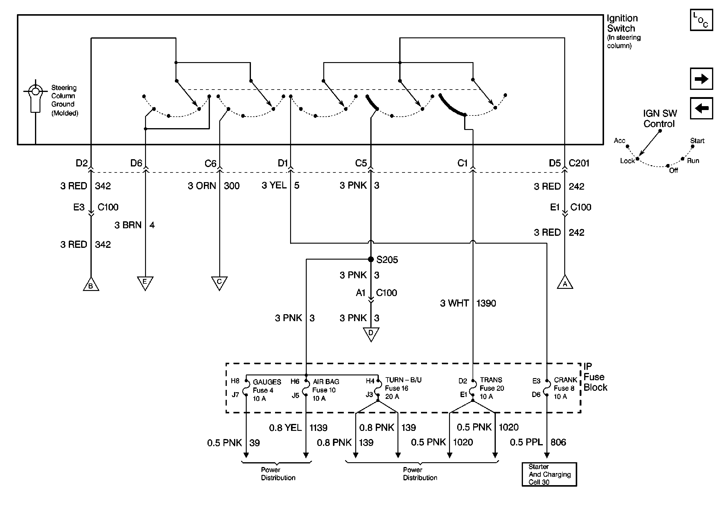
🢒 Cell 10 (Ignition Switch, IP Fuse Block)
Cell 10 (Ignition Switch, IP Fuse Block)
Cell 10 (Ignition Switch, IP Fuse Block)
Power and Grounding Components
Cell 10 (Daytime Running Lamp Module, A/C Compressor Clutch)
Cell 10 (Underhood Fuse Relay, Headlamp and Panel Dimmer Switch, Convenience Center)
Power Distribution Schematics
Power Distribution Schematics
Cell 10 (Daytime Running Lamp Module, A/C Compressor Clutch)
Cell 10 (Daytime Running Lamp Module, A/C Compressor Clutch)
Starting and Charging Schematics
Cell 10 (Starter Solenoid, IP Fuse Block)
Cell 10 (Starter Solenoid, IP Fuse Block)