| Figure 1: |
B+ Bus
|
| Figure 2: |
BATT and LIGHTING Fuse Bus, and ATC,
FRT HVAC, and RR-HTR/A/C Fuses
|
| Figure 3: |
UPFITTER-ACCY, and UPFITTER-BATT Fuses
|
| Figure 4: |
Ignition Switch - START, RUN/START, and OFF/RUN/START
Bus Bars
|
| Figure 5: |
Ignition Switch - ACC/RUN and RUN Bus Bars
|
| Figure 6: |
LH HDLMP, and RH HDLMP Fuses
|
| Figure 7: |
ABS, A/C COMP, ECM-B, HORN, HTD MIR/RR DEFOG,
and RAP Fuses
|
| Figure 8: |
ECM - I Fuse
|
| Figure 9: |
ENG-I, and IGN-E Fuses
|
| Figure 10: |
PWR ACCY Circuit Breaker
|
| Figure 11: |
AUX PWR and STOP/HAZ Fuses
|
| Figure 12: |
CIG LTR, CRANK, and RADIO BATT Fuses
|
| Figure 13: |
CTSY, PK LPS, PWR ADJ MIRR, and TBC Fuses
|
| Figure 14: |
ILLUM Fuse
|
| Figure 15: |
BRAKE, CRUISE, and HTR-A/C Fuses
|
| Figure 16: |
AIR BAG, GAGES, and TURN-B/U
Fuses
|
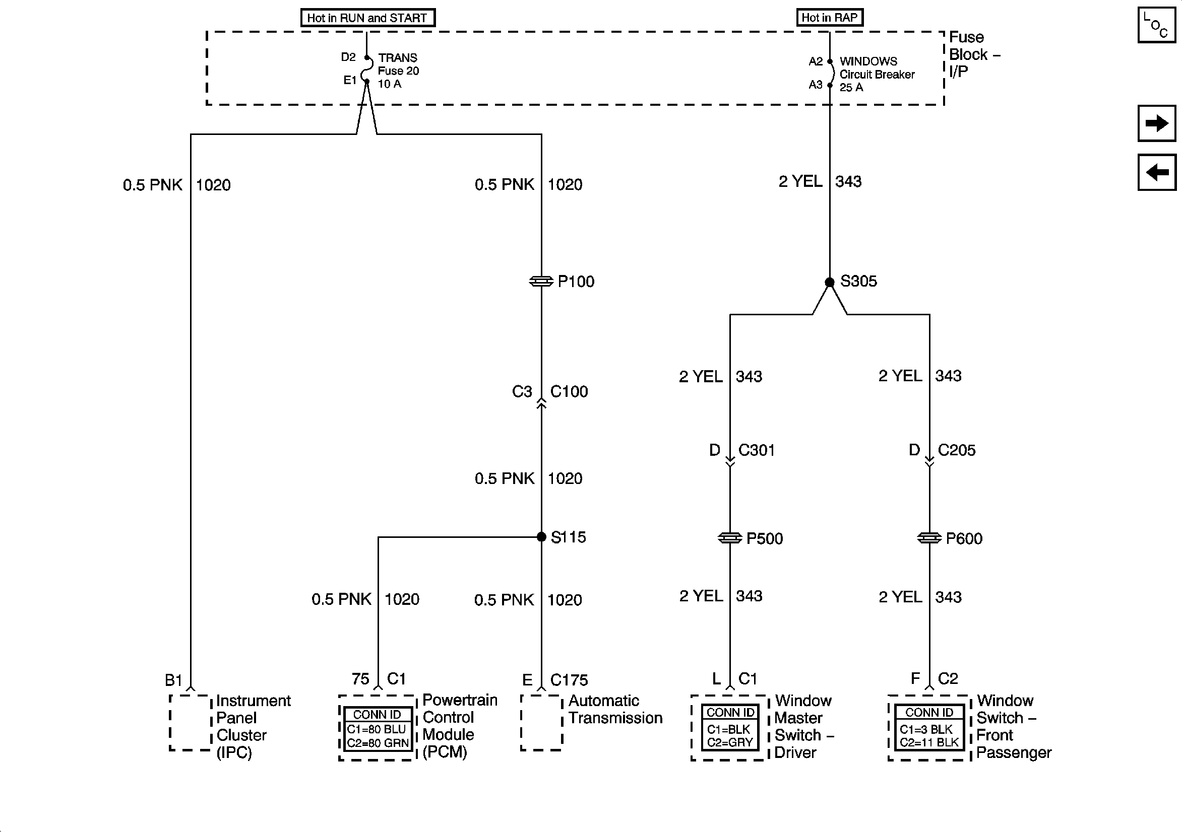
| Figure 17: |
TRANS Fuse, and WINDOWS Circuit Breaker
|
| Figure 18: |
RADIO ACCY, RR WIPER, and WIPER Fuses
|