GM Service Manual Online
For 1990-2009 cars only
Makes
🢒
Chevrolet
🢒
2003
🢒
Astro - 4WD
🢒
Body and Accessories
🢒
Wiring Systems
🢒 Body Control System Schematics
Figure
1:
Power, Ground, and DLC
Master Electrical Component List
Body Control System Description and Operation
RAP, Door/Locks, Headlights/DRL, Headlights - w/VE1
B+ Bus
Ignition Switch - START, RUN/START, and OFF/RUN/START Bus Bars
Ignition Switch - ACC/RUN and RUN Bus Bars
CTSY, PK LPS, PWR ADJ MIRR, and TBC Fuses
AIR BAG, GAGES, and TURN-B/U Fuses
BRAKE, CRUISE, and HTR-A/C Fuses
Radio, Overhead Console, and RSA
G105 and G107
Data Link Connector (DLC) Schematics
Figure
2:
RAP, Door/Locks, Headlights/DRL, Headlights (w/VE1)
Master Electrical Component List
Body Control System Description and Operation
Theft Deterrent, A/T, Audible Warnings, Brake Warnings, Interior Lights
Power, Ground, and DLC
RAP Relay, BCM
Door Lock Switches and Relay
Headlamp and Panel Dimmer Switch, Ambient Light Sensor - VE1
Headlamp and Panel Dimmer Switch, Ambient Light Sensor
DRL Relay and Diode
Composite Headlamps - VE1
DRL Relay and Diode
Figure
3:
Theft Deterrent, A/T Audible Warnings, Brake Warnings, Interior Lights
Master Electrical Component List
Body Control System Description and Operation
Horns, Interior/Exterior Lights, RKE, Instrument Cluster
RAP, Door/Locks, Headlights/DRL, Headlights - w/VE1
Radio, Overhead Console, and RSA
Theft Deterrent Schematics
Brake Warning System Schematics
Power, Seat Belt/Ignition Key Alarm/Door Jamb Switches
Tow/Haul Switch and VSS Inputs
Figure
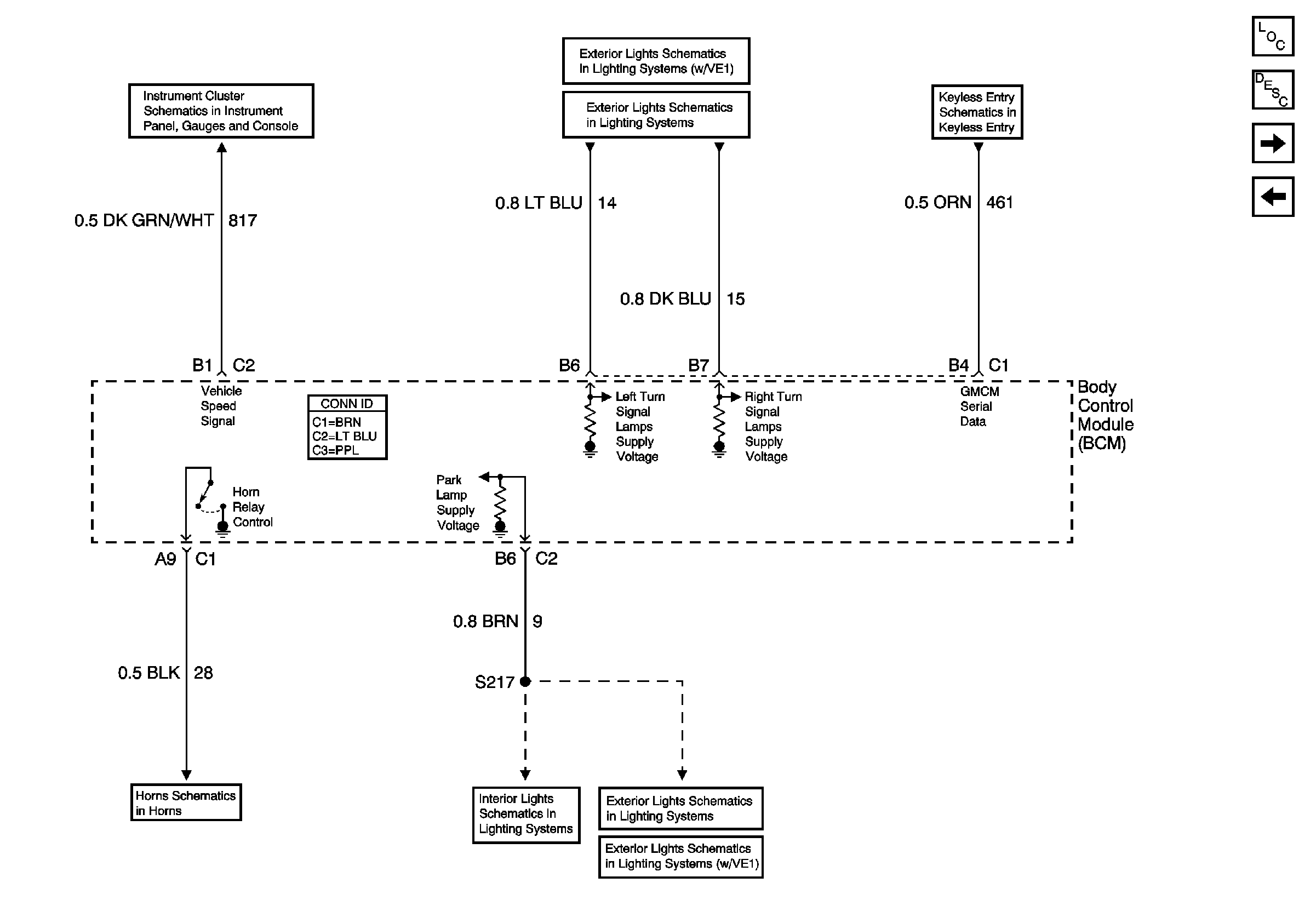
4:
Horns, Interior/Exterior Lights, RKE, Instrument Cluster
Master Electrical Component List
Body Control System Description and Operation
Exterior/Interior Lights, Door/Locks, Body Rear End, Audible Warnings
Theft Deterrent, A/T, Audible Warnings, Brake Warnings, Interior Lights
Gages
Park Lamp Relay
Turn Indicators, Front Marker Lamps, Front Park/Turn Signal Lamp
Keyless Entry Schematics
Horns Schematics
Power Window/Door Lock Switches
Turn Indicators, Front Marker Lamps, Front Park/Turn Signal Lamp
Turn Indicators, Front Park/Turn Signal Lamps, Repeater Lamps
Figure
5:
Exterior/Interior Lights, Door/Locks, Body Rear End, Audible Warnings
Master Electrical Component List
Body Control System Description and Operation
Headlights/DRL, Headlights/Export, and Interior Lights
Horns, Interior/Exterior Lights, RKE, Instrument Cluster
Park Lamp Relay
Park Lamp Relay
Vanity Mirror Lamps, Inadvertent Power Relay
Rear Door Unlock Relay Control
Power, Seat Belt/Ignition Key Alarm/Door Jamb Switches
Door Unlock Relays
Figure
6:
Headlights/DRL, Headlights (Export), and Interior Lights
Master Electrical Component List
Body Control System Description and Operation
Exterior/Interior Lights, Door/Locks, Body Rear End, Audible Warnings
Vanity Mirror Lamps, Inadvertent Power Relay
Door Jamb Switches
Headlamp and Panel Dimmer Switch, Ambient Light Sensor
Headlamp and Panel Dimmer Switch, Ambient Light Sensor - VE1
Door Jamb Switches