GM Service Manual Online
For 1990-2009 cars only
Makes
🢒
Chevrolet
🢒
2005
🢒
Astro - 4WD
🢒
Body
🢒
Instrument Panel, Gages, and Console
🢒 Audible Warnings Schematics
Figure
1:
Power, Seat Belt/Ignition Key Alarm/Door Jamb Switches
Master Electrical Component List
Audible Warnings Description and Operation
Turn Signal Switch, Vehicle Speed Signal
B+ Bus
CTSY, PK LPS, PWR ADJ MIRR, and TBC Fuses
CTSY, PK LPS, PWR ADJ MIRR, and TBC Fuses
Turn Indicators, Front Park/Turn Signal Lamps, Repeater Lamps
Turn Indicators, Front Marker Lamps, Front Park/Turn Signal Lamp
G301, G303, G400, and G404
G110 - Page 1 of 2
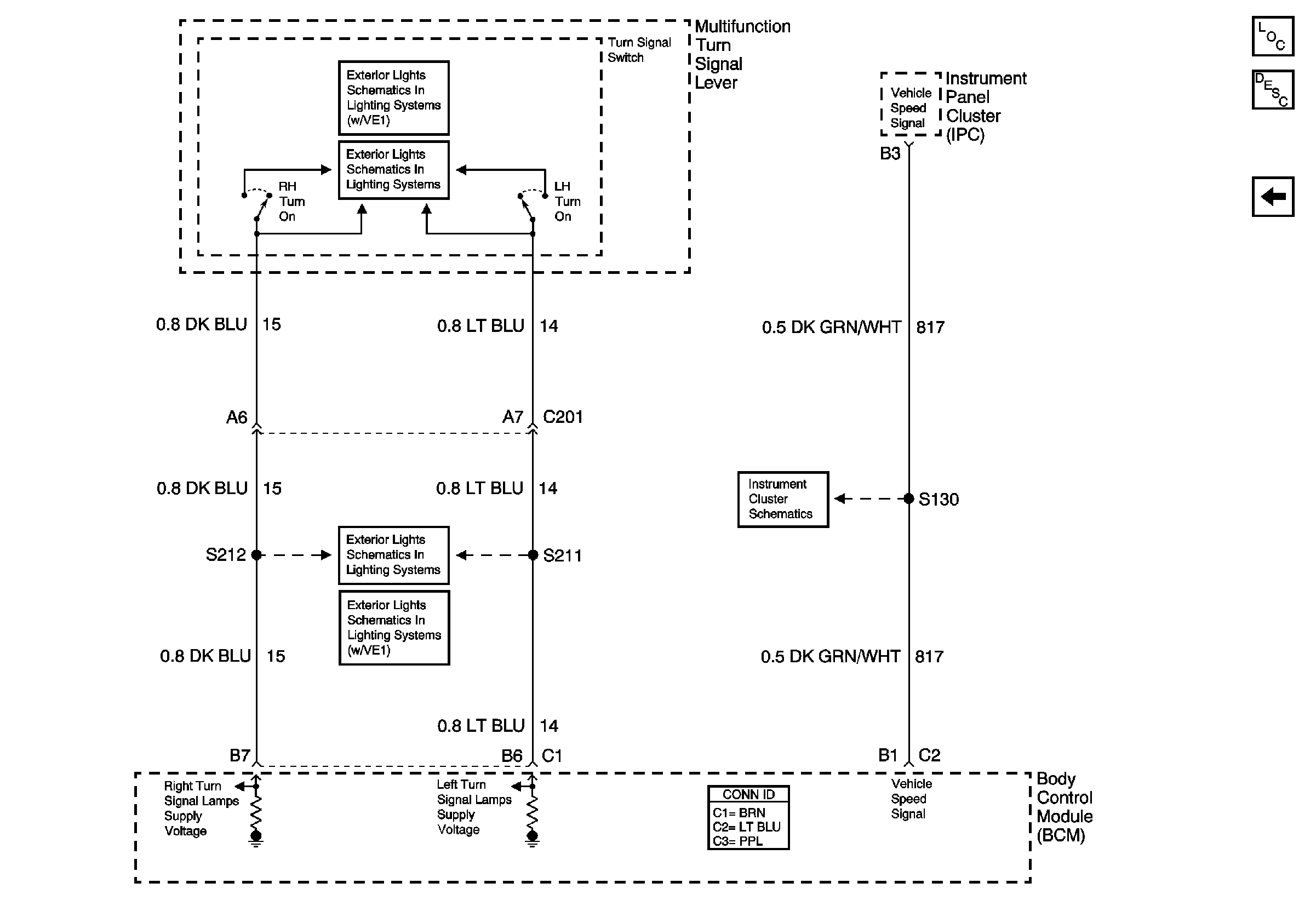
Figure
2:
Turn Signal Switch, Vehicle Speed Signal
Master Electrical Component List
Audible Warnings Description and Operation
Power, Seat Belt/Ignition Key Alarm/Door Jamb Switches
Turn Signal Switch, and Turn Signal/Hazard Flasher Module
Turn Signal Switch, and Turn Signal/Hazard Flasher Module
Turn Indicators, Front Marker Lamps, Front Park/Turn Signal Lamp
Turn Indicators, Front Park/Turn Signal Lamps, Repeater Lamps
Gages