GM Service Manual Online
For 1990-2009 cars only
Figure 1:

Power Window/Door Lock Switches


Object Number: 635099  Size: FS
Master Electrical Component List
Interior Lighting Systems Description and Operation
Door Jamb Switches
B+ Bus
CTSY, PK LPS, PWR ADJ MIRR, and TBC Fuses
Turn Indicators, Front Marker Lamps, Front Park/Turn Signal Lamp
Turn Indicators, Front Park/Turn Signal Lamps, Repeater Lamps
Horns, Interior/Exterior Lights, RKE, Instrument Cluster
G200
G110 - Page 1 of 2
G105 and G107
G105 and G107
Rear Marker Lamps, Tail/Stop and Turn Signal Lamps, CHMSL, and License Lamp
Tail/Stop Lamps, Turn Signal Lamps, License Lamp, and CHMSL
G105 and G107
Figure 2:

Door Jamb Switches


Object Number: 635100  Size: FS
Master Electrical Component List
Interior Lighting Systems Description and Operation
Vanity Mirror Lamps, Inadvertent Power Relay
Power Window/Door Lock Switches
G301, G303, G400, and G404
G110 - Page 1 of 2
Figure 3:

Vanity Mirror Lamps, Inadvertent Power Relay


Object Number: 1225424  Size: FS
Master Electrical Component List
Interior Lighting Systems Description and Operation
ourtesy Lamp Relay, and I/P Compartment Lamp
Door Jamb Switches
B+ Bus
ourtesy Lamp Relay, and I/P Compartment Lamp
ourtesy Lamp Relay, and I/P Compartment Lamp
G110 - Page 1 of 2
G110 - Page 1 of 2
Figure 4:

Courtesy Lamp Relay, and I/P Compartement Lamp


Object Number: 635094  Size: FS
Master Electrical Component List
Interior Lighting Systems Description and Operation
Front Door Lamp Options
Vanity Mirror Lamps, Inadvertent Power Relay
Front Door Lamp Options
Vanity Mirror Lamps, Inadvertent Power Relay
Garage Door Opener Schematics
Vanity Mirror Lamps, Inadvertent Power Relay
G301, G303, G400, and G404
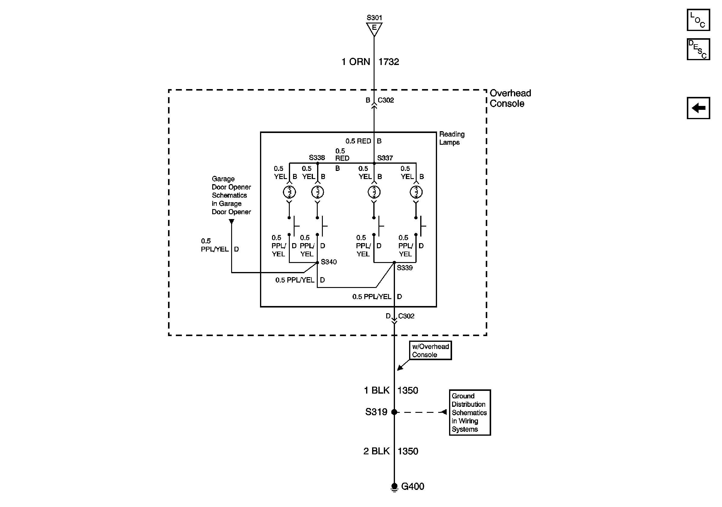
Figure 5:

Front Door Lamp Options


Object Number: 635097  Size: FS
Master Electrical Component List
Interior Lighting Systems Description and Operation
ourtesy Lamp Relay, and I/P Compartment Lamp
ourtesy Lamp Relay, and I/P Compartment Lamp
Garage Door Opener Schematics
G301, G303, G400, and G404