GM Service Manual Online
For 1990-2009 cars only
Figure 1:

Cigar Lighter and Auxiliary Power Outlet - Front (Except UQ7 and Y91)


Object Number: 1561010  Size: MF
(1)Cigar Lighter
(2)Instrument Panel
(3)Auxiliary Power Outlet - Front
Figure 2:

Center Console Components


Object Number: 1677323  Size: MF
(1)CD Player (Y91)
(2)Front Heat/Cool Seat Switches (ULT)
(3)Analog Clock (Z75); Power Outlet (UQ7 w/o Y91); Ashtray (UQ3)
(4)Cigar Lighter (UQ7)
(5)Heated/Cooled Beverage Holder Right Control, Left Similar (ULT)
(6)Power Outlet - Bin (Y91)
(7)Right Rear Heated Seat Control (Y91 and KA6)
(8)Rear Seat Audio and Aux HVAC Rear Control (CJ2)
(9)Left Rear Heated Seat Control (Y91 and KA6)
Figure 3:

Floor Console Components


Object Number: 1402099  Size: LF
(1)Remote Playback Device - CD Player
(2)Rear Seat Audio (RSA)/Rear HVAC Control Module
(3)Auxiliary Power Outlet - Console
(4)Audio Amplifier
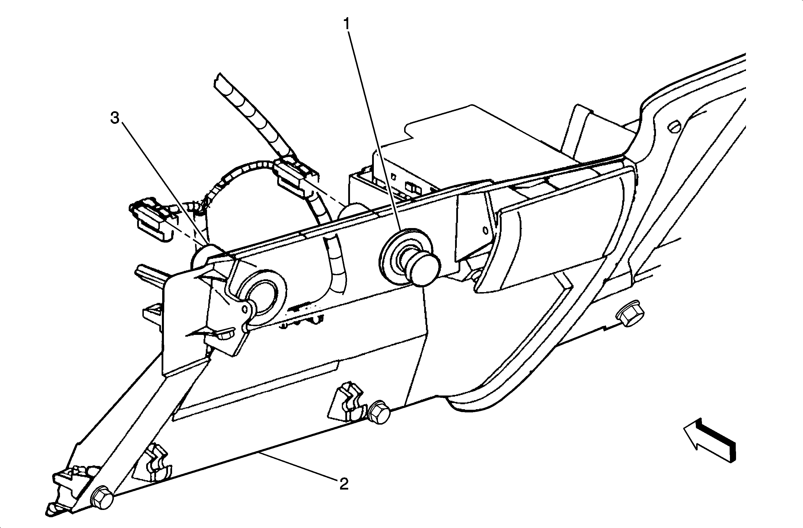
Figure 4:

Right Rear Corner -- except Escalade EXT and Avalaanche


Object Number: 1685050  Size: MF
(1)Auxiliary Power Outlet -- Rear
(2)Speaker -- Right D-Pillar
(3)Rear Parking Assist (RPA) Display