GM Service Manual Online
For 1990-2009 cars only

Vehicles with Body-Side Cladding

To replace a headlamp bulb, do the following:

  1. Open the hood. See Hood Release for more information.

  2. Object Number: 807212  Size: A2
  3. Remove the turn signal/parking lamp assembly by pressing the release clip on the outboard side of the assembly and pulling the outboard end toward you.
  4. Pull the inboard side of the assembly out from the vehicle.

  5. Object Number: 807170  Size: B3
  6. Pull the pins away from their clips and pull them up until they completely release from the vehicle.
  7. Pull the headlamp assembly out of the vehicle.

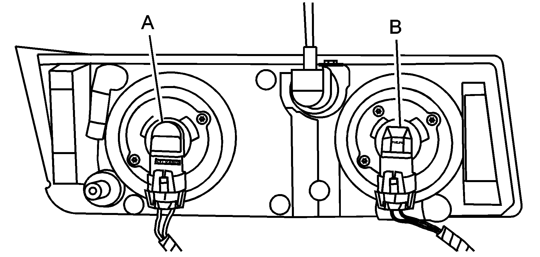
    1. Object Number: 807315  Size: B2

      Low-Beam Headlamp

      High-Beam Headlamp

  8. Turn the bulb connector counterclockwise and pull it out of the assembly.
  9. Unplug the electrical connector from the old bulb.
  10. Plug in the electrical connector to the new bulb.
  11. Place the connector with the new bulb into the headlamp assembly and turn it clockwise until it is tight.
  12. Put the headlamp assembly back into the vehicle and reinstall the two pins.
  13. Place the inboard end of the turn signal/parking lamp assembly into the pocket.
  14. Push the outboard side of the assembly in until the release clip snaps into place.

Vehicles without Body-Side Cladding

To replace a headlamp bulb, do the following:

  1. Open the hood. See Hood Release for more information.

  2. Object Number: 1101352  Size: B4
  3. Remove the pin on the headlamp assembly by turning the pin up and pulling it straight out.
  4. Pull the headlamp assembly out.

    1. Object Number: 1101349  Size: B4

      Low-Beam Headlamp

      High-Beam Headlamp

  5. Unplug the electrical connector.
  6. Turn the old bulb counterclockwise and remove it from the headlamp assembly.
  7. Put the new bulb into the assembly and turn it clockwise until it is tight.
  8. Plug in the electrical connector.
  9. Reinstall the headlamp assembly.
  10. Install the pin and turn it into the locking feature.