GM Service Manual Online
For 1990-2009 cars only
Makes
🢒
Chevrolet
🢒
1996
🢒
Blazer - 2WD
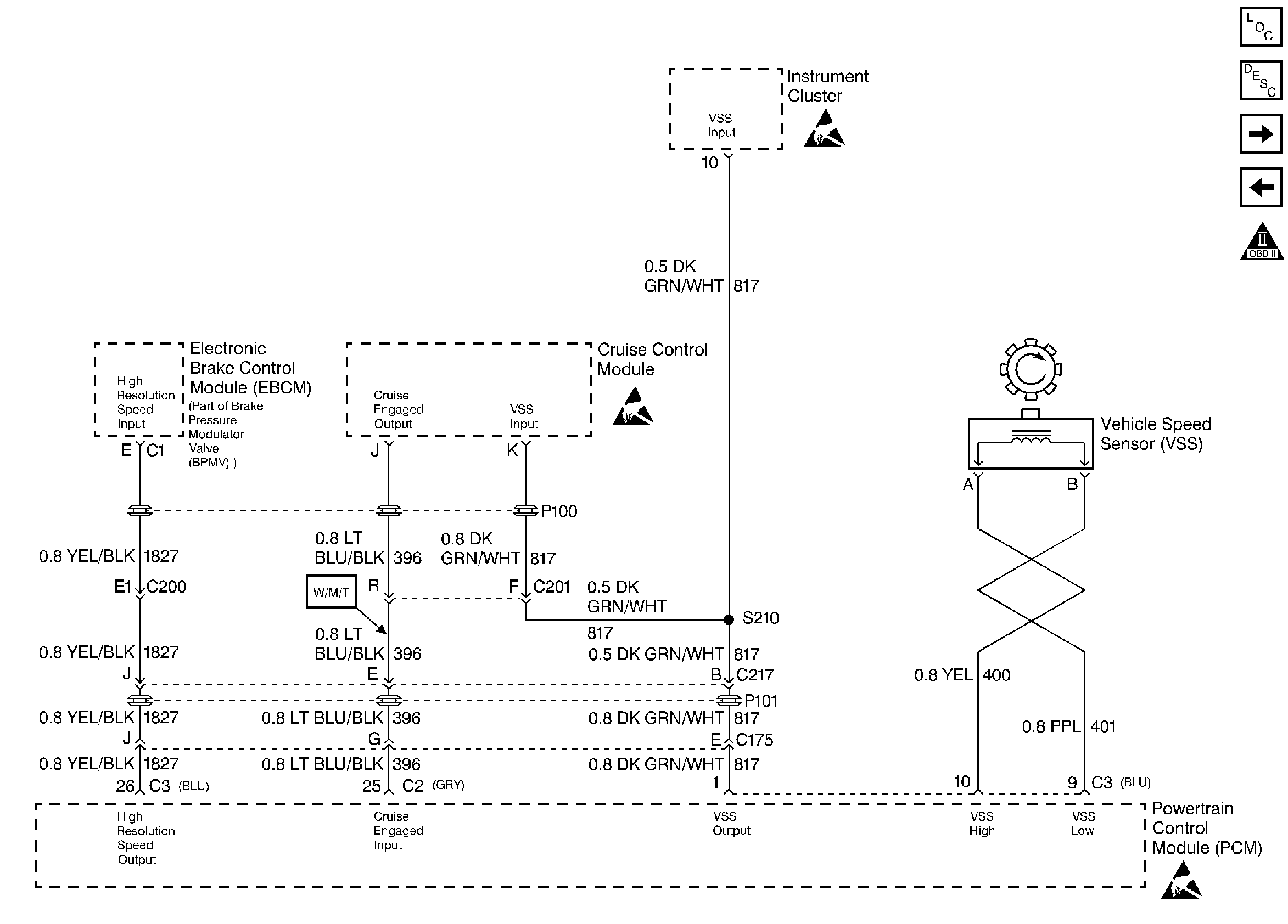
🢒 VSS and Cruise Control
VSS and Cruise Control
VSS and Cruise Control
Handling ESD Sensitive Parts Notice
Handling ESD Sensitive Parts Notice
Handling ESD Sensitive Parts Notice
Engine Controls Components
Transmission Controls Manual
Transmission Shift Solenoid
IAC Valve, Shift Indicator Lamp, and PNP Switch
OBD II Symbol Description Notice