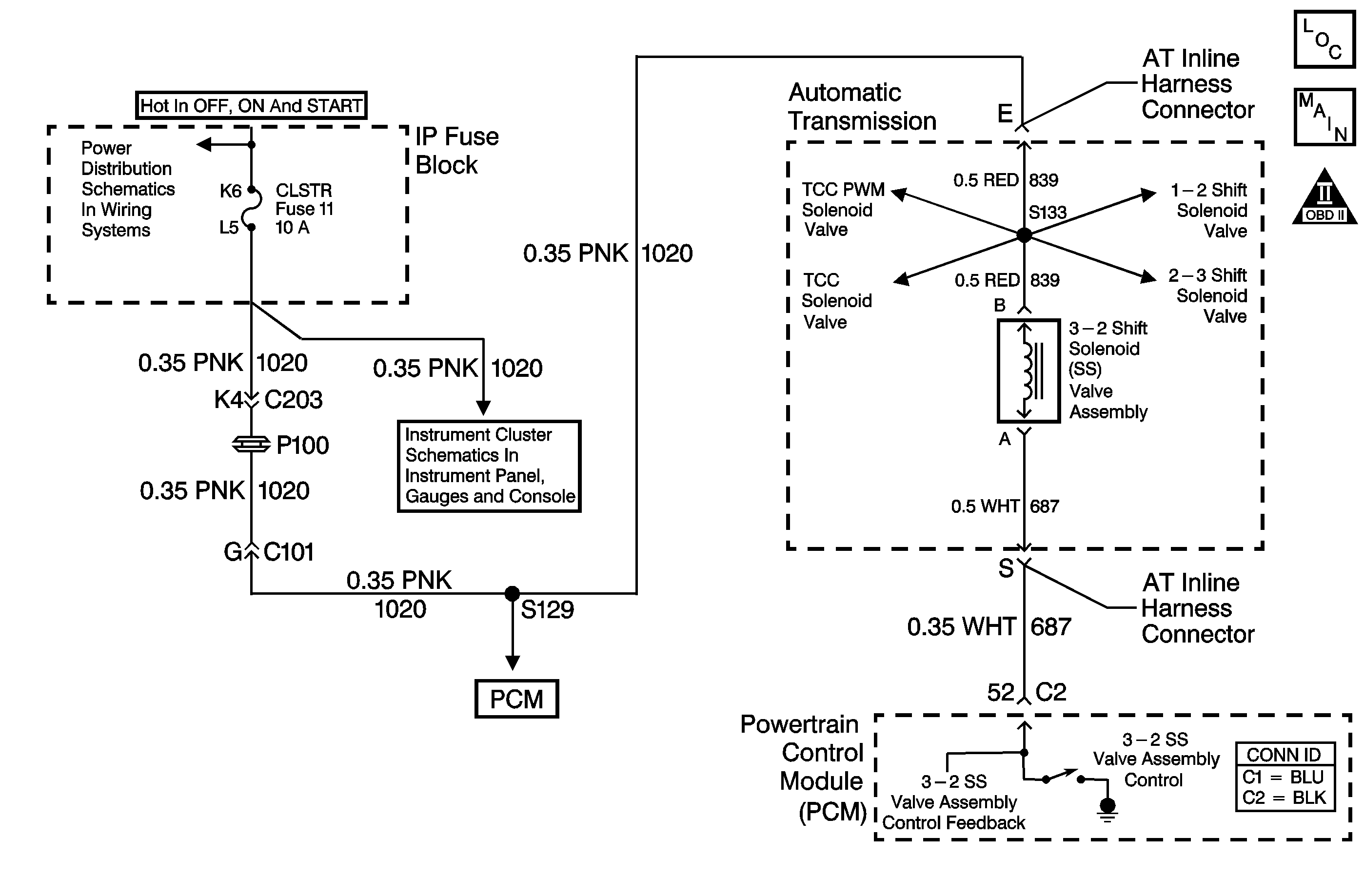
The 3-2 shift solenoid (SS) valve assembly is a normally-closed, 3-port, on/off device that controls the 3-2 downshift. The solenoid attaches to the control valve body within the transmission. The solenoid receives ignition voltage through the OFF/ON/START voltage circuit. The powertrain control module (PCM) controls the solenoid by providing a ground path on the 3-2 shift solenoid valve control circuit. During a 3-2 downshift, the 2-4 band applies as the 3-4 clutch releases. The PCM varies the timing between the 3-4 clutch release and the 2-4 band apply, depending on the vehicle speed and the throttle position.
When the PCM detects a continuous open, short to ground or short to power in the 3-2 SS valve assembly circuit, then DTC P0785 sets. DTC P0785 is a type A DTC.
| • | The system voltage is 10-18 volts. |
| • | The engine speed is greater than 450 RPM for 5 seconds. |
| • | The engine is not in fuel cutoff. |
DTC P0785 sets if one of the following conditions occurs for 5 seconds:
The PCM commands the solenoid ON and the voltage feedback remains high, B+.
The PCM commands the solenoid OFF and the voltage feedback remains low, 0 volts.
| • | The PCM illuminates the malfunction indicator lamp (MIL). |
| • | The PCM commands a soft landing to third gear. |
| • | The PCM commands maximum line pressure. |
| • | The PCM inhibits TCC engagement. |
| • | The PCM inhibits 4th gear if the transmission is in hot mode. |
| • | The PCM freezes transmission adapt functions. |
| • | The PCM records the operating conditions when the Conditions for Setting the DTC are met. The PCM stores this information as Freeze Frame and Failure Records. |
| • | The PCM stores DTC P0785 in PCM history. |
| • | The PCM turns OFF the MIL during the third consecutive trip in which the diagnostic test runs and passes. |
| • | A scan tool can clear the MIL/DTC. |
| • | The PCM clears the DTC from PCM history if the vehicle completes 40 warm-up cycles without an emission-related diagnostic fault occurring. |
| • | The PCM cancels the DTC default actions when the ignition switch is OFF long enough in order to power down the PCM. |
The numbers below refer to the step numbers on the diagnostic table.
This step tests the ability of the PCM to control the solenoid.
This step tests for power to the 3-2 SS valve assembly.
This step tests the ability of the PCM and wiring to control the ground circuit.
This step measures the resistance of the automatic transmission (AT) wiring harness assembly and the 3-2 SS valve assembly.
Step | Action | Value(s) | Yes | No | ||||||||
|---|---|---|---|---|---|---|---|---|---|---|---|---|
1 | Did you perform the Powertrain Diagnostic System Check? | -- | Go to Step 2 | Go to Diagnostic System Check - Engine Controls in Engine Controls - 2.2 L | ||||||||
2 |
Important:: Before clearing the DTC, use the scan tool in order to record the Freeze Frame and Failure Records. Using the Clear Info function erases the Freeze Frame and Failure Records from the PCM. Are any of the following DTCs also set?
| -- | Go to Step 3 | Go to Step 4 | ||||||||
3 | Inspect the CLSTR fuse for an open. Refer to General Electrical Diagnosis in Wiring Systems. Is the fuse open? | -- | Go to Step 12 | Go to Step 5 | ||||||||
Use the scan tool in order to command the 3-2 SS valve assembly ON and OFF three times, while listening to the bottom of the transmission pan, a stethoscope may be necessary. Does the solenoid click when commanded? | -- | Go to Intermittent Conditions in Engine Controls - 2.2 L | Go to Step 5 | |||||||||
Refer to Automatic Transmission Inline Harness Connector End View . Does the test lamp illuminate? | -- | Go to Step 6 | Go to Step 15 | |||||||||
Refer to Automatic Transmission Inline Harness Connector End View . Does the test lamp turn ON and OFF with each command? | -- | Go to Step 8 | Go to Step 7 | |||||||||
7 | Is the test lamp always ON? | -- | Go to Step 16 | Go to Step 17 | ||||||||
Refer to Automatic Transmission Inline Harness Connector End View . Does the resistance measure within the specified range? | 20-32 ohms | Go to Step 9 | Go to Step 10 | |||||||||
9 |
Do both readings measure greater than the specified value? | 250 K ohms | Go to Intermittent Conditions in Engine Controls - 2.2 L | Go to Step 11 | ||||||||
10 |
Does the resistance measure within the specified range? | 20-32 ohms | Go to Step 18 | Go to Step 19 | ||||||||
11 |
Do both readings measure greater than the specified value? | 250 K ohms | Go to Step 18 | Go to Step 19 | ||||||||
12 |
Important: The condition that affects this circuit may exist in other connecting branches of the circuit. Refer to Power Distribution Schematics in Wiring Systems for complete circuit distribution. Test the OFF/ON/START voltage circuit (CKT 1020) of the 3-2 SS valve assembly for a short to ground between the IP fuse block and the AT inline 20-way connector. Refer to Circuit Testing and Wiring Repairs in Wiring Systems. Did you find and correct the condition? | -- | Go to Step 21 | Go to Step 13 | ||||||||
13 |
Important: The condition that affects this circuit may exist in other connecting branches of the circuit. Refer to Power Distribution Schematics in Wiring Systems for complete circuit distribution. Test the ignition 1 voltage circuit (CKT 839) of the 3-2 SS valve assembly for a short to ground between the AT inline 20-way connector and the 3-2 SS valve assembly. Refer to Circuit Testing in Wiring Systems. Did you find a short to ground condition? | -- | Go to Step 18 | Go to Step 14 | ||||||||
14 |
Did you complete the replacement? | -- | Go to Step 21 | -- | ||||||||
15 |
Important: The condition that affects this circuit may exist in other connecting branches of the circuit. Refer to Power Distribution Schematics in Wiring Systems for complete circuit distribution. Test the OFF/ON/START voltage circuit (CKT 1020) of the 3-2 SS valve assembly for an open. Refer to Circuit Testing and Wiring Repairs in Wiring Systems. Did you find and correct the condition? | -- | Go to Step 21 | -- | ||||||||
16 | Test the control circuit (CKT 687) of the 3-2 SS valve assembly for a short to ground between the PCM connector C2 and the AT inline 20-way connector. Refer to Circuit Testing and Wiring Repairs in Wiring Systems. Did you find and correct the condition? | -- | Go to Step 21 | Go to Step 20 | ||||||||
17 | Test the control circuit (CKT 687) of the 3-2 SS valve assembly for an open or short to power between the PCM connector C2 and the AT inline 20-way connector. Refer to Circuit Testing and Wiring Repairs in Wiring Systems. Did you find and correct the condition? | -- | Go to Step 21 | Go to Step 20 | ||||||||
18 | Replace the AT wiring harness assembly. Refer to Valve Body and Pressure Switch Replacement . Did you complete the replacement? | -- | Go to Step 21 | -- | ||||||||
19 | Replace the 3-2 SS valve assembly. Refer to Valve Body and Pressure Switch Replacement . Did you complete the replacement? | -- | Go to Step 21 | -- | ||||||||
20 | Replace the PCM. Refer to Powertrain Control Module Replacement in Engine Controls - 2.2 L. Did you complete the replacement? | -- | Go to Step 21 | -- | ||||||||
21 | Perform the following procedure in order to verify the repair:
Has the test run and passed? | -- | System OK | Go to Step 1 |
The 3-2 shift solenoid (SS) valve assembly is a normally-closed, 3-port, on/off device that controls the 3-2 downshift. The solenoid attaches to the control valve body within the transmission. The solenoid receives ignition voltage through the OFF/ON/START voltage circuit. The powertrain control module (PCM) controls the solenoid by providing a ground path on the 3-2 shift solenoid valve control circuit. During a 3-2 downshift, the 2-4 band applies as the 3-4 clutch releases. The PCM varies the timing between the 3-4 clutch release and the 2-4 band apply, depending on the vehicle speed and the throttle position.
When the PCM detects a continuous open, short to ground or short to power in the 3-2 SS valve assembly circuit, then DTC P0785 sets. DTC P0785 is a type B DTC.
| • | The system voltage is 10-18 volts. |
| • | The engine speed is greater than 450 RPM for 5 seconds. |
| • | The engine is not in fuel cutoff. |
DTC P0785 sets if one of the following conditions occurs for 5 seconds:
The PCM commands the solenoid ON and the voltage feedback remains high, B+.
The PCM commands the solenoid OFF and the voltage feedback remains low, 0 volts.
| • | The PCM illuminates the malfunction indicator lamp (MIL) during the second consecutive trip in which the Conditions for Setting the DTC are met. |
| • | The PCM commands a soft landing to third gear. |
| • | The PCM commands maximum line pressure. |
| • | The PCM inhibits TCC engagement. |
| • | The PCM inhibits 4th gear if the transmission is in hot mode. |
| • | The PCM freezes shift adapts from being updated. |
| • | The PCM records the operating conditions when the Conditions for Setting the DTC are met. The PCM stores this information as Freeze Frame and Failure Records. |
| • | The PCM stores DTC P0785 in PCM history during the second consecutive trip in which the Conditions for Setting the DTC are met. |
| • | The PCM turns OFF the MIL during the third consecutive trip in which the diagnostic test runs and passes. |
| • | A scan tool can clear the MIL/DTC. |
| • | The PCM clears the DTC from PCM history if the vehicle completes 40 warm-up cycles without an emission-related diagnostic fault occurring. |
| • | The PCM cancels the DTC default actions when the fault no longer exists and/or the ignition switch is OFF long enough in order to power down the PCM. |
The item numbers below refer to the step numbers on the diagnostic table.
This step tests the ability of the PCM to control the solenoid.
This step tests for voltage to the solenoid.
This step tests the ability of the PCM and the wiring to control the ground circuit.
This step measures the resistance of the automatic transmission (AT) wiring harness assembly and the 3-2 SS valve assembly.
Step | Action | Value(s) | Yes | No | ||||||||
|---|---|---|---|---|---|---|---|---|---|---|---|---|
1 | Did you perform the Powertrain Diagnostic System Check? | -- | Go to Step 2 | Go to Diagnostic System Check - Engine Controls in Engine Controls - 4.3 L | ||||||||
2 |
Important: Before clearing the DTC, use the scan tool in order to record the Freeze Frame and Failure Records. Using the Clear Info function erases the Freeze Frame and Failure Records from the PCM. Are any of the following DTCs also set?
| -- | Go to Step 3 | Go to Step 4 | ||||||||
3 | Inspect the CLSTR fuse for an open. Refer to General Electrical Diagnosis in Wiring Systems. Is the fuse open? | -- | Go to Step 12 | Go to Step 5 | ||||||||
Use the scan tool in order to command the 3-2 SS valve assembly ON and OFF three times, while listening to the bottom of the transmission pan, a stethoscope may be necessary. Does the solenoid click when commanded? | -- | Go to Intermittent Conditions in Engine Controls - 4.3 L | Go to Step 5 | |||||||||
Refer to Automatic Transmission Inline Harness Connector End View . Does the test lamp illuminate? | -- | Go to Step 6 | Go to Step 15 | |||||||||
Refer to Automatic Transmission Inline Harness Connector End View . Does the test lamp turn ON and OFF with each command? | -- | Go to Step 8 | Go to Step 7 | |||||||||
7 | Is the test lamp always ON? | -- | Go to Step 16 | Go to Step 17 | ||||||||
Refer to Automatic Transmission Inline Harness Connector End View . Does the resistance measure within the specified range? | 20-32 ohms | Go to Step 9 | Go to Step 10 | |||||||||
9 |
Do both readings measure greater than the specified value? | 250 K ohms | Go to Intermittent Conditions in Engine Controls - 4.3 L | Go to Step 11 | ||||||||
10 |
Does the resistance measure within the specified range? | 20-32 ohms | Go to Step 18 | Go to Step 19 | ||||||||
11 |
Do both readings measure greater than the specified value? | 250 K ohms | Go to Step 18 | Go to Step 19 | ||||||||
12 |
Important: The condition that affects this circuit may exist in other connecting branches of the circuit. Refer to Power Distribution Schematics in Wiring Systems for complete circuit distribution. Test the OFF/ON/START voltage circuit (CKT 1020) of the 3-2 SS valve assembly for a short to ground between the IP fuse block and the AT inline 20-way connector. Refer to Circuit Testing and Wiring Repairs in Wiring Systems. Did you find and correct the condition? | -- | Go to Step 21 | Go to Step 13 | ||||||||
13 |
Important: The condition that affects this circuit may exist in other connecting branches of the circuit. Refer to Power Distribution Schematics in Wiring Systems for complete circuit distribution. Test the ignition 1 voltage circuit (CKT 839) of the 3-2 SS valve assembly for a short to ground between the AT inline 20-way connector and the 3-2 SS valve assembly. Refer to Circuit Testing in Wiring Systems. Did you find a short to ground condition? | -- | Go to Step 18 | Go to Step 14 | ||||||||
14 |
Did you complete the replacement? | -- | Go to Step 21 | -- | ||||||||
15 |
Important: The condition that affects this circuit may exist in other connecting branches of the circuit. Refer to Power Distribution Schematics in Wiring Systems for complete circuit distribution. Test the OFF/ON/START voltage circuit (CKT 1020) of the 3-2 SS valve assembly for an open. Refer to Circuit Testing and Wiring Repairs in Wiring Systems. Did you find and correct the condition? | -- | Go to Step 21 | -- | ||||||||
16 | Test the control circuit (CKT 687) of the 3-2 SS valve assembly for a short to ground between the PCM connector C1 and the AT inline 20-way connector. Refer to Circuit Testing and Wiring Repairs in Wiring Systems. Did you find and correct the condition? | -- | Go to Step 21 | Go to Step 20 | ||||||||
17 | Test the control circuit (CKT 687) of the 3-2 SS valve assembly for an open or short to power between the PCM connector C1 and the AT inline 20-way connector. Refer to Circuit Testing and Wiring Repairs in Wiring Systems. Did you find and correct the condition? | -- | Go to Step 21 | Go to Step 20 | ||||||||
18 | Replace the AT wiring harness assembly. Refer to Valve Body and Pressure Switch Replacement . Did you complete the replacement? | -- | Go to Step 21 | -- | ||||||||
19 | Replace the 3-2 SS valve assembly. Refer to Valve Body and Pressure Switch Replacement . Did you complete the replacement? | -- | Go to Step 21 | -- | ||||||||
20 | Replace the PCM. Refer to Powertrain Control Module Replacement in Engine Controls - 4.3 L. Did you complete the replacement? | -- | Go to Step 21 | -- | ||||||||
21 | Perform the following procedure in order to verify the repair:
Has the test run and passed? | -- | System OK | Go to Step 1 |