GM Service Manual Online
For 1990-2009 cars only
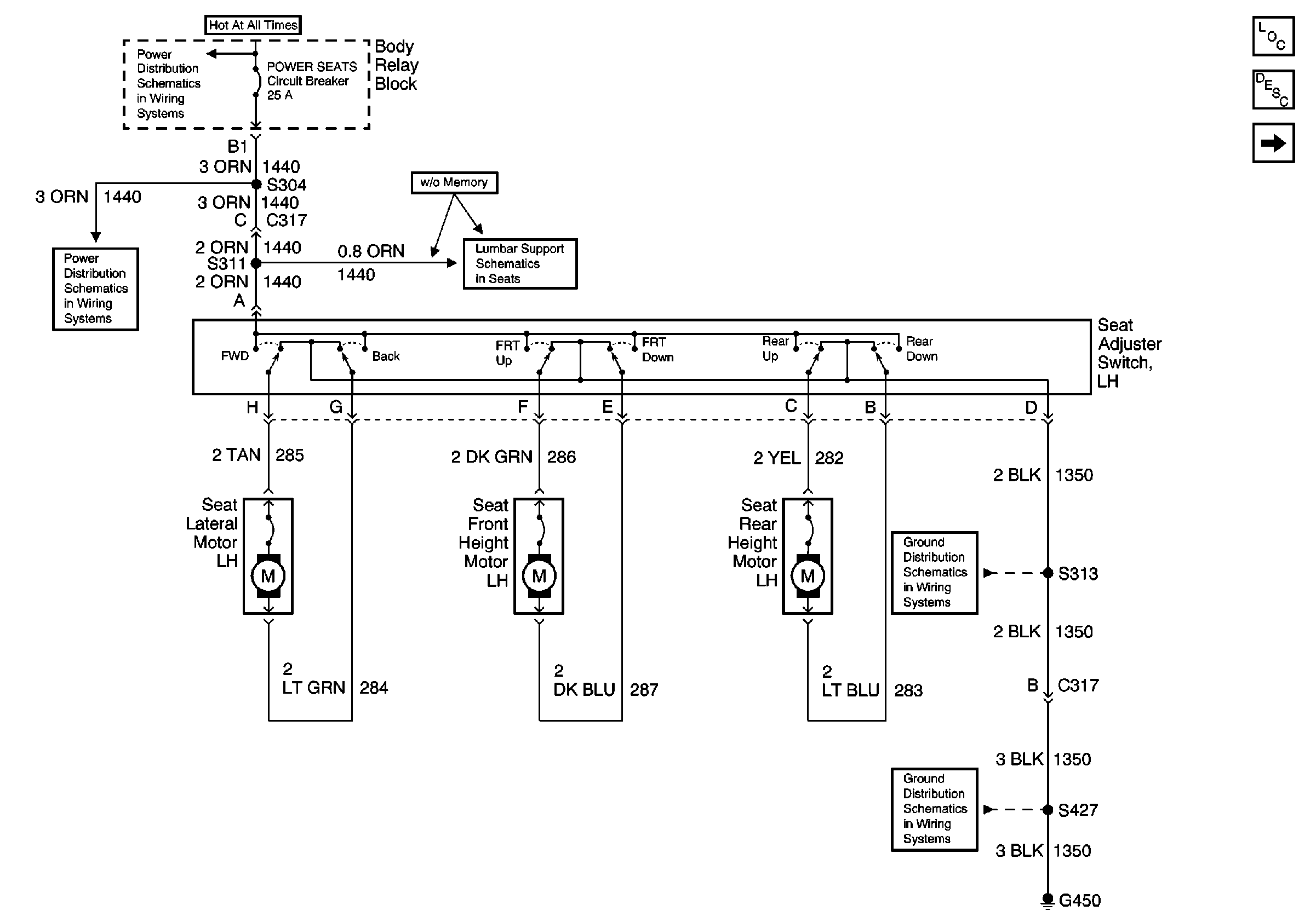
Figure 1:

6-Way LH Power Seat


Object Number: 548912  Size: FS
Power Seat Systems Components
Power Seats Circuit Description
6-Way RH Power Seat
Power Seats, Power Windows Circuit Breakers and RAP Relay
Power Seats, Power Windows Circuit Breakers and RAP Relay
Lumbar without Memory Seats
S313 and S419
S313 and S419
Figure 2:

6-Way RH Power Seat


Object Number: 548913  Size: FS
Power Seat Systems Components
Power Seats Circuit Description
8-Way LH Power Seat
6-Way LH Power Seat
Power Seats, Power Windows Circuit Breakers and RAP Relay
Power Seats, Power Windows Circuit Breakers and RAP Relay
S320 and S420
S320 and S420
Figure 3:

8-Way LH Power Seat


Object Number: 592786  Size: FS
Power Seat Systems Components
Power Seats Circuit Description
8-Way RH Power Seat
6-Way RH Power Seat
Power Seats, Power Windows Circuit Breakers and RAP Relay
Power Seats, Power Windows Circuit Breakers and RAP Relay
Lumbar without Memory Seats
S313 and S419
S313 and S419
Figure 4:

8-Way RH Power Seat


Object Number: 592788  Size: FS
Power Seat Systems Components
Power Seats Circuit Description
8-Way LH Power Seat
Power Seats, Power Windows Circuit Breakers and RAP Relay
Power Seats, Power Windows Circuit Breakers and RAP Relay
S320 and S420
S320 and S420