GM Service Manual Online
For 1990-2009 cars only
Makes
🢒
Chevrolet
🢒
2000
🢒
Blazer - 4WD
🢒 Output
Output
Output
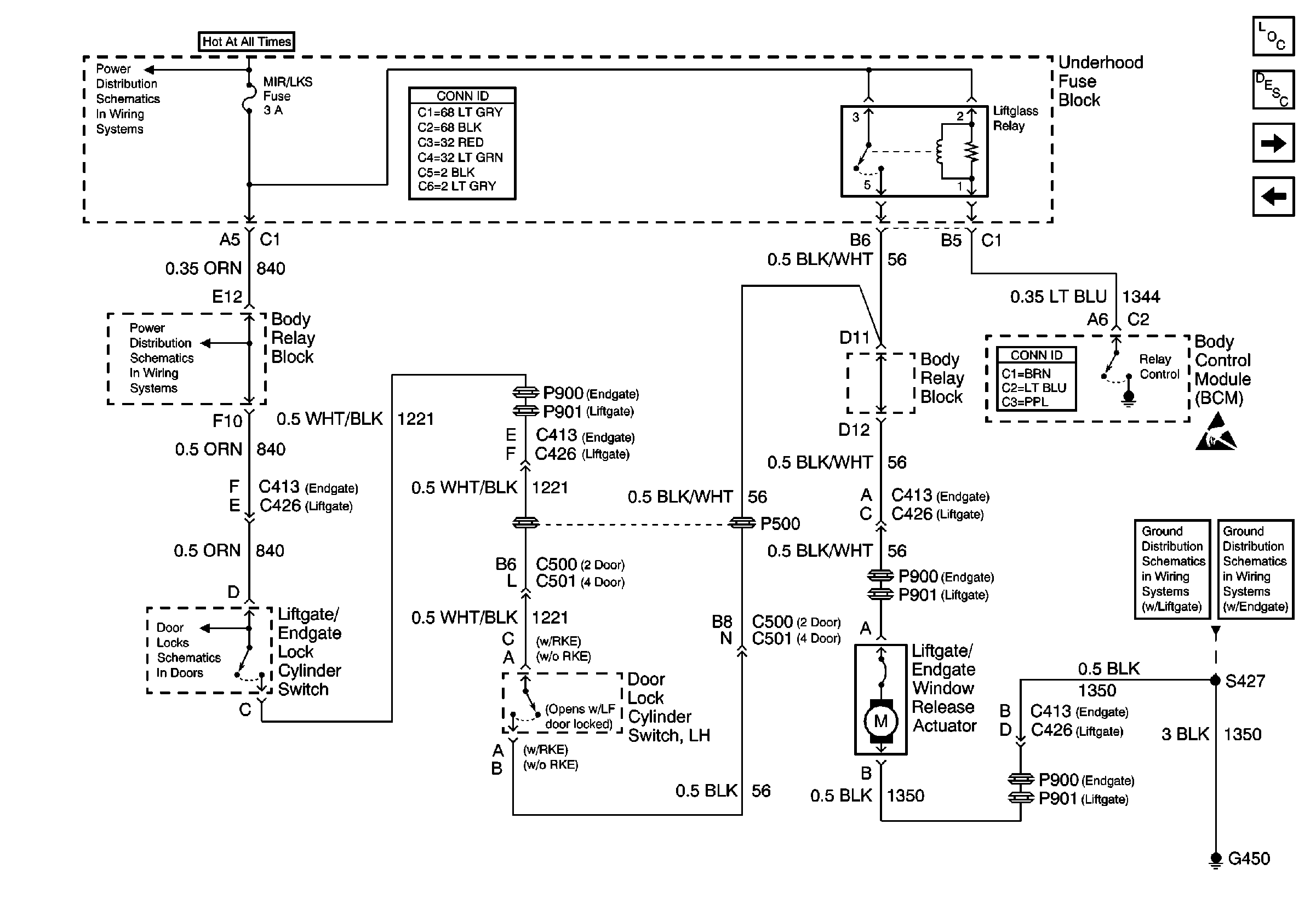
Body Rear End Components
Release System Description
Gate Ajar Indicator
Input
MIR/LKS, FOG LP Fuses and DRL, Headlamp Power Relays
Power and Grounding Connector End Views
MIR/LKS, FOG LP Fuses and DRL, Headlamp Power Relays
Liftgate/Endgate Lock Cylinder Switch Inputs (Utility)
Body Control System Connector End Views
Handling ESD Sensitive Parts Notice
G420 and G450 (Utility w/ Liftgate)
G420 and G450 (Utility w/ Endgate)