GM Service Manual Online
For 1990-2009 cars only
Figure 1:

Power, Ground, MIL and VCM


Object Number: 539981  Size: FS
Engine Controls Components
Vehicle Control Module Description
Data Link Connector (DLC)
OBD II Symbol Description Notice
B+ Bus Bar
ECM I Fuse
Ign START, RUN and ACC Bus Bar
Ign RUN and START Bus Bar
Power and Grounding Connector End Views
Power and Ground
Handling ESD Sensitive Parts Notice
Data Link Connector (DLC), VCM and Engine Oil Pressure Gauge Sensor
CLSTR Fuse
Power, Transfer Case Shift Control Module, and Encoder Motor
CLSTR Fuse
4WD and HVAC I Fuses
VCM Connector End Views
G103 and G105
Handling ESD Sensitive Parts Notice
G103 and G105
Figure 2:

Data Link Connector (DLC)


Object Number: 539984  Size: FS
Engine Controls Components
Serial Data Communications
Ignition Controls
Power, Ground, MIL and VCM
OBD II Symbol Description Notice
STUD 2, INT BAT, CIGAR LTR, CTSY LP and PWR LKS Fuses
STUD 2, INT BAT, CIGAR LTR, CTSY LP and PWR LKS Fuses
G203 and G205
G203 and G205
G103 and G105
S201
Driver Information System
Power and Grounding Connector End Views
G103 and G105
G103 and G105
Body Control System Connector End Views
Handling ESD Sensitive Parts Notice
VCM Connector End Views
Handling ESD Sensitive Parts Notice
Figure 3:

Ignition Controls


Object Number: 539987  Size: FS
Engine Controls Components
Enhanced Ignition System Description
Fuel Level Sensor
Data Link Connector (DLC)
OBD II Symbol Description Notice
B/U LP, OXYSEN, ENG I, TRL B/U, VEH B/U and BTSI Fuses
ECM I Fuse
Power and Grounding Connector End Views
MAF and IAC Controls
Handling ESD Sensitive Parts Notice
Data Link Connector (DLC), VCM and Engine Oil Pressure Gauge Sensor
G103 and G105
VCM Connector End Views
Handling ESD Sensitive Parts Notice
G103 and G105
Figure 4:

Fuel Level Sensor


Object Number: 539989  Size: FS
Engine Controls Components
Fuel Metering System Component Description
Fuel Injection Controls
Ignition Controls
OBD II Symbol Description Notice
Handling ESD Sensitive Parts Notice
Power and Grounding Connector End Views
Power, Ground, MIL and VCM
VCM Connector End Views
Handling ESD Sensitive Parts Notice
Engine Sensors
G402 and G420
Engine Sensors
VCM Connector End Views
Handling ESD Sensitive Parts Notice
G402 and G420
G102
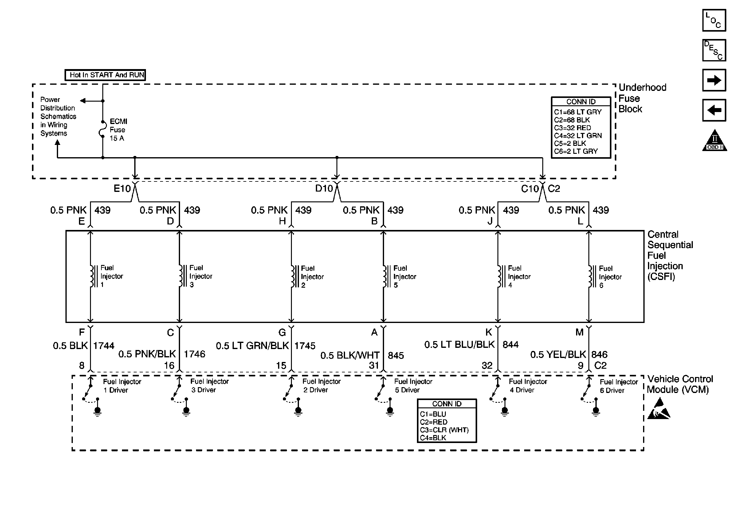
Figure 5:

Fuel Injection Controls


Object Number: 539992  Size: FS
Engine Controls Components
Central Sequential Duel Injection Fuel System Description
Engine Sensors
Fuel Level Sensor
OBD II Symbol Description Notice
ECM I Fuse
Power and Grounding Connector End Views
VCM Connector End Views
Handling ESD Sensitive Parts Notice
Figure 6:

Engine Sensors


Object Number: 539995  Size: FS
Engine Controls Components
Information Sensors/Switches Description
Heated Oxygen Sensors
Fuel Injection Controls
OBD II Symbol Description Notice
VCM Connector End Views
Handling ESD Sensitive Parts Notice
EGR Valve and EVAP Valves
Fuel Level Sensor
EGR Valve and EVAP Valves
Automatic Transmission and PNP Switch Inputs
Handling ESD Sensitive Parts Notice
Figure 7:

Heated Oxygen Sensors


Object Number: 539999  Size: FS
Engine Controls Components
Information Sensors/Switches Description
MAF and IAC Controls
Engine Sensors
OBD II Symbol Description Notice
B/U LP, OXYSEN, ENG I, TRL B/U, VEH B/U and BTSI Fuses
Power and Grounding Connector End Views
VCM Connector End Views
Handling ESD Sensitive Parts Notice
G104, G106, G107, G108 and G118
G102
Figure 8:

MAF and IAC Controls


Object Number: 540003  Size: FS
Engine Controls Components
Information Sensors/Switches Description
Vehicle Speed Outputs and Overhead Console Link
Heated Oxygen Sensors
OBD II Symbol Description Notice
Power and Grounding Connector End Views
B/U LP, OXYSEN, ENG I, TRL B/U, VEH B/U and BTSI Fuses
VCM Connector End Views
Handling ESD Sensitive Parts Notice
Ignition Controls
G103 and G105
G103 and G105
VCM Connector End Views
Handling ESD Sensitive Parts Notice
G104, G106, G107, G108 and G118
Figure 9:

Vehicle Speed Outputs and Overhead Console Link


Object Number: 540006  Size: FS
Engine Controls Components
Information Sensors/Switches Description
EGR Valve and EVAP Valves
MAF and IAC Controls
OBD II Symbol Description Notice
Handling ESD Sensitive Parts Notice
Driver Information Systems Connector End Views
Handling ESD Sensitive Parts Notice
Handling ESD Sensitive Parts Notice
Antilock Brake System Connector End Views
Handling ESD Sensitive Parts Notice
Body Control System Connector End Views
Handling ESD Sensitive Parts Notice
VCM Connector End Views
Handling ESD Sensitive Parts Notice
Figure 10:

EGR Valve and EVAP Valves


Object Number: 540011  Size: FS
Engine Controls Components
Evaporative Emission Control System Operation Description Enhanced
4WD Indicator Signal, and Generator
Vehicle Speed Outputs and Overhead Console Link
OBD II Symbol Description Notice
Handling ESD Sensitive Parts Notice
B/U LP, OXYSEN, ENG I, TRL B/U, VEH B/U and BTSI Fuses
MAF and IAC Controls
Power and Grounding Connector End Views
Engine Sensors
Engine Sensors
VCM Connector End Views
Handling ESD Sensitive Parts Notice
Figure 11:

4WD Indicator Signal, and Generator


Object Number: 540014  Size: FS
Engine Controls Components
Vehicle Control Module Description
Automatic Transmission Valve Controls
EGR Valve and EVAP Valves
OBD II Symbol Description Notice
Transfer Case Control Connector End Views
Handling ESD Sensitive Parts Notice
VCM Connector End Views
Handling ESD Sensitive Parts Notice
Figure 12:

Automatic Transmission Valve Controls


Object Number: 540017  Size: FS
Engine Controls Components
Vehicle Control Module Description
Automatic Transmission and PNP Switch Inputs
4WD Indicator Signal, and Generator
OBD II Symbol Description Notice
B+ Bus Bar
EBCM Power and Ground
Power
CLSTR Fuse
EBCM Power and Ground
Cruise Control Schematic
Cruise Control Schematic
VCM Connector End Views
Handling ESD Sensitive Parts Notice
Figure 13:

Automatic Transmission and PNP Switch Inputs


Object Number: 540021  Size: FS
Engine Controls Components
Vehicle Control Module Description
A/C Compressor Controls
Automatic Transmission Valve Controls
OBD II Symbol Description Notice
VCM Connector End Views
Handling ESD Sensitive Parts Notice
Engine Sensors
Handling ESD Sensitive Parts Notice
G103 and G105
Shift Lock Control Connector End Views
Figure 14:

A/C Compressor Controls


Object Number: 540024  Size: FS
Engine Controls Components
Vehicle Control Module Description
Automatic Transmission and PNP Switch Inputs
OBD II Symbol Description Notice
B+ Bus Bar
Power and Grounding Connector End Views
IGN E, GAUGES, and SIR Fuses
Handling ESD Sensitive Parts Notice
G102
G102
G103 and G105
G103 and G105
VCM Connector End Views
Handling ESD Sensitive Parts Notice