GM Service Manual Online
For 1990-2009 cars only

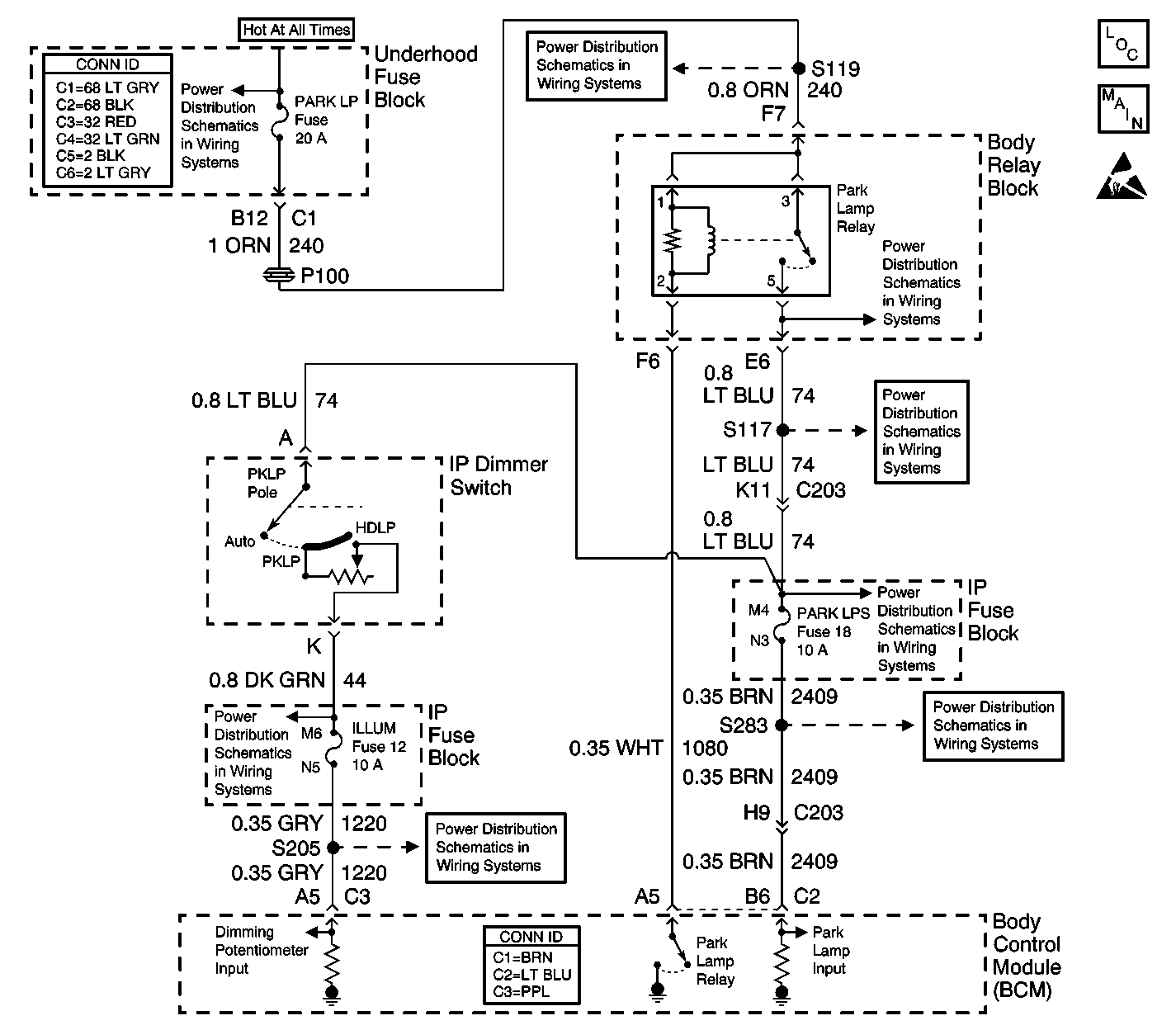
Object Number: 623401  Size: LF
Lighting Systems Components
Fog Lights Schematics
Handling ESD Sensitive Parts Notice
Power Distribution Schematics
Power Distribution Schematics
Power Distribution Schematics
Power Distribution Schematics
Power Distribution Schematics
Power Distribution Schematics
Power Distribution Schematics
Power Distribution Schematics

Circuit Description

The body control module (BCM) monitors the instrument panel (IP) dimming voltage on CKT 1220 from the dimmer switch. The dimmer switch controls the IP dimming by sending a signal to the BCM on CKT 1220 in order to indicate the position of the rheostat when the headlamps are ON. The dimmer switch also provides dimming for the backlighting of the instrument cluster and the radio.

Conditions for Running the DTC

    • The battery voltage must be between 9.0 and 16.0 volts.
    • Ignition switch in the RUN position.
    • The park lamp switch must be in the OFF (AUTO) position and the ambient light sensor must be in the DARK state.
    • The park brake released.

Conditions for Setting the DTC

To set B2613, the following conditions must be present:

    • CKT 1220 is shorted to battery voltage.
    • The above conditions must be met for 0.5 seconds.

Action Taken When the DTC Sets

The instrument panel lights remain full bright at all times.

Conditions for Clearing the MIL/DTC

    • A current DTC will clear at the next fault free ignition cycle.
    • A history DTC will clear after 100 consecutive ignition cycles without a fault present.
    • Use a scan tool in order to clear history and current DTCs.

Diagnostic Aids

    • Perform a visual inspection for loose or poor connections at all related components.
    • Refer to Testing for Intermittent Conditions and Poor Connections in Wiring Systems.

Test Description

The number(s) below refer to the step number(s) on the diagnostic table.

  1. Tests for the proper operation of the circuit in the low voltage range.

  2. Tests for the proper operation of the circuit in the high voltage range. If the fuse in the jumper opens when you perform this test, the signal circuit is shorted to ground.

  3. Tests for a short to voltage in the 12 volt reference circuit.

  4. After replacement of the BCM you must calibrate the new module for proper operation.

Step

Action

Value(s)

Yes

No

1

Did you perform the Lighting System Diagnostic System Check?

--

Go to Step 2

Go to Diagnostic System Check - Lighting Systems

2

  1. Install a scan tool.
  2. Turn ON the ignition, with the engine OFF.
  3. With a scan tool, observe the Dimming Potentiometer parameter in the Body Control Module data list .

Does the scan tool indicate that the Dimming Potentiometer parameter is within the specified range?

0.1 - 13.5 volts

Go to Diagnostic Aids

Go to Step 3

3

  1. Turn OFF the ignition.
  2. Disconnect the Dimmer switch.
  3. Turn ON the ignition, with the engine OFF.
  4. With a scan tool, observe the Dimming Potentiometer parameter.

Does the scan tool indicate that the Dimming Potentiometer parameter is less than the specified value?

0.1 volts

Go to Step 4

Go to Step 9

4

  1. Turn OFF the ignition.
  2. Connect a 3 amp fused jumper wire between the 12 volt reference circuit of the IP Dim Pole and the signal circuit of the Dimming Potentiometer.
  3. Turn ON the ignition, with the engine OFF.
  4. With a scan tool, observe the Dimming Potentiometer parameter.

Does the scan tool indicate that the Dimming Potentiometer parameter is greater than the specified value?

13.5 volts

Go to Step 5

Go to Step 7

5

  1. Disconnect the fused jumper wire.
  2. Measure the voltage between the 12 volt reference circuit of the Dimming Potentiometer and the signal circuit of the Dimming Potentiometer.

Does the voltage measure less than the specified value?

0.1 volt

Go to Step 10

Go to Step 6

6

Test the 12 volt reference circuit of the Dimming Potentiometer for a short to voltage. Refer to Circuit Testing and Wiring Repairs in Wiring Systems.

Did you find and correct the condition?

--

Go to Step 14

Go to Step 11

7

Test the 12 volt reference circuit of the Dimming Potentiometer for a short to ground, a high resistance, or an open. Refer to Circuit Testing and Wiring Repairs in Wiring Systems.

Did you find and correct the condition?

--

Go to Step 14

Go to Step 8

8

Test the signal circuit of the Dimming Potentiometer for a short to ground, a high resistance, or an open. Refer to Circuit Testing and Wiring Repairs in Wiring Systems.

Did you find and correct the condition?

--

Go to Step 14

Go to Step 11

9

Test the signal circuit of the Dimming Potentiometer for a short to voltage. Refer to Circuit Testing and Wiring Repairs in Wiring Systems.

Did you find and correct the condition?

--

Go to Step 14

Go to Step 11

10

Inspect for poor connections at the harness connector of the Dimming Potentiometer. Refer to Testing for Intermittent Conditions and Poor Connections and Connector Repairs in Wiring Systems.

Did you find and correct the condition?

--

Go to Step 14

Go to Step 12

11

Inspect for poor connections at the harness connector of the BCM. Refer to Testing for Intermittent Conditions and Poor Connections and Connector Repairs in Wiring Systems.

Did you find and correct the condition?

--

Go to Step 14

Go to Step 13

12

Replace the Dimmer Switch. Refer to Turn Signal Switch Replacement - On Vehicle .

Did you complete the replacement?

--

Go to Step 14

--

13

  1. Replace the body control module. Refer to Body Control Module Replacement .
  2. Program the BCM with the proper calibrations. Refer to Body Control Module (BCM) Programming/RPO Configuration .
  3. Perform the learn procedure.

Did you complete the replacement?

--

Go to Step 14

--

14

  1. Use the scan tool in order to clear the DTCs.
  2. Operate the vehicle within the Conditions for Running the DTC as specified in the supporting text.

Does the DTC reset?

--

Go to Step 2

System OK