GM Service Manual Online
For 1990-2009 cars only

Object Number: 563680  Size: MF
Transfer Case Control Components
Transfer Case Control Schematics

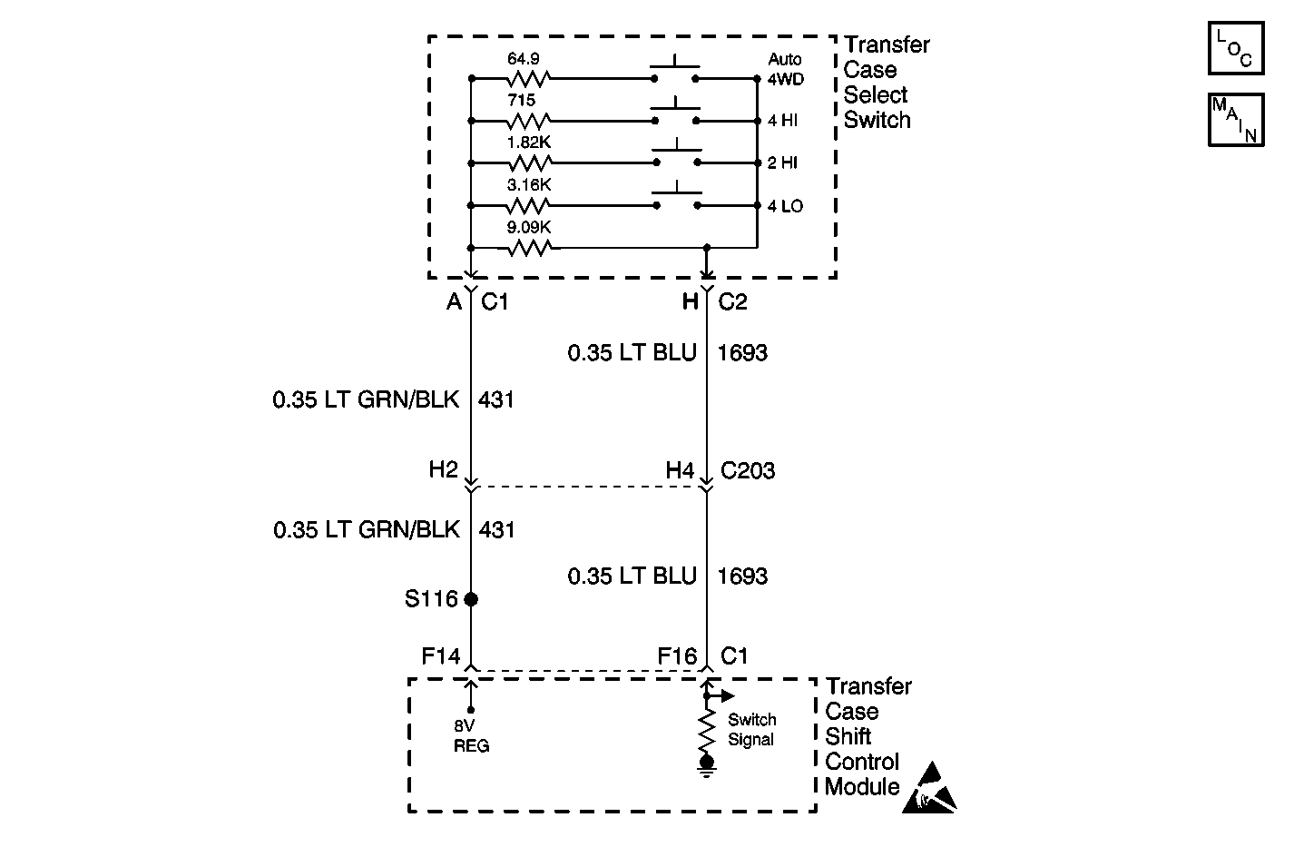
Circuit Description

The range/mode switch circuit consists of four normally open switches. The transfer case shift control module supplies a regulated 8 volts, DC to the switch through the 8 V Reg circuit. The current travel through a 9.09 K ohms resistor located inside the switch. Then returns current to the transfer case shift control module through the switch signal circuit.

When each of the switches is depressed they will complete a circuit through their own specific resistor. The transfer case shift control module continuously monitors the switch input to determine whether the 4HI, AUTO 4WD, 2HI, and 4LO button selections are made by the driver. Neutral may be obtained if the following conditions are met:

    • The engine is running.
    • The automatic transmission is in neutral (or the clutch pedal is depressed on a manual transmission application).
    • The vehicle speed is below 3 MPH.
    • The transfer case is in the 2HI mode.

Once these conditions have been met, pressing and holding both the 2HI and 4LO buttons for 10 seconds will shift the transfer case into neutral, turning on the red neutral indicator lamp.

Test Description

The number(s) below refer to the step number(s) on the diagnostic table.

  1. Tests the functionality of the Mode/Range buttons.

  2. Tests the modules ability to operate the transfer case modes.

Range/Mode Switch Inoperative

Step

Action

Value(s)

Yes

No

1

Was the Transfer Case Diagnostic System Check performed?

--

Go to Step 2

Go to Diagnostic System Check

2

Important:: NEUTRAL range will only be obtained by pressing and holding both the 2 HI and the 4 LO buttons simultaneously for 10 seconds. Refer to Circuit Description.

  1. Install a scan tool.
  2. Start the engine.
  3. Place the transmission into neutral (or clutch pedal depressed on manual transmission applications).
  4. Set the park brake.
  5. Observe Commanded Mode Indicator states on the scan tool while depressing each of the Mode/Range buttons.

Does the state change with the press of any of the Mode/Range buttons?

--

Go to Step 5

Go to Step 3

3

  1. Use a scan tool in order to command through the ranges of the Mode/Range Switch.
  2. With a scan tool, command through all Commanded Mode Indicator states.

Does the Mode Indicator state change?

--

Go to Step 5

Go to Step 4

4

Replace the transfer case shift control module. Refer to Transfer Case Shift Control Module Replacement .

Is the replacement complete?

--

Go to Step 6

--

5

Replace the Mode/Range Switch. Refer to Transfer Case Shift Control Switch Replacement .

Is the replacement complete?

--

Go to Step 6

--

6

  1. Use the scan tool in order to clear the DTCs.
  2. Operate the vehicle within the conditions for allowing the symptom to re-occur.

Does the symptom re-occur?

--

Go to Step 2

System OK