GM Service Manual Online
For 1990-2009 cars only
Makes
🢒
Chevrolet
🢒
2003
🢒
Blazer - 4WD - RHD
🢒
Body and Accessories
🢒
Wiring Systems
🢒 Duct Air Temperature Sensor Replacement - Lower
Removal Procedure
Remove the right closeout panel. Refer to
Instrument Panel Insulator Panel Replacement - Right Side
in Instrument Panel Gages and Console.
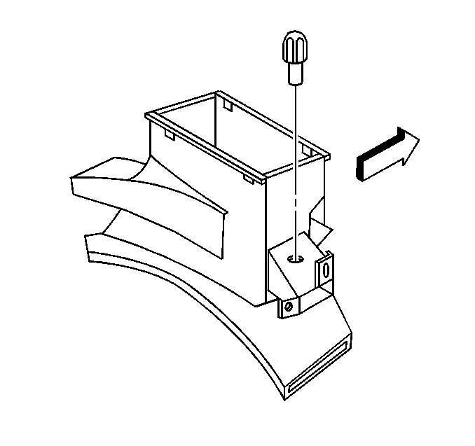
Remove the air temperature sensor and wiring harness assembly from the floor air outlet.
Disconnect the electrical connector from the air temperature sensor.
Installation Procedure
Connect the air temperature sensor to the electrical connector.
Install the air temperature sensor and wiring harness assembly to the floor air outlet.
Install the passenger-side closeout panel. Refer to
Instrument Panel Insulator Panel Replacement - Right Side
in Instrument Panel Gages and Console.