GM Service Manual Online
For 1990-2009 cars only
Makes
🢒
Chevrolet
🢒
2003
🢒
Blazer - 4WD - RHD
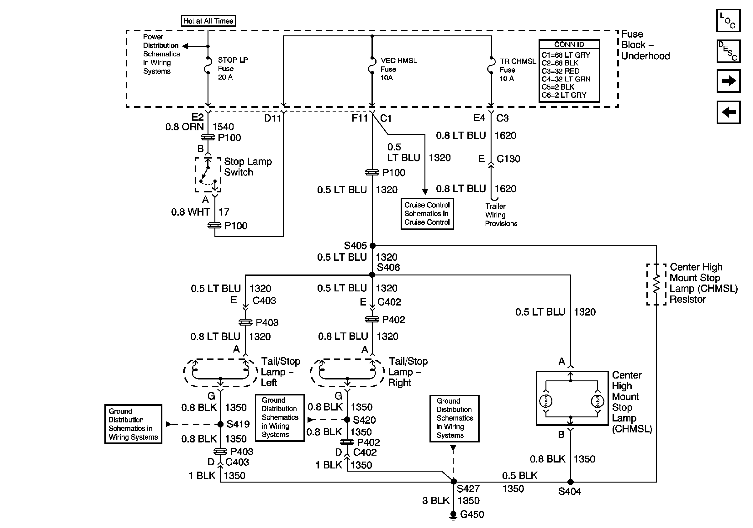
🢒 STOP LP, VEH HMSL, and TRL HMSL Fuses
STOP LP, VEH HMSL, and TRL HMSL Fuses
STOP LP, VEH HMSL, and TRL HMSL Fuses
Master Electrical Component List
Exterior Lighting Systems Description and Operation
Backup Lights
Hazard Switch, TURN, and HAZ LP Fuses
B+ Bus Bar
Cruise Control Schematics
S313 and S419
S320 and S420
G450