GM Service Manual Online
For 1990-2009 cars only

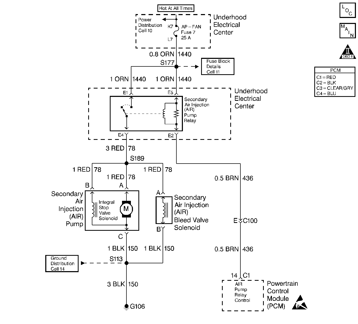
Object Number: 21648  Size: LF
Engine Controls Components
AIR and IAC
OBD II Symbol Description Notice
Handling ESD Sensitive Parts Notice

Circuit Description

An AIR pump is used on this vehicle to lower tail pipe emissions on start-up. The PCM supplies a ground to the AIR pump relay, which energizes the AIR pump.

The PCM will run two tests using the HO2S voltages to diagnose the AIR system. Both tests have two parts.

Test one consists of the following:

Part 1

When the AIR pump is enabled, the PCM monitors the HO2S voltage. If the HO2S voltages go below a threshold, the PCM interprets this as an indication that the AIR system is operational.

Part 2

When the AIR pump is disabled, the PCM monitors the HO2S voltages. The HO2S voltages should increase above a threshold and switch normally.

If the PCM did not sense more then a predetermined amount of HO2S rich switches, a malfunction will be reported. If both of these test indicate a pass, no further action is taken. If one of the above tests failed or is inconclusive, the diagnostic will proceed to test two.

Test two consist of the following:

Part 1

During this test the PCM will activate the AIR pump during closed loop operation. When the AIR is activated, the PCM will monitor the HO2S voltages and short term fuel trim values for both banks of the engine. If the AIR system is operating properly, the HO2S voltages should go low and the short term fuel trim should go high.

Part 2

The PCM checks that the HO2S voltages return to above a rich threshold when the air pump is disabled.

If the PCM determines that the HO2S voltages for both banks did not respond as expected during the tests, DTC P0410 will set. If only one sensor responded, the PCM will set either a DTC P1415 or P1416 to indicate on which bank the AIR system is inoperative.

Conditions for Setting the DTC

    • DTCs P0107, P0108, P0116, P0117, P0118, P0133, P0135, P0153, P0155, P0171, P0172, P0174, P0175, not set.
    • Engine operating about 2 seconds.

Test 1

    • TP angle not moving more than 1%.
    • Engine load less than 6.6%.
    • Engine air flow less than 26 grams per second.
    • Air fuel ratio greater than 13:1.
    • ECT less than 115°C (239°F).
    • HO2S bias voltage between 365 mV and 513 mV.
    • HO2S voltage does not go below 400 mV for 19 seconds (Engine coolant temperature less than 75°C (167°F) when the engine is started.) or HO2S voltage does not go below 417 mV for 7 seconds (Engine coolant temperature greater than 75°C (167°F) when the engine is started.)
    • HO2S voltage does not go above 722 mV for 19 seconds (Engine coolant temperature less than 75°C (167°F) when the engine is started.) or HO2S voltage does not go above 700 mV for 7 seconds (Engine coolant temperature greater than 75°C (167°F) when the engine is started.)

Test 2

    • Engine operating longer than 200 seconds.
    • Engine speed greater than 600 RPM.
    • Maximum air flow 17 gm/s.
    • Engine coolant temperature between 60°C (140°F) and 115°C (239°F.)
    • IAT greater than 10°C (50°C).
    • Ignition voltage greater than 11.0 volts.
    • Engine load less than 5.5%.
    • HO2S voltage does not go below 222 mV within 1.5 seconds.
    • Short term fuel trim does not go above a predetermined amount.

Action Taken When the DTC Sets

    • The PCM will illuminate the Malfunction Indicator Lamp (MIL) on the second consecutive drive trip that the diagnostic runs and fails.
    • The PCM will record operating conditions at the time the diagnostic fails. The first time the diagnostic fails, this information will be stored in Failure Records. If the diagnostic reports a failure on the second consecutive drive trip, the operating conditions at the time of failure will be written to Freeze Frame and the Failure record will be updated.

Conditions for Clearing the MIL/DTC

    • The PCM will turn the MIL OFF after three consecutive drive trips that the diagnostic runs and does not fail.
    • A last test failed (Current DTC) will clear when the diagnostic runs and does not fail.
    • A History DTC will clear after forty consecutive warm-up cycles, if no failures are reported by this or any other emission related diagnostic.
    • PCM battery voltage is interrupted.
    • Using a Scan tool.

Diagnostic Aids

    • Casting flash in the exhaust manifold may restrict the amount of air flow necessary to affect the HO2S voltage. If this is suspected, remove the air pipe from the manifold and inspect the passage.
    •  Using Freeze Frame and/or Failure Records data may aid in locating an intermittent condition. If the DTC cannot be duplicated, the information included in the Freeze Frame and/or Failure Records data can be useful in determining how many miles since the DTC set. The Fail Counter and Pass Counter can also be used to determine how many ignition cycles the diagnostic reported a pass and/or a fail. Operate vehicle within the same freeze frame conditions (RPM, load, vehicle speed, temperature etc.) that were noted. This will isolate when the DTC failed.
    • For intermittents, refer to Symptoms .

Test Description

Number(s) below refer to step numbers on the diagnostic table.

  1. A check valve that flows in both directions will cause heat damage to components.

Step

Action

Value(s)

Yes

No

1

Was the Powertrain On-Board Diagnostic (OBD) System Check performed?

--

Go to Step 2

Go to Powertrain On Board Diagnostic (OBD) System Check

2

  1. Install the scan tool.
  2. Start and idle the engine Closed Loop.
  3. Turn all the accessories OFF.
  4. Using a scan tool, monitor the Bank1 Sensor 1 (Left Front) HO2S voltage display on the Engine 1 Data List.
  5. Using a scan tool, enable the AIR pump.
  6. Observe and note the Bank1 Sensor 1 (Left Front) HO2S voltage, as the AIR pump is enabled.

Does the HO2S voltage drop below the specified value?

350 mV

Go to Diagnostic Aids

Go to Step 3

3

Visually/physically inspect all hoses and pipes for:

    • Being connected.
    • Clamps are secure on pipes and hoses.
    • No kinks, holes, or pinched hoses/pipes.
    • Components with evidence of heat damage.

Did all the above check OK?

--

Go to Step 4

Go to Step 6

4

  1. Disconnect the hose from the check valve at the left exhaust manifold.
  2. Using a scan tool, enable the AIR pump.

Is air present at the hose outlet?

--

Go to Step 7

Go to Step 5

5

Repair the restriction or blockage in AIR hoses/pipes between the left exhaust manifold and the point where the system branches to both sides of the engine.

Is the action complete?

--

Go to Step 8

--

6

Repair the condition found.

Is the action complete?

--

Go to Step 8

--

7

Replace the check valve.

Is the action complete?

--

Go to Step 8

--

8

  1. Using the scan tool, select DTC, Clear Info.
  2. Start the engine and idle at normal operating temperature.
  3. Select DTC, Specific, then enter the DTC number which was set.
  4. Operate the vehicle within the conditions for setting this DTC as specified in the supporting text, if applicable.

Does the scan tool indicate that this test ran and passed?

--

Go to Step 9

Go to Step 2

9

Using the scan tool, select Capture Info, Review Info.

Are any DTCs displayed that have not been diagnosed?

--

Go to the applicable DTC table

System OK