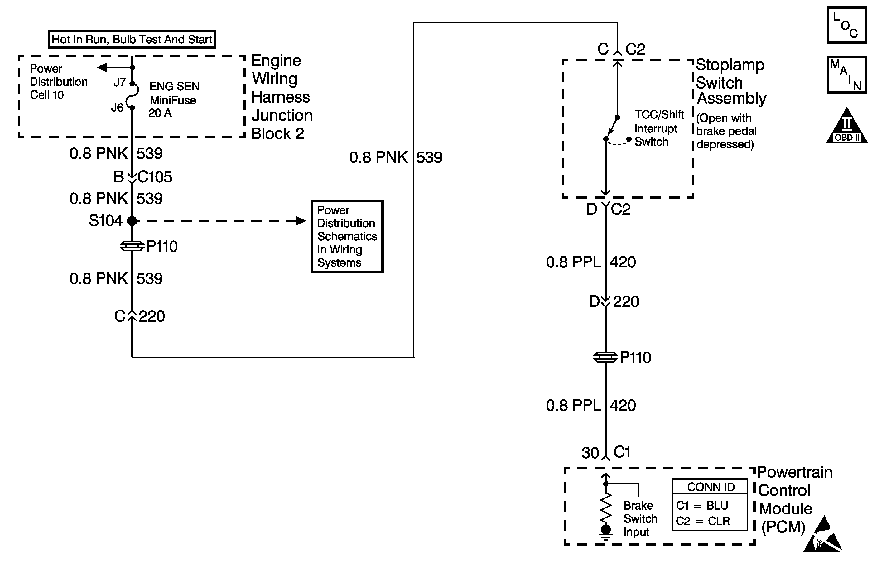
The brake switch indicates brake pedal status to the powertrain control module (PCM). The brake switch is a normally-closed switch that supplies battery voltage on circuit 420 to the PCM. Applying the brake pedal opens the switch, interrupting voltage to the PCM. When the brake pedal is released, the PCM receives a constant voltage signal. If the PCM receives a zero voltage signal at the brake switch input, and the torque converter clutch (TCC) is engaged, the PCM de-energizes the TCC solenoid valve. The PCM disregards the brake switch input for TCC scheduling if there is a brake switch circuit fault.
When the PCM detects a closed brake switch circuit (12 volts, high input) during decelerations, then DTC P0724 sets. DTC P0724 is a type C DTC.
| • | No VSS assembly DTCs P0502 or P0503. |
| • | The ignition is ON. |
The PCM detects a closed brake switch circuit (12 volts) without changing for 2 seconds and the following events occur seven times:
| • | The vehicle speed is greater than 32 km/h (20 mph) for 6 seconds; |
| • | then the vehicle speed is between 8-32 km/h (5-20 mph) for 4 seconds; |
| • | then the vehicle speed is less than 8 km/h (5 mph). |
| • | The PCM does not illuminate the malfunction indicator lamp (MIL). |
| • | The PCM records the operating conditions when the Conditions for Setting the DTC are met. The PCM stores this information as Failure Records. |
| • | The PCM stores DTC P0724 in PCM history. |
| • | A scan tool can clear the DTC. |
| • | The PCM clears the DTC from PCM history if the vehicle completes 40 warm-up cycles without a non-emission-related diagnostic fault occurring. |
| • | The PCM cancels the DTC default actions when the fault no longer exists and/or the ignition switch is OFF long enough in order to power down the PCM. |
| • | Inspect the connectors at the PCM, the brake switch and all other circuit connecting points for an intermittent condition. Refer to Testing for Intermittent Conditions and Poor Connections in Wiring Systems. |
| • | Inspect the circuit wiring for an intermittent condition. Refer to Testing for Electrical Intermittents in Wiring Systems. |
| • | Ask about the customer's driving habits. Ask about unusual driving conditions (e.g. stop and go, expressway, etc.). |
| • | Inspect the brake switch for proper mounting and operation. |
| • | Inspect for ABS DTCs. A faulty ABS condition may contribute to setting DTC P0724. |
The numbers below refer to the step numbers on the diagnostic table.
Step | Action | Value(s) | Yes | No |
|---|---|---|---|---|
1 | Did you perform the Powertrain Diagnostic System Check? | -- | Go to Powertrain On Board Diagnostic (OBD) System Check in Engine Controls | |
Important: Before clearing the DTC, use the Scan Tool in order to record the Failure Records. Using the Clear Info function erases the Failure Records from the PCM. Did the TCC Brake Switch status change from Closed to Open? | -- | |||
3 | Replace the brake switch. Refer to Stop Lamp Switch Replacement in Hydraulic Brakes. Did you complete the replacement? | -- | -- | |
4 | Test input circuit (CKT 420) of the brake switch for a short to power. Refer to Circuit Testing and Wiring Repairs in Wiring Systems. Did you find and correct the condition? | -- | ||
5 | Replace the PCM. Refer to Powertrain Control Module Replacement/Programming in Engine Controls. Did you complete the replacement? | -- | -- | |
6 | Perform the following procedure in order to verify the repair:
Has the test run and passed? | -- | System OK |
The brake switch indicates brake pedal status to the powertrain control module (PCM). The brake switch is a normally-closed switch that supplies battery voltage on circuit 420 to the PCM. Applying the brake pedal opens the switch, interrupting voltage to the PCM. When the brake pedal is released, the PCM receives a constant voltage signal. If the PCM receives a zero voltage signal at the brake switch input, and the torque converter clutch (TCC) is engaged, the PCM de-energizes the TCC solenoid valve. The PCM disregards the brake switch input for TCC scheduling if there is a brake switch circuit fault.
When the PCM detects a closed brake switch circuit (12 volts, high input) during decelerations, then DTC P0724 sets. DTC P0724 is a type C DTC.
| • | No VSS assembly DTCs P0502 or P0503. |
| • | The ignition is ON. |
The PCM detects a closed brake switch circuit (12 volts) without changing for 2 seconds and the following events occur eight times:
| • | The vehicle speed is greater than 32 km/h (20 mph) for 6 seconds; |
| • | then the vehicle speed is between 8-32 km/h (5-20 mph) for 4 seconds; |
| • | then the vehicle speed is less than 8 km/h (5 mph). |
| • | The PCM does not illuminate the malfunction indicator lamp (MIL). |
| • | The PCM records the operating conditions when the Conditions for Setting the DTC are met. The PCM stores this information as Failure Records. |
| • | The PCM stores DTC P0724 in PCM history. |
| • | A scan tool can clear the DTC. |
| • | The PCM clears the DTC from PCM history if the vehicle completes 40 warm-up cycles without a non-emission-related diagnostic fault occurring. |
| • | The PCM cancels the DTC default actions when the fault no longer exists and/or the ignition switch is OFF long enough in order to power down the PCM. |
| • | Inspect the connectors at the PCM, the brake switch and all other circuit connecting points for an intermittent condition. Refer to Testing for Intermittent Conditions and Poor Connections in Wiring Systems. |
| • | Inspect the circuit wiring for an intermittent condition. Refer to Testing for Electrical Intermittents in Wiring Systems. |
| • | Ask about the customer's driving habits. Ask about unusual driving conditions (e.g. stop and go, expressway, etc.). |
| • | Inspect the brake switch for proper mounting and operation. |
| • | Inspect for ABS DTCs. A faulty ABS condition may contribute to setting DTC P0724. |
The numbers below refer to the step numbers on the diagnostic table.
Step | Action | Value(s) | Yes | No |
|---|---|---|---|---|
1 | Did you perform the Powertrain Diagnostic System Check? | -- | Go to Powertrain On Board Diagnostic (OBD) System Check in Engine Controls | |
Important: Before clearing the DTC, use the Scan Tool in order to record the Failure Records. Using the Clear Info function erases the Failure Records from the PCM. Did the TCC Brake Switch status change from Closed to Open? | -- | |||
3 | Replace the brake switch. Refer to Stop Lamp Switch Replacement in Hydraulic Brakes. Did you complete the replacement? | -- | -- | |
4 | Test input circuit (CKT 420) of the brake switch for a short to power. Refer to Circuit Testing and Wiring Repairs in Wiring Systems. Did you find and correct the condition? | -- | ||
5 | Replace the PCM. Refer to Powertrain Control Module Replacement/Programming in Engine Controls. Did you complete the replacement? | -- | -- | |
6 | Perform the following procedure in order to verify the repair:
Has the test run and passed? | -- | System OK |